Blog Post

Wali WL-M002 Rack and Stand-featured

Wali WL-M002 Rack and Stand User Manual

WALI Electric-logo

Wali WL-M002 Rack and Stand

Wali WL-M002 Rack and Stand-product

Wali WL-M002 Rack and Stand

UNPACKING INSTRUCTIONS

  • Carefully open the carton, remove contents and lay out on the cardboard or other protective surface to avoid damage
  • Check packages content against supplied parts list in the next page to assure that all components were recieved undamage. Do not use damaged or defective parts.
  • Read all the instructions before attempting installation.

IMPORTANT SAFTEY INFORMATION

  • Install and operate this device with care. Please read the instructions before installation and carefully follow all instuctions contained her in. use proper saftey equipments during installation.
  • Please call a qualified installation contractor for help if you dont understand these directions or have any doubts about the saftey of installation.

Do not use this product for any purpose or in any configuration not expliity specified in this instuction. We hereby disclaim any and all liability for injury and damage arising from incorrect assembly, incorrect mounting or incorrect use of this product.

Supplied Parts List

Wali WL-M002 Rack and Stand2

CAUTION: This monitor desktop mount must be securely attached to the horizontal desk. If the mount is not properly installed it may fall, resulting in possible injury and/or damage.

Step 1 Install the Pole to the Desktop

Option A: Desk Clamp Install

  1. Install the “C”-Clamp Brace(c) to the Pole (a) using 3pcs M5x14 Bolts(f), and tighten using the Allen Key(o), see Figure 1.
  2. Install the “C”-Clamp(b) to the pole assembly according to the thickness of the desktop. The thickness can be changed to three positions. Connect it using 2pcs M8x12 Bolts(g), and tighten using the Allen Key(o). Tighten the “C”-Clamp to the desktop using the plastic knob, see Figure 2.

Wali WL-M002 Rack and Stand4

Option B: Grommet Base Install

Existing Grommet Hole Installation

If the existing grommet hole comes with a plastic protector, remove it to ensure a flat surface before installing the desk mount.

  1. Install the Grommet Base Plate(m) to the Pole(a) using 3pcs M5x14 Bolts(f), and tighten using the Allen Key(o), see Figure 3.
  2. Position the Pole(a) on the mounting surface and secure using the Support Plate (j), M10 Washer(k), Spring Washer(l) and M10 Bolt(i). Fasten the M10 Bolt using provided Wrench(p), see Figure 4.

Wali WL-M002 Rack and Stand5

Self Drilled Grommet Hole Installation

  1. Position the Pole(a) on the mounting surface and mark the center hole. Drill a 3/8″ (10mm) diameter hole at the marked position through the mounting surface.
  2. Install the Grommet Base Plate(m) to the Pole(a) using 3pcs M5x14 Bolts(f), and tighten using the Allen Key(o), see Figure 5.
  3. Position the Pole(a) on the mounting surface and secure using the Support Plate (j), M10 Washer(k), Spring Washer(l) and M10 Bolt(i). Fasten the M10 Bolt using provided Wrench(p), see Figure 6.

Wali WL-M002 Rack and Stand 5

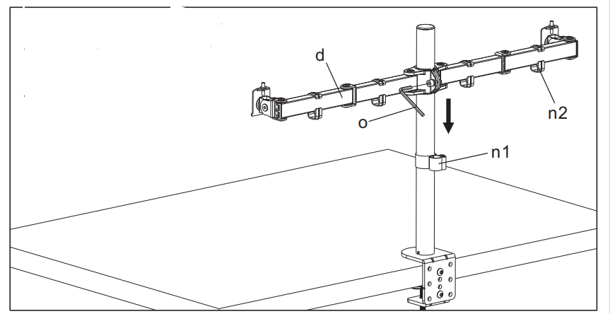
Step 2 Install Arm to the Pole

Install Swivel Arm(d) to the Pole(a). Fasten the bolt with supplied Allen Key(o). Attach the Wire Clip(n1,n2) to the
Pole(a) and Swivel Arm(d).

Wali WL-M002 Rack and Stand7

Step 3 Attach the VESA Plate to the Monitor

Wali WL-M002 Rack and Stand8

Step 4 Slide the Monitor onto the Head of Swivel Arm

Wali WL-M002 Rack and Stand9

  • Slide the monitor onto the head of Swivel Arm(d) as shown in the above diagram.
  • Install the security Nut(h). Make sure the security nut is installed before you rotate the monitor.

Step 5 Fix the Tilt Angle and Adjust the Level of Monitor

Wali WL-M002 Rack and Stand10

  • Tighten the bolt with the supplied Allen Key(o) to fix the tilt angle.
  • If one monitor is lower, remove the Nut(h) and turn the bolt counter-clockwise with supplied Allen key(o) to raise the monitor. Install the Nut(h) after the adjustment.

Step 6 Make the Necessary Adjustments and Manage the Wires

Wali WL-M002 Rack and Stand11

  • Use the supplied Allen Key(o) to make the necessary adjustments
  • Manage the wires and store the Allen keys(o) in Wire Clip(n1) for future use.

For more manuals by Wali Electric, visit ManualsLibraryy

Q1. What monitor sizes are supported by the WALI WL-M002 stand?

It supports most monitors from 13 to 27 inches with standard VESA 75x75mm or 100x100mm mounting holes.

Q2. How much weight can each arm hold?

Each arm can hold up to 22 lbs (10 kg), making it suitable for standard office and gaming monitors.

Q3. How do I attach the stand to my desk?

The WL-M002 offers two mounting options:
C-clamp for desks up to 3.5″ thick.
Grommet mount for desks with pre-drilled holes.

Q4. Can I adjust the height of the monitors?

Yes. The stand allows height adjustment along the center pole for comfortable eye-level viewing.

Q5. Does the stand support tilt and rotation?

Yes. Each arm can tilt ±15°, swivel 90°, and rotate 360°, letting you switch between landscape and portrait orientation.

Q6. What tools are needed for assembly?

The package includes all necessary hardware and tools, so no extra equipment is required.

Q7. How do I manage the cables with this stand?

It comes with an integrated cable management system to keep power and display cables neatly organized.

Q8. Is this stand compatible with curved monitors?

Yes, as long as the curved monitor fits within the size, weight, and VESA mounting requirements.

Leave a comment

Your email address will not be published. Required fields are marked *