
Weider Club C670 Weight Bench Home Gym

WARNING DECAL PLACEMENT

BEFORE YOU BEGIN

ASSEMBLY
- Before beginning assembly, make sure you understand the information in the box above. For help identifying small parts, use the PART IDENTIFICATION CHART. Attach a Small Base Cap (20) to the Stabilizer (2) with two M4 x 16mm Screws (36). Attach another Small Base Cap in the same manner. Pull the Small Adjustment Knob (23) out and slide the Seat Bracket Sleeve (93) between the tubes in the Bench Frame (1) as shown. Engage the Knob into the Sleeve and Bench Frame. Attach the Sleeve to the Bench Frame with four M4 x 16mm Screws (36). Attach the Bench Frame (1) to the Stabilizer (2) with two M10 x 65mm Bolts (100), two M10 Washers (35), and two M10 Nylon Locknuts (34). Do not tighten the Locknuts yet.

- Attach a Small Base Cap (20) to the Bench Base (3) with two M4 x 16mm Screws (36). Attach the other Small Base Cap in the same manner. Press the 51mm x 76mm Inner Cap (14) into the indicated end of the Bench Leg (4). Attach the Bench Leg (4) to the Bench Base (3) with four M10 x 71mm Bolts (31), two Bench Base Joint Plates (25), and four M10 Nylon Locknuts (34). Do not tighten the Locknuts yet

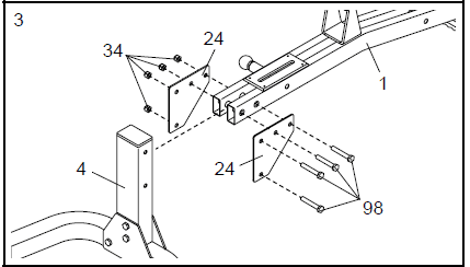
- Attach the Bench Leg (4) to the Bench Frame (1) with four M10 x 94mm Bolts (98), two Bench Joint Plates (24), and four M10 Nylon Locknuts (34). Tighten the M10 Nylon Locknuts (34) used in steps 1–3.

- Attach a Large Base Cap (70) to the Left Base (40) with two M4 x 16mm Screws (36). Attach another Large Base Cap to the other end of the Left Base in the same manner. Attach the Left Base (40) to the Center Base (39) with two M10 x 78mm Bolts (32) and two M10 Nylon Locknuts (34). Do not tighten the
Locknuts yet. Repeat this step with the Right Base (not shown). Insert two M10 x 75m Carriage Bolts (90) up through the Center Base (39).
- Locate the Butterfly Cable (109). Attach the Cable to the Left Butterfly Arm (57) with an M8 x 43mm Shoulder Bolt (107), an M10 Small Washer (95), and an M8 Nylon Locknut (108).

- Locate the Long Cable (68). Route the eyelet end of the Cable through the Foot Plate (67) and the Center Upright (45), and under a Pulley (87). Attach the Pulley (87) inside the Center Upright (45) with an M10 x 75mm Bolt (92), two M10 Washers (35), two 17mm Spacers (89), and an M10 Nylon Locknut (34). Note: The Foot Plate (67) is shown pulled away from the Center Upright for clarity.

- Wrap the Long Cable (68) over a Pulley (87). Attach the Pulley and a Cable Trap (88) to the second set of holes from the bottom of the Pulley Plates (82) with an M10 x 45mm Bolt (33) and an M10 Nylon Locknut (34). Make sure the Cable Trap is oriented to hold the Cable in the groove of the Pulley

- Attach the Long Cable (68) inside the Weight Guide Base (41) with an M10 x 75mm Bolt (92), two M10 Washers (35), two 28mm Spacers (91), and an M10 Nylon Locknut (34).

- Make sure that all parts are properly tightened before the weight bench is used. The use of all remaining parts will be explained in ADJUSTMENTS,
beginning on the following page.
ADJUSTMENTS
- This section explains how to adjust the weight bench. See the EXERCISE GUIDELINES on page 24 for important information about how to get the most benefit from your exercise program. Also, refer to the accompanying exercise guide to see the correct form for each exercise. Make sure all parts are properly tightened each time the weight bench is used. Replace any worn parts immediately. The weight bench can be cleaned with a damp cloth and a mild, non-abrasive detergent. Do not use solvents.
ADJUSTING THE BACKREST AND SEAT
- The Backrest (11) can be adjusted to ten different positions. Pull the Small Adjustment Knob (23 [shown removed]) out as far as it can go and reposition the
Backrest. Release the Knob and make sure it engages a hole in the Backrest Bracket (16). The Seat (10) can be adjusted in the same manner
ADDING WEIGHT TO THE LEG LEVER
- To add weight (not included) to the Leg Lever (5), slide the desired amount of weight onto the weight tube.

ADDING WEIGHT TO THE WEIGHT CARRIAGE
- To add weight (not included) to the Weight Carriage (62), slide the desired amount of weight onto the weight tube. Secure the weight with a Weight Clip (71).

CABLE DIAGRAMS
- The cable diagrams below show the proper routing of the Long Cable (68), the Medium Cable (69), and the Butterfly Cable (109). Use the diagram to make sure that the cables and the cable traps have been assembled correctly. If the cables have not been correctly routed, the weight rack will not function properly and damage may occur. The numbers show the correct route for each cable. Make sure that the cable traps do not touch or bind the cables.

For more manuals by Weider, visit ManualsLibraryy
Weider Club C670 Weight Bench Home Gym-FAQs
Is the Weider Club C670 a good weight bench?
Yes, the Weider Club C670 is a versatile and durable weight bench, ideal for home gyms. It supports a wide range of exercises and is built for long-term use.
How much weight can the Weider Club C670 support?
The Weider Club C670 weight bench is designed to handle a significant amount of weight, but always refer to the user manual for the exact weight limits to ensure safe use.
How do I assemble the Weider Club C670 weight bench?
Follow the step-by-step instructions provided in the user manual. Ensure all bolts and screws are securely tightened, and verify the stability of the bench before use.
What exercises can I perform with the Weider Club C670?
The Weider Club C670 supports various exercises, including bench presses, leg curls, and preacher curls. It also offers adjustable positions for incline, flat, and decline workouts.
How much space do I need for the Weider Club C670 weight bench?
Ensure you have enough space to accommodate the bench and its full range of motion during exercises. A space of at least 8×8 feet is recommended for comfortable use.
How do I maintain the Weider Club C670 weight bench?
Regularly check for loose bolts and screws and tighten them as needed. Wipe down the bench with a damp cloth after each use to maintain cleanliness and prevent wear.
Can I use the Weider Club C670 for heavy lifting?
Yes, the bench is suitable for heavy lifting within its specified weight capacity. Always use proper lifting techniques and safety equipment, such as a spotter or safety clips.
Are replacement parts available for the Weider Club C670?
Yes, replacement parts can typically be ordered through the manufacturer or authorized retailers. Check the user manual for details on compatible parts.
Is the bench adjustable?
Yes, the Weider Club C670 offers adjustable settings for incline, flat, and decline positions, allowing for a variety of exercises targeting different muscle groups.
Does the Weider Club C670 come with a warranty?
Most Weider products include a limited warranty. Refer to the user manual or contact the manufacturer for specific warranty details and coverage.












