
Weider Pro 575 Home Gym Weight Bench

BEFORE YOU BEGIN
- Thank you for selecting the WEIDER® PRO 575 weight bench. The PRO 575 is designed to be used with your own weight set (not included) to develop every major muscle group of the body. Whether your goal is a shapely figure, dramatic muscle size and strength, or a healthier cardiovascular system, the PRO 575 will help you to achieve the specific results you want.

ASSEMBLY
Before beginning assembly, carefully read the following information and instructions:
- Assembly requires two people.
- Place all parts in a cleared area and remove the packing materials. Do not dispose of the packing materials until assembly is completed.
- Tighten all parts as you assemble them, unless instructed to do otherwise.
- As you assemble the weight bench, make sure all parts are oriented as shown in the drawings.
- For help identifying small parts, use the PART IDENTIFICATION CHART on page 5.
The following tools (not included) are required for assembly:
- Two adjustable wrenches

- One rubber mallet

- One standard screwdriver

- One Phillips screwdriver

- Lubricant, such as grease or petroleum jelly, and soapy water.
- Assembly will be more convenient if you have a socket set, a set of open-end or closed-end wrenches, or a set of ratchet wrenches
- Before beginning assembly, make sure you understand the information in the box above. Important: Some of the parts described in the assembly steps may be
pre-assembled. Press a 2” x 3” Square Inner Cap (50) into the end of the Right Base (22). Identify the Right Upright (2) by the positions of the numbers and holes. Attach the Right Upright to the Right Base (22) with two M10 x 62mm Carriage Bolts (74) and two M10 Nylon Locknuts (77).- Note: Be sure that the numbers on the Right Upright are on the side shown. Do not tighten the Nylon Locknuts yet. Repeat this step with the Left Base (23) and Left Upright (1). Note: Be sure the numbers on the Left Upright are on the side shown in the inset drawing.

- Note: Be sure that the numbers on the Right Upright are on the side shown. Do not tighten the Nylon Locknuts yet. Repeat this step with the Left Base (23) and Left Upright (1). Note: Be sure the numbers on the Left Upright are on the side shown in the inset drawing.
- Press two 50mm Thick Square Inner Caps (53) and a 2” x 3” Inner Cap (50) into the ends of the Center Base (24). Have a second person hold the Right and Left
Uprights (1, 2 [not shown]). Attach the Right and Left Bases (22, 23) to the Center Base (24) with two M10 x 97mm Bolts (90) and two M10 Nylon Locknuts (77). Do not tighten the Nylon Locknuts yet.
- Press two 2” Round Inner Caps (47) into the ends 3 of the weight tube on the Weight Carriage (25). Press two 75mm Bushings (26) into the top and bottom of the Weight Carriage. Orient the Weight Carriage (25) and Center Upright (3) so that the welded bolt and letters are on the indicated sides. Slide the Weight Carriage onto the bottom of the Center Upright. Attach the Carriage Stop (27) to the indicated hole in the Center Upright (3) with an M10 x 86mm Bolt (63) and an M10 Nylon Locknut (77).

- Orient the Pull-up Bar (8) with the bend on top. Attach the Pull-up Bar to the Right Frame (5) with two M10 x 57mm Bolts (78), two M10 Washers (79), and two M10 Nylon Locknuts (77). Do not tighten the Nylon Locknuts yet. Attach the Pull-up Bar (8) to the Left Frame (not shown) in the same manner. Tighten the M10 Nylon Locknuts (77) used in steps 1–10.

- Press two 38mm x 50mm Inner Caps (52) into the top of the Back Leg (39). Press two 50mm Square Inner Caps (51) into the ends of the Stabilizer (40). Orient the Stabilizer (40) so the decal is in the position shown. Attach the Back Leg (39) to the Stabilizer with two M10 x 62mm Carriage Bolts (74) and two M10 Nylon Locknuts (77). Do not tighten the Nylon Locknuts yet.

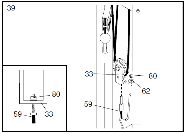
- Wrap the Low Cable (59) around an 88mm Pulley (36). Attach the Pulley to the front hole in the bracket on the Center Base (24) with an M10 x 45mm Bolt (76) and an M10 Nylon Locknut (77).

- Attach the Low Cable (59) to the “U”-Bracket (33) with an M6 Washers (62) and an M6 Locknut (80). Do not completely tighten the Locknut; it should be threaded onto the end of the Cable until only two threads are showing above the Locknut, as shown in the inset drawing

- Make sure all parts of the weight bench are properly tightened. In addition, pull each cable a few times to make sure the cables move smoothly over the pulleys. If the cables do not move smoothly, locate and correct the problem. When weights are used, the cables may be damaged if they are incorrectly routed. Refer to the CABLE DIAGRAMS below for correct cable routing. The use of all remaining parts will be explained in ADJUSTMENTS, beginning on the following page.
CABLE DIAGRAMS
- The cable diagrams below show the proper routing of the Bench Cable (58), the Low Cable (59), the Carriage Cable (60), and the High Cable (61). Use the diagram to make sure that the cables and the cable traps have been assembled correctly. If the cables have not been correctly routed, the weight bench will not function properly and damage may occur. The numbers show the correct route for each cable. Make sure that the cable traps do not touch or bind the cables

ADJUSTMENTS
- This section explains how to adjust the weight bench. The first time you perform an exercise that uses the safety spotter, adjust the bench to the position that is best for you. Note the position of the weight rest and safety spotter on the BENCH ADJUSTMENT CHART, on page 20 of this manual. When preparing to perform the exercise again, refer back to the chart for a quick reference to your personal settings.
- See the EXERCISE GUIDELINES on page 21 for important information about how to get the most benefit from your exercise program. Also, refer to the accompanying exercise guide to see the correct form for each exercise. Make sure all parts are properly tightened each time you use the weight bench. Replace any worn parts immediately. The weight bench can be cleaned with a damp cloth and a mild, non-abrasive detergent. Do not use solvents.
ADJUSTING THE BACKREST
- The Backrest (38) can be used in a decline position,a level position, or any of five incline positions. To adjust the Backrest, turn the Knob (30) counterclockwise
until loose. Pull the Knob out as far as it will go and slide the Sliding Seat Frame (15) to the desired position. Engage the Knob into an adjustment hole in the Bench Frame (14). Turn the Knob clockwise until tight.
ADJUSTING THE WEIGHT RESTS AND SAFETY SPOTTER
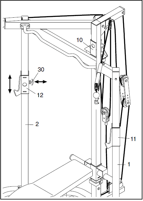
- Before performing an exercise that uses a barbell, adjust the Weight Rests (11, 12) and Safety Spotter (25) to the height that is best suited for that exercise. The Weight Rests should be at a comfortable height for lifting and replacing the barbell. Moving the Safety Spotter (10) will change the distance that the barbell
can move. First, attach the barbell to the high cable (see ATTACHING A BARBELL TO THE CABLES, on page 18). Then, set the Safety Spotter to the position
that will stop the barbell at the lowest point that you want it to go during the exercise. - To adjust a Weight Rest (11, 12) turn the Knob (30) counterclockwise until loose. Pull the Knob out as far as it will go and move the Weight Rest to the desired
height. Engage the Knob into an adjustment hole in the Upright (1, 2) and turn it clockwise until tight. The Safety Spotter (10) can be adjusted in the same manner.
ATTACHING THE BENCH TO THE RACK
- To perform bench and leg lever exercises, the weight bench must be attached to the weight rack. To attach the bench to the rack, rest the Back Leg (39) over the
crossbar on the Center Base (24). - Note: Be sure that the Low Cable (59) goes through the Back Leg. Next, attach the Bench Cable (58) to the Low Cable with a Cable Clip (28). When the bench is not attached to the rack, use the Cable Clip (28) to attach the Bench Cable (58) to the bracket on the Back Leg (39).

BENCH ADJUSTMENT CHART
- The chart below contains a list of exercises that require the use of the safety spotter. When preparing the weight bench for one of these exercises, follow the steps listed below. For information about each of these steps, refer to the ADJUSTMENTS section of this manual. Make sure the bench cable is attached to the low cable when performing any of the bench exercises.
- For each exercise, determine the positions of the bench, the weight rests, and the safety spotter that are best for you. The first time you perform each exercise, write the positions of the weight rests and the safety spotter in the chart. Write the number corresponding to the height of the weight rests, and the letter corresponding to the height of the safety spotter in the appropriate column. When preparing to perform the exercise again, refer back to the chart for a quick reference to your personal settings.
Follow these steps when preparing for each exercise:
- Adjust the position of the bench (be sure the bench cable is attached to the low cable when performing any of the bench exercises)
- Adjust the position of the weight rests
- Attach your barbell to the high cable
- Adjust the position of the safety spotter
- Add weight to the barbell. The first time you perform the exercises listed in the chart, note the position of the weight rests and safety spotter in the appropriate column.

The Bench can be:
- R- removed
- D- attached in a declined position
- L- attached in a level position
- I#- attached in one of five incline positions (I1 indicates the least incline, I5 indicates fully inclined.)
The Bench Cable can be:
- A- attached
- N- not attached
- The Weight Rests can be adjusted to positions 1–8.
- Note the number of the position that is best for each exercise. The Safety Spotter can be adjusted to
positions A–O. - Note the letter of the position that is best for each exercise.
EXERCISE GUIDELINES
THE FOUR BASIC TYPES OF WORKOUTS
- Muscle Building
- To increase the size and strength of your muscles, push them close to their maximum capacity. Your muscles will continually adapt and grow as you progressively increase the intensity of your exercise. You can adjust the intensity level of an individual exercise in two ways:
- by changing the amount of weight used
- by changing the number of repetitions or sets performed. (A “repetition” is one complete cycle of an exercise, such as one sit-up. A “set” is a series of repetitions.)
- The proper amount of weight for each exercise depends upon the individual user. You must gauge your limits and select the amount of weight that is right
for you. Begin with 3 sets of 8 repetitions for each exercise you perform. Rest for 3 minutes after each set. When you can complete 3 sets of 12 repetitions without difficulty, increase the amount of weight. - Toning
- You can tone your muscles by pushing them to a moderate percentage of their capacity. Select a moderate amount of weight and increase the number of repetitions in each set. Complete as many sets of 15 to 20 repetitions as possible without discomfort. Rest for 1 minute after each set. Work your muscles by completing more sets rather than by using high amounts of weight.
- Weight Loss
- To lose weight, use a low amount of weight and increase the number of repetitions in each set. Exercise for 20 to 30 minutes, resting for a maximum of 30 seconds between sets.
For more manuals by Weider, visit ManualsLibraryy
Weider Pro 575 Home Gym Weight Bench-FAQs
Is Weider Pro a reliable brand?
Yes, Weider Pro is known for its affordability and versatility. It offers a wide range of exercises, making it a great choice for budget-friendly and space-efficient home gym setups.
What are the basic rules for bench pressing?
When bench pressing, ensure your shoulders and buttocks stay in contact with the bench. Keep your toes firmly on the platform, and you can use blocks to adjust the height if needed.
How much weight does the Weider Pro 575 provide?
The Weider Pro 575 features an 80-pound vinyl weight stack, but its pulley system can deliver up to 214 pounds of resistance for certain exercises.
How much space is required for a weight bench?
For a compact weightlifting setup, you’ll need approximately 8ft wide x 7ft long (244cm x 215cm) to accommodate a power rack, barbell, weights, and the bench.
What is a bench rule?
A bench rule, or straight edge ruler, is used for creating or cutting precise straight lines by running a pencil, cutter, or blade along its edge.
How can I calculate how much I can bench?
Use this formula to estimate your one-rep max:
Estimated 1RM = (Weight x Reps x 0.0333) + Weight
For example, if you bench 225 pounds for 6 reps:
(225 x 6 x 0.0333) + 225 = 270 pounds (approximate max).
Is the Weider brand recognized in the fitness industry?
Yes, since 1936, Weider has been a trusted name in fitness, known for equipment, nutritional supplements, and sporting events worldwide.
How much does the Weider Pro bar weigh?
The weight of the bar in Weider machines typically ranges from 15 to 25 pounds (6.8 to 11.3 kilograms), depending on the model.













