
Whirlpool WFG550S0HV Gas Convection Oven

RANGE MAINTENANCE AND CARE
General Cleaning
- IMPORTANT: Before cleaning, make sure all controls are OFF and the oven and cooktop are cool. Always follow label instructions on cleaning products. Soap, water, and a soft cloth or sponge are suggested first, unless otherwise noted.
EXTERIOR PORCELAIN ENAMEL SURFACES (on some models)
- Food spills containing acids, such as vinegar and tomato, should be cleaned as soon as the entire range is cool. These spills may affect the finish.
Cleaning Method
- Glass cleaner, mild liquid cleaner, or nonabrasive scrubbing pad: Gently clean around the model/serial/rating plate because scrubbing may remove numbers.
- Affresh®† Kitchen and Appliance Cleaner Part Number W10355010 (not included): See the Quick Start Guide for ordering information.
STAINLESS STEEL (On some models)
- NOTE: To avoid damage to stainless steel surfaces, do not use soap-filled scouring pads, abrasive cleaners, Cooktop Cleaner, steel-wool pads, gritty washcloths, or abrasive paper towels. Damage may occur to stainless steel surfaces, even with one-time or limited use.
Cleaning Method
- Rub in direction of grain to avoid damaging.
- Affresh® Stainless Steel Cleaner Part Number W10355016 (not included): See the Quick Start Guide for ordering information.
SURFACE BURNERS
- Food spills containing acids, such as vinegar and tomato, should be cleaned as soon as the cooktop, grates, and caps are cool. These spills may affect the finish.
- To avoid chipping, do not bang grates and caps against each other or hard surfaces such as cast iron cookware.
- Do not reassemble caps on burners while wet.
- Do not clean in the Self-Cleaning cycle.
- Do not clean in dishwasher.
Cleaning Method:
- Nonabrasive plastic scrubbing pad and mildly abrasive cleanser: Clean as soon as cooktop, grates, burners, and caps are cool.
- Gas Grate and Drip Pan Cleaner (not included).
COOKTOP CONTROLS
- To avoid damage to the cooktop controls, do not use steel wool, abrasive cleansers, or oven cleaner. To avoid damage, do not soak knobs. When replacing knobs, make sure knobs are in the Off position. On some models, do not remove seals under knobs.
Cleaning Method
- Soap and water: Pull knobs straight away from control panel to remove
CONTROL PANEL AND OVEN DOOR EXTERIOR
- To avoid damage to the control panel, do not use abrasive cleaners, steel-wool pads, gritty washcloths, or abrasive paper towels.
Cleaning Method
- Glass cleaner and soft cloth or sponge: Apply glass cleaner to soft cloth or sponge, not directly on panel.
- affresh® Kitchen and Appliance Cleaner Part Number W10355010 (not included): See the Quick Start Guide for ordering information.
OVEN RACKS
Cleaning Method
- Steel-wool pad.
- For racks that have discolored and are harder to slide, a light coating of vegetable oil applied to the rack guides will help them slide.
- Dishwasher (steam rack water reservoir only, not racks): Although the water reservoir is durable, it may lose its shine and/or discolor when washed in a dishwasher.
Self-Cleaning Cycle
- IMPORTANT: The health of some birds is extremely sensitive to the fumes given off during the Self-Cleaning cycle. Exposure to the fumes may result in death to certain birds. Always move birds to another closed and well-ventilated room.
- Do not block the oven vent(s) during the Self-Cleaning cycle. Air must be able to move freely. Depending on your model, see the “Oven Vent” or “Oven Vents” section in the Quick Start Guide. Do not clean, rub, damage, or move the oven door gasket.
Prepare Range
- Remove the broiler pan, grid, cookware and bakeware, all cooking utensils, oven racks, and aluminum foil and, on some models, the temperature probe from the oven.
- Use a damp cloth to clean inside door edge and the 11/2″(3.8 cm) area around the inside oven cavity frame, being certain not to move or bend the gasket.
- Remove plastic items from the cooktop because they may melt.
- Remove all items from the storage drawer.
How the Cycle Works
- IMPORTANT: The heating and cooling of porcelain on steel in the oven may result in discoloring, loss of gloss, hairline cracks and popping sounds.
- Before Self-Cleaning, make sure the door is completely closed or the door will not lock and the Self-Cleaning cycle will not begin.
- Once the oven has completely cooled, remove ash with a damp cloth. To avoid breaking the glass, do not apply a cool, damp cloth to the inner door glass before it has completely cooled.
- To stop the Self-Cleaning cycle at any time, press OFF/CANCEL or the Cancel keypad. If the temperature is too high, the oven door will remain locked and “cool” and “locked/ ” will be displayed.
- The cooling fan may continue to run. The oven light will not function during the Self-Cleaning cycle.
- On some models: Once the cleaning temperature has been reached, the electronic control requires a 12 hour delay before another Self-Cleaning cycle can be started
INSTALLATION INSTRUCTIONS REQUIREMENTS
Tools and Parts
- Gather the required tools and parts before starting installation. Read and follow the instructions provided with any tools listed here.
Tools Needed
- Tape measure
- Flat-blade screwdriver
- Phillips screwdriver
- 1/8″ flat-blade screwdriver
- Level
- Hand or electric drill
- Hammer
- Wrench or pliers
- Pipe wrench
- 15/16″ combination wrench
- 1/4″ drive ratchet
- 3/8″ nut driver
- 1/8″ drill bit (for wood floors)
- Marker or pencil
- Pipe-joint compound resistant to Propane gas
- Noncorrosive leak-detection solution
- 3/16″ carbide-tipped masonry drill bit (for concrete/ceramic floors) (For Slide-in/Front Control Ranges)
For Propane/Natural Gas Conversions
- 3/8″ combination wrench
- 1/2″ combination wrench
- 5/8″ combination wrench
- 9/32″ nut driver
- Quadrex®† or Phillips screwdriver
- Masking tape
- 3/8″ nut driver (For Slide-in/Front Control Ranges)
Parts Supplied
- Check that all parts are included.

- A. Anti-tip bracket
- B. #12 x 15/8″ (4.1 cm) screws (2)
- Anti-tip bracket must be securely mounted to floor or wall.Thickness of flooring may require longer screws to anchor bracket to floor.
Parts needed
- Check local codes and consult gas supplier. Check existing gas supply and electrical supply. See “Electrical Requirements” and “Gas Supply Requirements” sections.
- NOTE: Be sure to purchase only whirlpool factory-certified parts and accessories for your appliance. Your installation may require additional parts. To order, refer to the contact information referenced in your Quick Start Guide
Mobile Home – Additional Installation Requirements
- The installation of this range must conform to the Manufactured Home Construction and Safety Standard, Title 24 CFR, Part 3280 (formerly the Federal Standard for Mobile Home Construction and Safety, Title 24, HUD Part 280). When such standard is not applicable, use the Standard for Manufactured Home Installations, ANSI A225.1/NFPA 501A or with local codes. In Canada, the installation of this range must conform with the current standards CAN/CSA-Z240.1 – latest edition, or with local codes.
Mobile Home Installations Require
- When this range is installed in a mobile home, it must be secured according to the instructions in this document.
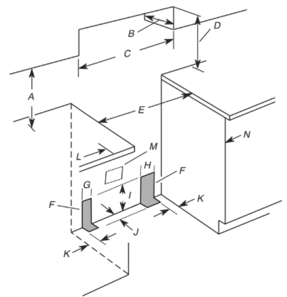
Cabinet Dimensions
- Cabinet opening dimensions shown are for 25″ (64.0 cm) countertop depth, 24″ (61.0 cm) base cabinet depth and 36″ (91.4 cm) countertop height.
- IMPORTANT: If installing a range hood or microwave hood combination above the cooking surface, follow the range hood or microwave hood combination installation instructions for dimensional clearances above the cooktop surface.

- A. 18″ (45.7 cm) upper side cabinet to countertop
- B. 13″ (33 cm) max. upper cabinet depth
- C. 30″ (76.2 cm) min. opening width
- D. For minimum clearance to top of cooktop, see NOTE*.
- E. 30″ (76.2 cm) min. opening width
- F. The shaded areas are recommended for installation of rigid gas pipe.
- G. 4¹/2″ (11.4 cm)
- H. 8″ (20.3 cm)
- I. 17″ (43.2 cm)
- J. 2″ (5.1 cm)
- K. 4¹/2″ (11.4 cm)
- L. 3″ (7.6 cm) min. clearance from both sides of range to side wall or other combustible material.
- M. Grounded outlet
- N. Cabinet door or hinges should not extend into the cutout.
- NOTE: 24″ (61.0 cm) minimum when bottom of wood or metal cabinet is shielded by not less than 1/4″ (6.35 mm) flame retardant millboard covered with not less than No. 28 MSG sheet steel, 0.015″ (0.4 mm) stainless steel, 0.024″ (0.6 mm) aluminum or 0.020″ (0.5 mm) copper. 30″ (76.2 cm) minimum clearance between the top of the cooking platform and the bottom of an uncovered wood or metal cabinet.
Electrical Requirements
- A 120 V, 60 Hz, AC only, 15 A fused, ground and polarized electrical circuit is required. A time-delay fuse or circuit breaker is also recommended. It is recommended that a separate circuit serving only this range be provided.
- Electronic ignition systems operate within wide voltage limits, but proper grounding and polarity are necessary. Check that the outlet provides 120 V power and is correctly grounded.
- This gas range is not required to be plugged into a GFCI (Ground-Fault Circuit Interrupter) outlet. It is recommended that you not plug an electric spark ignition gas range or any other major appliance into a GFCI wall outlet as it may cause the GFCI to trip during normal cycling.
- Performance of this range will not be affected if operated on a GFCI-protected circuit. However, occasional nuisance tripping of the GFCI breaker is possible due to the normal operating nature of electronic gas ranges.
- The tech sheet and wiring diagram are located on the back of the range in a plastic bag.
- NOTE: The metal chassis of the range must be grounded in order for the control panel to work. If the metal chassis of the range is not grounded, no keypads will operate. Check with a qualified electrician if you are in doubt as to whether the metal chassis of the range is grounded.
Gas Supply Requirements
Type of Gas
Natural Gas
- This range is factory set for use with Natural gas. See “Gas Conversions” section. The model/serial rating plate located on the oven frame behind of the oven door has information on thetypes of gas that can be used. If the types of gas listed do not include the type of gas available, check with the local gas supplier.
Propane Gas Conversion:
- Conversion must be done by a qualified service technician. No attempt shall be made to convert the appliance from the gas specified on the model/serial rating plate for use with a different gas without consulting the serving gas supplier. See “Gas Conversions” section.
Gas Supply Line
- Provide a gas supply line of 3/4″ (1.9 cm) rigid pipe to the range location. A smaller size pipe on longer runs may result in insufficient gas supply. With Propane gas, piping or tubing size can be 1/2″ (1.3 cm) minimum. Usually, Propane gas suppliers determine the size and materials used in the system.
- NOTE: Pipe-joint compounds that resist the action of Propane gas must be used. Do not use TEFLON®† tape.
Flexible Metal Appliance Connector:
- If local codes permit, a new CSA design-certified, 4 to 5 ft (122 to 152.4 cm) long, 1/2″ (13 mm) or 3/4″ (19 mm) I.D., flexible metal appliance connector may be used for connecting range to the gas supply line.

- A 1/2″ (13 mm) male pipe thread is needed for connection to the female pipe threads of the inlet to the appliance pressure regulator.
- Do not kink or damage the flexible metal tubing when moving the range.
Gas Pressure Regulator
The gas pressure regulator supplied with this range must be used. The inlet pressure to the regulator should be as follows for proper operation:
Natural Gas
- Minimum pressure: 5″ (12.7 cm) WCP
- Maximum pressure: 14″ (35.5 cm) WCP
Propane Gas
- Minimum pressure: 11″ (27.9 cm) WCP
- Maximum pressure: 14″ (35.5 cm) WCP
- Contact local gas supplier if you are not sure about the inlet pressure.
Burner Input Requirements
- Input ratings shown on the model/serial/rating plate are for elevations up to 2,000 ft (609.6 m).
- For elevations above 2,000 ft (609.6 m), ratings are reduced at a rate of 4% for each 1,000 ft (304.8 m) above sea level (not applicable for Canada).
Gas Supply Pressure Testing
- Gas supply pressure for testing regulator must be at least 1″ (2.5 cm) water column pressure above the manifold pressure shown on the model/serial rating plate.
Line pressure testing above 1/2 psi (3.5 kPa) gauge 14″ (35.5 cm) WCP
- The range and its individual shutoff valve must be disconnected from the gas supply piping system during any pressure testing of that system at test pressures in excess of 1/2 psi (3.5 kPa)
INSTALLATION
Unpack Range
- Remove shipping materials, tape and film from range.
- Remove oven racks and parts package from inside oven.
- Do not remove the shipping base at this time.

- On Ranges Equipped with a Storage Drawer:
- Remove the storage drawer. See the “Storage Drawer” section. Use a 1/4″ (6.4 mm) drive ratchet to lower the rear leveling legs one-half turn. Use a wrench or pliers to lower front leveling legs one-half turn.

- Remove the storage drawer. See the “Storage Drawer” section. Use a 1/4″ (6.4 mm) drive ratchet to lower the rear leveling legs one-half turn. Use a wrench or pliers to lower front leveling legs one-half turn.
Install Anti-Tip Bracket
- Remove the anti-tip bracket from where it is taped inside the storage drawer, warming drawer, or premium storage drawer
- Determine which mounting method to use: floor or wall. If you have a stone or masonry floor, you can use the wall mounting method. If you are installing the range in a mobile home, you must secure the range to the floor.
- Determine and mark centerline of the cutout space. The mounting can be installed on either the left side or right side of the cutout. Position mounting bracket against the wall in the cutout so that the V-notch of the bracket is 129⁄16″ (31.9 cm) from centerline as shown.

GAS CONVERSIONS
- Gas conversions from Natural gas to propane gas or from propane gas to Natural gas must be done by a qualified installer.
Propane Gas Conversion
- Turn manual shutoff valve to the closed position

- A. To range
- B. Manual shut-off valve closed position
- C. Gas supply line
- Unplug range or disconnect power.
To Convert Gas Pressure Regulator (Natural gas to Propane)
- Remove the premium storage drawer, warming drawer or baking drawer. See the “Remove/Replace Drawer”, “Storage Drawer” or “Warming Drawer or Premium Storage Drawer” section.
- Locate gas pressure regulator at rear of the drawer compartment.
- NOTE: On models with a warming drawer or baking drawer, an access cover must be removed to access the gas pressure regulator.

- IMPORTANT: Do not remove the gas pressure regulator.
- NOTE: On models with a warming drawer or baking drawer, an access cover must be removed to access the gas pressure regulator.
- Remove plastic cover from gas pressure regulator cap.
- Turn gas pressure regulator cap counterclockwise with a 5/8″ (1.6 cm) combination wrench to remove.
- NOTE: Do not remove the spring beneath the cap.

- NOTE: Do not remove the spring beneath the cap.
- Turn over the gas pressure regulator cap and reinstall on regulator so that the hollow end faces out and the marking “↓LP” is facing the direction shown in the above drawing.
- Replace plastic cover over gas pressure regulator cap.
To Convert Oven Broil Burner (Natural Gas to Propane Gas)
- Remove the screw from the broil burner
- Remove the flame spreader.
- Remove the broil burner from the broil burner orifice hood.
- NOTE: The broil burner will hang in the back of the oven while changing the orifice hood

- A. Broil burner
- B. Screws
- C. Orifice hood
- NOTE: The broil burner will hang in the back of the oven while changing the orifice hood
- Use a 3/8″ (1 cm) combination wrench and turn the Natural gas broil burner orifice hood counterclockwise to remove. The hood will be stamped with a “53.”
- Replace the “53” hood with a “090” hood. Install the Propane gas broiler burner orifice hood, turning it clockwise until snug.
- IMPORTANT: Do not overtighten.
- Place the broil burner on the broil burner orifice hood and insert the broil burner ceramic igniter in the hole in the rear of the oven

- Position the broil burner against the top of the oven and attach it with 2 screws.
- Replace storage drawer, warming drawer or premium storage drawer. See the “Storage Drawer” or “Warming Drawer or Premium Storage Drawer” section.
- Replace the oven door if it has been removed. See the “Oven Door” section.
- Replace the oven racks
Natural Gas Conversion
- Turn manual shutoff valve to the closed position

- A. To range
- B. Manual shut-off valve closed position
- C. Gas supply line
- Unplug range or disconnect power.
To Convert Gas Pressure Regulator (Propane to Natural gas )
- Remove the premium storage drawer, warming drawer or baking drawer. See the “Remove/Replace Drawer”, “Storage Drawer” or “Warming Drawer or Premium Storage Drawer” section.
- Locate gas pressure regulator at rear of the drawer compartment.
- NOTE: On models with a warming drawer or baking drawer, an access cover must be removed to access the gas pressure regulator.

- IMPORTANT: Do not remove the gas pressure regulator.
- NOTE: On models with a warming drawer or baking drawer, an access cover must be removed to access the gas pressure regulator.
- Remove plastic cover from gas pressure regulator cap.
- Turn gas pressure regulator cap counterclockwise with a 5/8″ (1.6 cm) combination wrench to remove.
- NOTE: Do not remove the spring beneath the cap.

- NOTE: Do not remove the spring beneath the cap.
- Turn over the gas pressure regulator cap and reinstall on regulator so that the hollow end faces out and the marking “↓NG”” is facing the direction shown in the above drawing.
- Replace plastic cover over gas pressure regulator cap.
To Convert Oven Broil Burner (Propane Gas to Natural Gas )
- Remove the screw from the broil burner
- Remove the broil burner from the broil burner orifice hood.
- NOTE: The broil burner will hang in the back of the oven while changing the orifice hood

- A. Broil burner
- B. Screws
- C. Orifice hood
- NOTE: The broil burner will hang in the back of the oven while changing the orifice hood
- Use a 3/8″ (9.5 cm) combination wrench and turn the Natural gas broil burner orifice hood counterclockwise to remove. The hood will be stamped with a “090.”
- Replace the “090” hood with a “53” hood. Install the Propane gas broiler burner orifice hood, turning it clockwise until snug.
- IMPORTANT: Do not overtighten.
- Place the broil burner on the broil burner orifice hood and insert the broil burner ceramic igniter in the hole in the rear of the oven

- Position the broil burner against the top of the oven and attach it with 2 screws.
- Replace storage drawer, warming drawer or premium storage drawer. See the “Storage Drawer” or “Warming Drawer or Premium Storage Drawer” section.
- Replace the oven door if it has been removed. See the “Oven Door” section.
- Replace the oven racks
Complete Installation (Propane Gas to Natural Gas)
- Refer to the “Make Gas Connection” section for properly connecting the range to the gas supply.
- Refer to the “Electronic Ignition System” section for proper burner ignition, operation and burner flame adjustments.
IMPORTANT: You may have to adjust the “LO” setting for each cooktop burner. Checking for proper cooktop, bake and broil burner flame is very important. Natural gas flames do not have yellow tips. - Refer to “Complete Installation” in the “Installation Instructions” section of this manual to complete this procedure.
NOTE: Make sure to save the orifices that have just been replaced in the conversion.
For more manuals by Whirlpool, visit ManualsLibraryy
Whirlpool WFG550S0HV Gas Convection Oven-FAQs
Does the Whirlpool gas oven automatically turn off?
Yes, the oven has a 12-hour automatic shut-off feature to save energy and provide safety. This feature can be toggled by pressing and holding the START TIME button for 5 seconds.
Why is my Whirlpool gas oven not turning on?
The issue may be due to a faulty bake relay on the control board or a malfunctioning bake ignitor. Check if the ignitor glows during the bake cycle. If it doesn’t, it may need replacement or inspection for electrical issues.
How does the convection feature work in a Whirlpool oven?
Convection ovens use a fan and exhaust system to circulate air evenly around the heating element, ensuring consistent and faster cooking results.
Do Whirlpool ovens turn off automatically after cooking?
Yes, when the set cooking time ends, the oven shuts off automatically, and “End” will appear on the display.
Why does my Whirlpool oven stay on after being turned off?
This could be caused by a defective electronic control board, a faulty thermostat, or issues with the power supply. Professional diagnosis is recommended.
Why isn’t my Whirlpool gas oven reaching the desired temperature?
A dirty or faulty ignitor might be the cause. If cleaning the ignitor as per the appliance care guide doesn’t resolve the issue, the ignitor may need to be replaced by a technician.
Do gas convection ovens require electricity?
Yes, gas convection ovens need electricity to ignite the gas and operate features like the fan and controls. They will not work during a power outage.
Do ovens shut off after 12 hours automatically?
Most Whirlpool ovens with a touchpad clock control will shut off after 12 hours for safety and energy efficiency, unless this feature is disabled.
How can I troubleshoot if my gas oven won’t heat?
Start by checking the bake ignitor for dirt or damage. If it doesn’t glow or ignite gas, it might need cleaning or replacement. Consult your manual or a technician for further steps.
Why does my oven say “End” on the display?
The “End” message indicates that the set cooking time has completed, and the oven has automatically shut off.












