![]()
Dartwood Smart Robot Vacuum Cleaner-Mop

In the Box

1 x robot vacuum

1 x charging base

2 x AAA batteries

1 x remote control

1 x adapter

1 x mop board

1 x water tank

2 x mop cloths

1 x dust box/filter

1 x cleaning brush

4 x side brushes

4 x water tank filters
Warning
- Make sure power cords and small items on the floor will not jam the vacuum.
- Please follow the instructions in this the manual to use the product. Only use product accessories recommended or sold by the manufacturer.
- Make sure that the power supply voltage matches the voltage marked on the charging stand.
- Ensure that the dust box and filter material are installed properly before using the product.
- Do not use it if the power cord is damaged.
- Turn off and unplug power supply before any cleaning or maintenance of the product.
- Turn the power off when not using it.
- This is not a toy, do not leave children unsupervised with this item.
- For indoor use only.
- Do not use this product if it has been dropped or damaged.
- Keep away from smoke and fire.
- Do not use this product in a wet place.
- Do not use this product in a high temperature environment.
Introduction to Parts
- Front of the vacuum

- Open the front panel

- Back of the vacuum

- Remote control

- Charging base

- Dust box

Installing the Brushes
- Flip the vacuum over and locate the two square pegs labeled L and R.

- Place the brush labeled L on the peg labeled L and push down until it clicks into place. Repeat for the other side.

Installing the Charging Base
- Place the charging base on the flat ground against the wall (make sure there is 20 inches of open space on both sides and 60 inches in front).

- Plug one end of the USB adapter into the charging unit and the other end into the outlet

- Remove the water tank from the vacuum.

- Remove the mop board.

- Press the power button on the vacuum to begin charging.

Installing the Water Tank
- Open the water tank plug and fill with clean water.

- Place the water tank back into the vacuum.

Installing the Mop Board
- Dampen the mop cloth.

- Hook the inside edge of the mop board to the ‘pocket’ at the back of the mop cloth.

- Locate the Velcro at the back of the mop board. Press down firmly.

- Place the two round pegs on the back of the mop board into the holes at the bottom of the vacuum. Press down firmly

How to Use
- To power ON/OFF, place and hold the power button for 2 – 3 seconds

- Insert two AAA batteries into your remote control. Make sure the vacuum is in standby mode and select your preferred cleaning mode and select your preferred cleaning mode.

Cleaning Mode
- Automatic cleaning: Cleans randomly for 90 minutes, automatically recharges after the cleaning is complete. Setting method: In standby mode, press the start/pause button or the AUTO button on the remote control.

- Spot cleaning: Cleans in a clockwise spiral from the inside to the outside, with a maximum radius of 24 inches. Then from the outside to the inside, and returns to the starting position. Setting method: In standby mode, press the remote control.

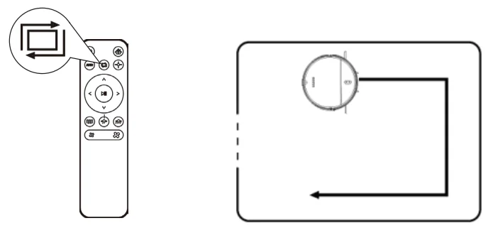
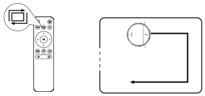
- Edge cleaning: Cleans along the perimeter of a room. Setting method: In standby mode, press the remote control.

- Zig-zag cleaning: Cleans in a long straight line, with a distance of 197 inches, and zig zags back and forth. Setting method: In standby mode, press on the remote control.

Cleaning Mode
- Automatic cleaning: Cleans randomly for 90 minutes, automatically recharges after the cleaning is complete.

- Spot cleaning: Cleans in a clockwise spiral from the inside to the outside, with a maximum radius of 24 inches. Then from the outside to the inside, and returns to the starting position

- Edge cleaning: Cleans along the perimeter of a room.

- Zig-zag cleaning: Cleans in a long straight line, with a distance of 197 inches, and zig zags back and forth.

Cleaning / Maintenance of Parts
- Open the compartment at the top of the vacuum. Press the tab to remove the dust box

- Open the dust box lid.

- Dump the contents into the trash bin.

- Remove the filter.

- Wipe the dust box clean.

- Rinse the filter with clean water.

- Make sure the dust box and filter are completely dry before putting them back together.

Replacing the Water Tank Filters
- Pull the water tank out of the vacuum.

- Turn it upside down

- Pull out the two plugs on each side.

- Squeeze the top and bottomtogether until the old filter pops out.

- Press the new filter in.

- Place the plug back into the watertank and place the water tank back into the vacuum.

Light Indicator

Troubleshooting

Specifications
- Model: WH-RV140M
- Control: Via remote or app
- Diameter: 11.8 in
- Height: 2.9 in
- Unit weight: 5.5 lb
- Battery Capacity: 2500 mAh rechargeable lithium battery
- Dust box capacity: 0.8 oz
- Cleaning mode: Auto / spot / edge / zigzag cleaning
- Charging time: 300 mins
- Cleaning time: 100 mins
- Rated power: 28 W
- Operation voltage: 14.4 V
FOR MORE MANUALS BY DARTWOOD, VISIT MANUALSLIBRARYY
Dartwood Smart Robot Vacuum Cleaner-Mop-FAQs
How do I set up my Dartwood Robot Vacuum Cleaner-Mop for the first time?
Turn on the main power switch and place the vacuum on its docking station. Allow it to charge fully (around 4 hours) before first use. Once charged, press the power or start button to begin cleaning.
How do I use the robot vacuum and mop functions together?
Fill the water tank with clean water, attach the mop pad, and select the “mopping” or “vacuum + mop” mode from the app or device controls. The robot will vacuum and mop simultaneously.
How do I connect my Dartwood robot vacuum to Wi-Fi?
Download the compatible mobile app, create an account, and follow the on-screen Wi-Fi setup instructions. Make sure your phone is connected to a 2.4GHz Wi-Fi network during setup.
How do I connect my robot vacuum to my smartphone?
Open your phone’s Wi-Fi settings, connect to a 2.4GHz network, then pair the device through the app. The app will guide you through connection and control options.
Can I use the robot without Wi-Fi or the app?
Yes. You can start, pause, or stop cleaning using the physical buttons on the robot. However, Wi-Fi and app control provide access to advanced features like scheduling and cleaning history.
Why won’t my robot connect to Wi-Fi?
Ensure your router is using a 2.4GHz signal, not 5GHz. Restart your router and robot, and keep both within close range during setup.
Why is my robot vacuum not cleaning properly?
Check for tangled hair or debris in the main brush, side brushes, or wheels. Empty the dustbin, refill the water tank, and ensure sensors and filters are clean for optimal performance.
How often should I use my robot vacuum?
For homes with pets or heavy foot traffic, daily cleaning is recommended. For smaller or less busy spaces, every other day is sufficient.

































