
Fanttik Slim V9 Mix Car Vacuum

Quick Start Guide

IMPORTANT SAFETY INSTRUCTIONS
WARNING- To reduce the risk of fire or injury: All the safety and operating instructions should be read before use and should be followed to avoid injury, fire, electric shock, property loss, and other risks.
- This product is only for household and car use.
- This product has an internal battery. Please do not put the device in a fire or expose it to heat. Do not charge, use, place it under high temperature conditions, and do not store it in the car in case of overheating, ignition, or explosion.
- It is recommended to charge, use, or store the device between 32°F and 104°F.
- People with physical, mental, or sensory disabilities should not use the device for their safety.
- Children should not use, clean, or play with the device.
- Do not use the device with wet hands to avoid injury.
- Do not use this device to vacuum up any liquid, such as water and cola.
- Do not vacuum smoking or burning things such as cigarette butts, matches, or hot ashes.
- Do not vacuum hard or sharp objects to avoid injury when cleaning the dust cup.
- Do not use scented products on this equipment to avoid fire caused by the flammable chemicals in them.
- Do not modify or repair the internal battery.
- Do not use it in heated or moist places such as the heating room and bathroom.
- When the vacuum cleaner’s service life is over, please give it to the recycling location designated by the government because the internal battery cannot be taken out.
- If the charging wire is damaged or broken, please stop using it immediately.
- If you don’t use it for a long time, please unplug the charging cable after a full charge and place it in a cool, dry place. Charge it at least once every 3 months to maintain the battery performance.
- If the device needs to be transported, it is recommended to use the original packaging box and keep it in the “OFF” state.
- Unplug from the outlet when not in use and before servicing.
- Do not allow it to be used as a toy. Close attention is necessary when used near children.
- Use only as described in this manual. Use only the manufacturer’s recommended attachments.
- If the appliance is not working as it should, has been dropped, damaged, left outdoors, or dropped into water, return it to a service center.
- Do not pull or carry by cord, use cord as a handle, close a door on cord, or pull cord around sharp edges or corners. Keep the cord away from heated surfaces.
- Do not put any object into openings. Do not use with any opening blocked.
- Keep hair, loose clothing, fingers, and all parts of the body away from openings and moving parts.
- Use extra care when cleaning on stairs.
- Do not use to pick up flammable or combustible liquids, such as gasoline, or use in areas where they may be present.
- Do not use without a dust bag and/or filters in place.
- Prevent unintentional starting. Ensure the switch is in the off position before picking up or carrying the appliance. Carrying the appliance with your finger on the switch or energizing an appliance that has the switch on invites accidents.
- Recharge only with the charger specified by the manufacturer.
- Under abusive conditions, liquid may be ejected from the battery; avoid contact. If contact accidentally occurs, flush with water. If liquid contacts the eyes, additionally seek medical help. Liquid ejected from the battery may cause irritation or burns.
- Do not use an appliance that is damaged or modified. Damaged or modified batteries may exhibit unpredictable behavior, resulting in fire, explosion, or risk of injury.
- Do not expose a battery pack or appliance to fire or excessive temperature. Exposure to fire or temperature above 130°C may cause an explosion.
- Follow all charging instructions and do not charge the appliance outside of the temperature range specified in the instructions. Charging improperly or at temperatures outside of the specified range may damage the battery and increase the risk of fire.
- Have servicing performed by a qualified repair person using only identical replacement parts. This will ensure that the safety of the product is maintained.
- Do not modify or attempt to repair the appliance except as indicated in the instructions for use and care.
- Use only with Listed/Certified Information Technology (Computer) Equipment, or Listed/Certified ITE Power Supply, or Listed Class 2 Power Unit
- This appliance contains non-replaceable batteries
PRODUCT OVERVIEW

PACKAGE CONTENTS

HOW TO USE
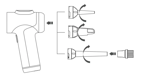
How to assemble

1. Dust collection mode:
- Select the suction head according to your needs and install it in the corresponding port to use.
- The two cleaner heads can be used separately or in combination.

2. Blowing mode:
- Select the blow nozzle according to your needs and install it for use.
- The blow nozzle brush can only be fitted to the long blow nozzle.

How to charge
- Please use a 5V/2A max power adapter (not included) and the type-C charging cable(included) to charge. The type-C charging cable can only be used for charging.
- It takes about 2.5-3 hours to fully charge. You can use the device in high-speed mode for about 13 minutes or in low-speed mode for about 30 minutes after a full charge.
- The lithium-ion battery must be FULLY charged before first use and after long-term storage.
- It is recommended to charge the device every three months.

How to use (Only one Button)
On/Off
- Long-press the Button to turn on the device, and long-press again to turn off.
Speed adjustment
- Low speed by default. Short-press the Button to switch to high speed, and press again to switch back.
CLEAN AND MAINTENANCE
- Push the dust cup lock upward, and press the dust cup release button to empty the dirt inside.

- Rotate the dust cup in the direction shown on the unit and pull it out.

- Pull out the filter system from the bottom of the dust cup.

- Rotate the Pre-filter anticlockwise and pull out the HEPA filter. Clean the HEPA filter and the Pre-filter with a cleaning brush.

- Wash the dust cup, Pre-filter, and HEPA filter with clean water.

- Wait for the filter system and dust cup to dry completely before putting them back. Do not wash the unit or get the charging port wet. The filter element is recommended to be replaced every 3 months.

SCREEN DISPLAY

TOXIC AND HAZARDOUS SUBSTANCES

- O indicates that all homogeneous materials’ hazardous substances content is below the limit specified in the Standard 2011/65/EU.
- The Standard 2011/65/EU.
- X indicates that the hazardous substances content in at least one homogeneous material of the component exceeds the limit specified in X indicates that the replacement of non-environmental protection substances cannot be achieved currently due to the global technology limitations, which will be gradually improved with the technical improvement.
TROUBLESHOOTING
If the following operations can not solve your problems, please stop using the device and contact the manufacturer with Email [email protected].Visit www.fanttik.com for more information.
SPECIFICATIONS

For More Manuals By Fanttik, Visit ManualsLibraryy
Fanttik Slim V9 Mix Car Vacuum-FAQS
How do I know when my Fanttik vacuum is fully charged?
While charging, the vacuum shows a pulsing blue light. Once fully charged, the light turns off.
How do I open the Fanttik Slim V9 Mix vacuum?
Press the release button on the dust cup and gently twist or pull the container to access the filter and debris compartment.
How long do Fanttik vacuums usually last?
Battery life varies by model. Many Fanttik handheld vacuums run around 13–35 minutes, depending on the suction mode.
Is Fanttik a good brand for car vacuums?
Yes. Fanttik vacuums are lightweight, powerful, and easy to maintain, making them a reliable choice for car cleaning.
How do I turn on the Fanttik Slim V9 Mix vacuum?
Press and hold the power button for a moment until the motor starts. Press again to switch modes or turn it off.
Are Fanttik vacuums noisy?
No. Fanttik designs its vacuums with optimized airflow to keep noise lower than typical handheld vacuums.
Do Fanttik vacuums have washable filters?
Yes. All Fanttik car vacuums come with washable and reusable filters.
How do I unjam a vacuum?
Check for clogs in the nozzle, filter, and dust bin. Remove debris, clean the filter, and ensure the airflow path is clear.
How can I tell if a vacuum is broken?
Signs include weak suction, burning smells, strange noises, or the vacuum shutting off unexpectedly.









