Blog Post

Golds Gym XR66 GGSY69530 Home Gym System featured image

Golds Gym XR66 GGSY69530 Home Gym System User Manual

Golds Gym XR66 GGSY69530 Home Gym System logo

Golds Gym XR66 GGSY69530 Home Gym System

Golds Gym XR66 GGSY69530 Home Gym System product image

IMPORTANT PRECAUTIONS

WARNING: To reduce the risk of serious injury, read the following important precautions before using the weight system.

  1. Read all instructions in this manual and in the accompanying literature before using the weight system.
  2. It is the responsibility of the owner to ensure that all users of the weight system are adequately
    informed of all precautions.
  3. The weight system is intended for home use only. Do not use the weight system in any commercial, rental, or institutional setting.
  4. Use the weight system only on a level surface. Cover the floor beneath the weight system to protect the floor.
  5. Make sure that all parts are properly tightened each time the weight system is used. Replace any worn parts immediately.
  6. Keep children under 12 and pets away from the weight system at all times.
  7. Keep hands and feet away from moving parts.
  8. Always wear athletic shoes for foot protection.
  9. The weight system is designed to support a a maximum user weight of 300 pounds.
  10. The weight system should not be used by more than one person at a time.
  11. Always stand on the footplate when performing an exercise that could cause the weight system to tip.
  12. Never release the butterfly arms, leg lever, press arm, leg press arm, lat bar, strap, or ankle strap while weights are raised. The weights will fall with great force.
  13. Always disconnect the lat bar from the weight system when performing an exercise that does not use the lat bar.
  14. Make sure that the cables remain on the pulleys at all times. If the cables bind while you are exercising, stop immediately and make sure that the cables are on all of the pulleys.
  15. If you feel pain or dizziness while exercising, stop immediately and begin cooling down.

BEFORE YOU BEGIN

Thank you for selecting the versatile GOLD’S GYM® XR66 weight system. The weight system offers a selection of weight stations designed to develop every major muscle group of the body. Whether your goal is to tone your body, build dramatic muscle size and strength, or improve your cardiovascular system, the weight system will help you achieve the specific results you want.

For your benefit, read this manual carefully before using the weight system. If you have questions after
reading this manual, please call our Customer Service Department toll-free at 1-800-999-3756, Monday
through Friday, 6 a.m. until 6 p.m. Mountain Time (excluding holidays). To help us assist you, please
note the product model number and serial number before calling. The model number is GGSY69530.

The serial number can be found on a decal attached to the weight system (see the front cover of this manual). Before reading further, please review the drawing below and familiarize yourself with the parts that are labeled.

Golds Gym XR66 GGSY69530 Home Gym System 1

Assembly

Requires Two Persons

For your convenience and safety, assemble the weight system with the help of another person. Set Aside Enough Time Due to the many features of the weight system, the assembly process will require several hours. By setting aside plenty of time and by deciding to make the task enjoyable, assembly will go smoothly. You may want to assemble the weight system over a couple of evenings.

Select a Location for the Weight System

Because of its weight and size, the weight system should be assembled in the location where it will be used. Make sure that there is enough room to walk around the weight system as you assemble it.

How to Unpack the Box

To make assembly as easy as possible, we have divided the assembly process into four stages. The parts needed for each stage are found in individual bags. Important: Wait until you begin each stage to open the parts bag for that stage. Place all parts of the weight system in a cleared area and remove the packing materials. Do not dispose of the packing materials until assembly is completed.

Make sure you have the following tools:

Golds Gym XR66 GGSY69530 Home Gym System 2

Note: Assembly will be more convenient if you have a socket set, a set of open-end or closed-end
wrenches, or a set of ratchet wrenches.

How to Identify Parts

To help you identify the small parts used in assembly, we have included a PART IDENTIFICATION CHART in the center of this manual. Place the chart on the floor and use it to easily identify parts during each assembly step. Note: Some small parts may have been pre-attached. If a part is not in the parts bag, check to see if it has been pre-attached.

How to Orient Parts

As you assemble the weight system, make sure that all parts are oriented exactly as shown in the drawings.

Tightening Parts

Tighten all parts as you assemble them, unless instructed to do otherwise.

Questions?

If you have questions after reading the assembly instructions, please call our Customer Service Department at 1-800-999-3756.

Frame Assembly

Golds Gym XR66 GGSY69530 Home Gym System 3

  • Locate and open the parts bags labeled “FRAME ASSEMBLY 1” and “FRAME ASSEMBLY.” Press four 40mm x 60mm Inner Caps (42) into the Right Base (1). Insert four M10 x 53mm Carriage Bolts (83) and an M10 x 78mm Carriage Bolt (84) up through the Right Base (1). Note: It may be helpful to place tape over the heads of the Carriage Bolts to hold them in place.Golds Gym XR66 GGSY69530 Home Gym System 4
  • Press five 40mm x 60mm Inner Caps (42) into the Left Base (2). Insert four M10 x 53mm Carriage Bolts (83) up through the Left Base (2). Note: It may be helpful to place tape over the heads of the
    Carriage Bolts to hold them in place.Golds Gym XR66 GGSY69530 Home Gym System 5
  • Attach the Right Base (1) to the Left Base (2) with four M10 x 78mm Bolts (85), four M10 Washers
    (74), and four M10 Nylon Locknuts (75). Do not tighten the Locknuts yet.Golds Gym XR66 GGSY69530 Home Gym System 6
  • Attach the Right Upright (5) to the Right Base (1) with the indicated two M10 x 53mm Carriage
    Bolts (83) and two M10 Nylon Locknuts (75). Do not tighten the Locknuts yet. Attach the Left Upright (6) to the Left Base (2) with the indicated two M10 x 53mm Carriage Bolts (83) and two M10 Nylon Locknuts (75). Do not tighten the Locknuts yet. Attach two Backrest Knobs (48) to the Right and Left Uprights (5, 6).Golds Gym XR66 GGSY69530 Home Gym System 7
  • Press a 60mm Square Inner Cap (46) into the Right Leg (7). Attach a Leg Bumper (49) to the Right Leg with an M4 x 25mm Self-tapping Screw (77) and an M4 Washer (93). Attach the Right Leg (7) to the Right Base (1) with the indicated two M10 x 53mm Carriage Bolts (83) and two M10 Nylon Locknuts (75). Do not tighten the Locknuts yet.Golds Gym XR66 GGSY69530 Home Gym System 8
  • Press a 50mm x 75mm Inner Cap (45) into the Right Seat Frame (3). Attach the Right Seat Frame (3) to the Right Leg (7) with two M10 x 80mm Bolts (86), two M10 Large Washers (94), and two M10 Nylon Locknuts (75). Do not tighten the Locknuts yet. Attach the Right Seat Frame (3) to the Right Upright (5) with two M10 x 80mm Bolts (86), two M10 Large Washers (94), and two M10 Nylon Locknuts (75). Do not tighten the Locknuts yet.Golds Gym XR66 GGSY69530 Home Gym System 9
  • Attach a Leg Bumper (49) to the Left Leg (8) with an M4 x 25mm Self-tapping Screw (77) and an
    M4 Washer (93). Attach the Left Leg (8) to the Left Base (2) with the indicated two M10 x 53mm Carriage Bolts (83) and two M10 Nylon Locknuts (75). Do not tighten the Locknuts yet.Golds Gym XR66 GGSY69530 Home Gym System 10
  • Orient the Left Seat Frame (4) as shown. Make sure the brackets are closer to the Left Leg (8). Attach the Left Seat Frame to the Left Leg with two M10 x 80mm Bolts (86), two M10 Large Washers (94), and two M10 Nylon Locknuts (75). Do not tighten the Locknuts yet. Attach the Left Seat Frame (4) to the Left Upright (6) with two M10 x 80mm Bolts (86), two M10 Large Washers (94), and two M10 Nylon Locknuts (75). Do not tighten the Locknuts yet.Golds Gym XR66 GGSY69530 Home Gym System 11
  • Slide two Weight Bumpers (50) onto two Weight Guides (9) as shown. Attach the Weight Guides (9) to the Left Base (2) with two M10 x 78mm Bolts (85), four M10 Washers (74), four 17mm Spacers (58), and two M10 Nylon Locknuts (75).Golds Gym XR66 GGSY69530 Home Gym System 12
  • Slide sixteen Weights (30) onto the Weight Guides (9). Make sure the slots for the Weight Pin (not shown) are on the indicated side and on the bottom of the Weights. Press a Weight Tube Bumper (35) into a Weight Tube (34). Insert the Weight Tube into the stack of Weights (30) as shown. Lubricate the indicated holes in a Top Weight (31) with grease. Slide the Top Weight onto the Weight Guides (9). Make sure that the groove on the Top Weight for the Weight Tube (34) pin is on
    the bottom of the Top Weight.Golds Gym XR66 GGSY69530 Home Gym System 13
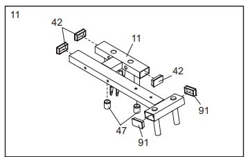
  • Press three 40mm x 60mm Inner Caps (42) into the Left Top Frame (11). Press two 40mm x 60mm Thick Inner Caps (91) into the Left Top Frame. Press two 25mm Round Outer Caps (47) onto the Left Top Frame.Golds Gym XR66 GGSY69530 Home Gym System 14
  •  Attach the Left Top Frame (11) to the Weight Guides (9) with two M10 x 78mm Bolts (85), four
    M10 Washers (74), four 17mm Spacers (58), and two M10 Nylon Locknuts (75). Do not tighten the
    Locknuts yet. Attach the Left Top Frame (11) to the Left Upright (6) with two M10 x 60mm Bolts (82), a Support Plate (29), and two M10 Nylon Locknuts (75). Do not tighten the Locknuts yet.Golds Gym XR66 GGSY69530 Home Gym System 15
  • Slide two Weight Bumpers (50) onto the other two  Weight Guides (9). Attach the Weight Guides (9) to the Right Base (1) with two M10 x 78mm Bolts (85), four M10 Washers (74), four 17mm Spacers (58), and two M10 Nylon Locknuts (75).Golds Gym XR66 GGSY69530 Home Gym System 16
  • Slide sixteen Weights (30) onto the Weight Guides (9). Make sure the slots for the Weight Pin (not shown) are on the indicated side and on the bottom of the Weights. Press a Weight Tube Bumper (35) into a Weight Tube (34). Insert the Weight Tube into the stack of Weights (30) as shown. Lubricate the indicated holes in a Top Weight (31) with grease. Slide the Top Weight onto the Weight Guides (9). Make sure that the groove on the Top Weight for the Weight Tube (34) pin is on
    the bottom of the Top Weight.Golds Gym XR66 GGSY69530 Home Gym System 17
  • Press four 40mm x 60mm Inner Caps (42) into the Right Top Frame (10). Press two 25mm Round Outer Caps (47) onto the Right Top Frame.Golds Gym XR66 GGSY69530 Home Gym System 18
  • Attach the Right Top Frame (10) to the Weight Guides (9) with two M10 x 78mm Bolts (85), four
    M10 Washers (74), four 17mm Spacers (58), and two M10 Nylon Locknuts (75). Do not tighten the
    Locknuts yet. Attach the Right Top Frame (10) to the Right Upright (5) with two M10 x 60mm Bolts (82), a Support Plate (29), and two M10 Nylon Locknuts (75). Do not tighten the Locknuts yet.Golds Gym XR66 GGSY69530 Home Gym System 19
  • Attach the Right Top Frame (10) to the Left Top Frame (11) with two M10 x 80mm Bolts (86), two
    M10 Washers (74), and two M10 Nylon Locknuts (75). Tighten the M10 Nylon Locknuts (75) used in steps 3–17.

Arm Assembly

Golds Gym XR66 GGSY69530 Home Gym System 20

  • Open the part bag labeled “ARM ASSEMBLY.” Press a 50mm x 75mm Inner Cap (45) into the
    Leg Press Arm (12). Lubricate an M12 x 102mm Bolt (81) with grease. Attach the Leg Press Arm (12) to the Right Base (1) with the Bolt and an M12 Nylon Locknut (95). Do not overtighten the Locknut; the Leg Press Arm must be able to pivot easily.Golds Gym XR66 GGSY69530 Home Gym System 21
  • Lubricate an M12 x 104mm Bolt (67) with grease. Attach the Leg Press Plate (13) to the Leg Press
    Arm (12) with the Bolt and an M12 Nylon Locknut (95). Make sure the bar is closer to the ground. Do not overtighten the Locknut; the Leg Press Plate must be able to pivot easily.Golds Gym XR66 GGSY69530 Home Gym System 22
  • Lubricate an M12 x 102mm Bolt (81) with grease. Attach the Press Frame (14) to the Right Base (1)
    with the Bolt and an M12 Locknut (95). Make sure the hole is closer to the indicated side of the Press Frame. Do not overtighten the Locknut; the Press Frame must be able to pivot easily.Golds Gym XR66 GGSY69530 Home Gym System 23
  • Press a 50mm Square Inner Cap (43) into a Press Arm (15). Press two 25mm Round Inner Caps (65) into the Press Arm. Wet the handles on the Press Arm (15) with soapy water. Slide two Grips (68) onto the handles. Attach the Press Arm (15) to the Press Frame (14) with two M10 x 70mm Bolts (87) and two M10 Nylon Locknuts (75). Attach the other Press Arm (15) to the Press Frame (14) in the same manner.Golds Gym XR66 GGSY69530 Home Gym System 24
  • Press two 50mm Square Inner Caps (43) into the Leg Lever (18). Lubricate an M10 x 78mm Bolt (85) with grease. Orient the Leg Lever (18) as shown and attach it to the Left Leg (8) with the Bolt and an M10 Nylon Locknut (75). Do not overtighten the Locknut; the Leg Lever must be able to pivot easily.Golds Gym XR66 GGSY69530 Home Gym System 25
  • Lubricate both axles on the Left Top Frame (11) with grease. Slide the Left Fly Pivot (21) onto the indicated axle on the Left Top Frame (11). Set two 25mm Retainer Rings (53) on a 25mm Round Outer Cap (47). Make sure the teeth on the Rings are toward the Cap, as shown in the inset drawing. Tap the Retainer Rings and Outer Cap onto the axle. Repeat with the Right Fly Pivot (22).Golds Gym XR66 GGSY69530 Home Gym System 26
  • Press a 50mm Square Inner Cap (43) into a Butterfly Arm (20). Wet a Fly Handle (66) and the inside of a Long Foam Pad (97) with soapy water. Slide the Foam Pad onto the Handle. Attach a Fly Handle (66) to the Butterfly Arm (20) with two M10 x 25mm Button Screws (60) and two M10 Washers (74). Repeat this step with the other Butterfly Arm (not shown). Make sure that the Fly Handle is oriented as shown in step 25.Golds Gym XR66 GGSY69530 Home Gym System 27
  • Lubricate an M10 x 80mm Bolt (86) with grease. Attach the left Butterfly Arm (20) to the Left Fly
    Pivot (21) with the Bolt and an M10 Nylon Locknut (75). Attach the right Butterfly Arm (20) to the Right Fly Pivot (22) in the same manner.

Seat Assembly

Golds Gym XR66 GGSY69530 Home Gym System 28

  • Locate and open the parts bag labeled “SEAT ASSEMBLY.” Attach the Seat (26) with the serial number decal to the Left Seat Frame (4) with four M6 x 16mm Screws (79). Attach the other Seat to the Right Seat Frame (not shown) in the same manner.Golds Gym XR66 GGSY69530 Home Gym System 29
  • Press a 38mm Square Inner Cap (44) into a Backrest Frame (16). Attach a Backrest (27) to the Backrest Frame with four M6 x 20mm Screws (96). Pull the Backrest Knob (48) on the Left Upright (6) out as far as it will go and insert the Backrest Frame (16) into the Upright. Engage the Knob into one of the holes in the Backrest Frame, and turn the Knob clockwise until it is tight. Attach the other Backrest to the Right Upright (not shown) in the same manner. Note: The tops of the Backrests should be closer to the Uprights than the bottoms.Golds Gym XR66 GGSY69530 Home Gym System 30
  • Press the two 19mm Round Inner Caps (24) into the ends of a Pad Tube (17). Insert the Pad Tube
    into the tube on the Left Leg (8). Slide the two Foam Pads (25) onto the Pad Tube as shown. Assemble the other Pad Tube (17) to the Leg Lever (18) in the same manner.Golds Gym XR66 GGSY69530 Home Gym System 31
  • Attach the Curl Pad (28) to the Curl Post (19) with four M6 x 16mm Screws (79).
  • Make sure that all parts have been properly tightened. The use of the remaining parts will be explained in ADJUSTMENTS, beginning on the following page. Before using the weight system, pull each cable a few times to make sure that the cables move smoothly over the pulleys. If one of the cables does not move smoothly, find and correct the problem. IMPORTANT: If the cables are not properly installed, they may be damaged when heavy weight is used. See the CABLE DIAGRAMS on pages 27 and 28 of this manual for proper cable routing. If there is any slack in the cables, you will need to remove the slack by tightening the cables. See TROUBLESHOOTING on page 26.

ADJUSTMENTS

This section explains how to adjust the weight system. See the EXERCISE GUIDELINES on page 29 for important information about how to get the most benefit from your exercise program. Also, refer to the accompanying exercise guide to see the correct form for each exercise. IMPORTANT: When attaching the accessories, make sure that they are in the correct starting position for the exercise to be performed. If there is any slack in the cables or chain as an exercise is performed, the effectiveness of the exercise will be reduced. Make sure all parts are properly tightened each time the weight system is used. Replace any worn parts immediately. The weight system can be cleaned with a damp cloth and a mild, non-rasive detergent. Do not use solvents.

ADJUSTING THE BACKRESTS

Golds Gym XR66 GGSY69530 Home Gym System 32

To adjust the position of a Backrest (27), first turn the Backrest Knob (48) counterclockwise several turns to loosen it. Next, pull the Knob and slide the Backrest Frame (16) to the desired position. Engage the Knob into one of the holes in the Backrest Frame, and turn the Knob clockwise until it is tight.

ADJUSTING THE CURL PAD

Golds Gym XR66 GGSY69530 Home Gym System 33
To use the Curl Pad (28), insert the Curl Post (19) into the Left Leg (8). Tighten the Curl Knob (56) into the Left Leg and the Curl Post. When the Curl Pad (28) is not in use, remove the Curl Knob (56) and the Curl Post (19) from the Left Leg (8). Store the Curl Pad out of the way of the weight system.

ATTACHING THE ACCESSORIES

Golds Gym XR66 GGSY69530 Home Gym System 34
Attach the Lat Bar (69) to the High Cable (61) at the high pulley station with a Cable Clip (71). For some
exercises, the Chain (70) should be attached between the Lat Bar and the Cable with two Cable Clips.
Adjust the length of the Chain between the Lat Bar and the Cable so the Lat Bar is in the correct starting position for the exercise to be performed. The Ankle Strap (not shown) or the Ab Strap (not shown) can be attached to a cable at any of the pulley stations in the same manner.

CHANGING THE WEIGHT SETTING

Golds Gym XR66 GGSY69530 Home Gym System 35
To change the setting of a weight stack, insert a Weight Pin (32) under the desired Weight (30). Insert
the Weight Pin so that the bent end touches the weight stack. Turn the bent end down. Note: Due to the cables and pulleys, the amount of resistance at each exercise station may vary from the weight setting. Use the WEIGHT RESISTANCE CHART on page 25 to find the approximate amount of resistance at each weight station.

WEIGHT RESISTANCE CHART

The chart below shows the approximate weight resistance at each exercise station. “Top” refers to the 6 lb. top weight. The other numbers refer to the 12.5 lb. weight plates. Weight resistance shown for the butterfly arm station is for each butterfly arm. Note: The actual resistance at each station may vary due to differences in individual weight plates as well as friction between the cables, pulleys, and weight guides.

WEIGHTHIGH PULLEY

(lbs.)

AB PULLEY

(lbs.)

PRESS ARM

(lbs.)

LEG PRESS

(lbs.)

BUTTER- FLY ARM

(lbs.)

LEG LEVER

(lbs.)

LOW PULLEY

(lbs.)

Top2021324792522
135355070143936
2515171101205451
3686690128257067
48481110157318682
5100961301863810297
611611115021545118112
713212617024452134127
814814119027359150142
916415621030266166157
1018017123033173182172
1119618625036080198187
1221220127038787214202
1322821629041594230217
14244231310445101246232
15260246330475106262247
16273265348501110274260

TROUBLESHOOTING

Make sure all parts are properly tightened each time the weight system is used. Replace any worn parts immediately. The weight system can be cleaned using a damp cloth and mild non-abrasive detergent. Do not use solvents.

TIGHTENING THE CABLES

Woven cable, the type of cable used on the weight system, can stretch slightly when it is first used. If there is slack in the cables before resistance is felt, the cables should be tightened. To tighten the cables, first, insert the weight pins into the centers of the weight stacks. Slack can be removed from the cables in several ways:

See drawing 1. Remove an M10 Nylon Locknut (75), M10 x 48mm Bolt (23), 90mm Pulley (38), and Cable Trap (37) from the Double “U”-bracket (41). Reattach the Pulley and the Cable Trap between a set of holes closer to the center of the “U”-bracket with the Bolt and Locknut. Make sure the Cable Trap is turned to hold the Cable in the groove of the Pulley.

Adjust the 90mm Pulleys (38) attached to the two Pulley Plates (36 [not shown]) in the same manner.

See drawing 2. To tighten the Long Cable (62) or the Low Cable (63), loosen the M12 Nut (80) away from the 50mm Washer (59). Screw the Cable into the Weight Tube (34) and retighten the Nut against the Washer.

Golds Gym XR66 GGSY69530 Home Gym System 36

Do not over tighten the cables. If the cables are overtightened, the top weights will be lifted off the
weight stacks. If a cable slips off the pulleys repeatedly, it may have become twisted. Remove the cable and re-install it.

If the cables need to be replaced, see ORDERING REPLACEMENT PARTS on the back cover of this manual.

CABLE DIAGRAMS

The cable diagrams show the proper routing of the High Cable (61), the Long Cable (62), the Low Cable (63), and the Butterfly Cable (64). Use the diagrams to make sure that the cables and the cable traps have been assembled correctly. If the cables have not been correctly routed, the weight system will not function properly and damage may occur. The numbers show the correct route for each cable. Make sure that the cable traps do not touch or bind the cables.

Golds Gym XR66 GGSY69530 Home Gym System 37Golds Gym XR66 GGSY69530 Home Gym System 38

EXERCISE GUIDELINES

THE FOUR BASIC TYPES OF WORKOUTS MUSCLE BUILDING

To increase the size and strength of your muscles, push them close to their maximum capacity. Your muscles will continually adapt and grow as you progressively increase the intensity of your exercise. You can adjust the intensity level of an individual exercise in two ways:

  • by changing the amount of resistance used
  • by changing the number of repetitions or sets performed. (A “repetition” is one complete cycle of an exercise, such as one sit-up. A “set” is a series of repetitions.)

The proper amount of resistance for each exercise depends upon the individual user. You must gauge
your limits and select the amount of resistance that is right for you. Begin with 3 sets of 8 repetitions for each exercise you perform. Rest for 3 minutes after each set. When you can complete 3 sets of 12 repetitions without difficulty, increase the amount of resistance.

TONING

You can tone your muscles by pushing them to a moderate percentage of their capacity. Select a moderate amount of resistance and increase the number of repetitions in each set. Complete as many sets of 15 to 20 repetitions as possible without discomfort. Rest for 1 minute after each set. Work your muscles by completing more sets rather than by using high amounts of resistance

WEIGHT LOSS

To lose weight, use a low amount of resistance and increase the number of repetitions in each set.
Exercise for 20 to 30 minutes, resting for a maximum of 30 seconds between sets.

CROSS TRAINING

Cross-training is an efficient way to get a complete and well-balanced fitness program. An example of a balanced program is:

  • Plan strength training workouts on Monday, Wednesday, and Friday.
  • Plan 20 to 30 minutes of aerobic exercise, such as running on a treadmill or riding on an elliptical or exercise bike, on Tuesday and Thursday.
  • Rest from both strength training and aerobic exercise for at least one full day each week to give your body time to regenerate.

The combination of strength training and aerobic exercise will reshape and strengthen your body, plus develop your heart and lungs.

PERSONALIZING YOUR EXERCISE PROGRAM

Determining the exact length of time for each workout, as well as the number of repetitions or sets completed, is an individual matter. It is important to avoid overdoing it during the first few months of your exercise program. You should progress at your own pace and be sensitive to your body’s signals. If you experience pain or dizziness at any time while exercising, stop immediately and begin cooling down. Find out what is wrong before continuing. Remember that adequate rest and a proper diet are important factors in any exercise program.

WARMING UP

Begin each workout with 5 to 10 minutes of stretching and light exercise to warm up. Warming up prepares your body for more strenuous exercise by increasing circulation, raising your body temperature and delivering more oxygen to your muscles.

WORKING OUT

Each workout should include 6 to 10 different exercises. Select exercises for every major muscle group,
emphasizing areas that you want to develop the most. To give balance and variety to your workouts, vary the exercises from session to session. Schedule your workouts for the time of day when your energy level is the highest. Each workout should be followed by at least one day of rest. Once you find the schedule that is right for you, stick with it.

EXERCISE FORM

Maintaining proper form is an essential part of an effective exercise program. This requires moving
through the full range of motion for each exercise and moving only the appropriate parts of the body.
Exercising in an uncontrolled manner will leave you feeling exhausted. On the exercise guide accompanying this manual, you will find photographs showing the correct form for several exercises, and a list of the muscles affected. Refer to the muscle chart on the next page to find the names of the muscles.
The repetitions in each set should be performed smoothly and without pausing. The exertion stage of
each repetition should last about half as long as the return stage. Proper breathing is important. Exhale
during the exertion stage of each repetition and inhale during the return stroke. Never hold your breath. Rest for a short period of time after each set. The ideal resting periods are:

  • Rest for three minutes after each set for a muscle-building workout.
  •  Rest for one minute after each set for a toning workout.
  • Rest for 30 seconds after each set for a weight loss workout.

Plan to spend the first couple of weeks familiarizing yourself with the equipment and learning the proper
form for each exercise.

COOLING DOWN

End each workout with 5 to 10 minutes of stretching. Include stretches for both your arms and legs. Move slowly as you stretch and do not bounce. Ease into each stretch gradually and go only as far as you can without strain. Stretching at the end of each workout is an effective way to increase flexibility.

STAYING MOTIVATED

For motivation, keep a record of each workout. The chart on page 31 of this manual can be photocopied
and used to schedule and record your workouts. List the date, the exercises performed, the resistance
used, and the number of sets and repetitions completed. Record your weight and key body measurements at the end of every month. Remember, the key to achieving the greatest results is to make exercise a regular and enjoyable part of your everyday life.Golds Gym XR66 GGSY69530 Home Gym System 39

For more manuals by Golds Gym, visit ManualsLibraryy

Golds Gym XR66 GGSY69530 Home Gym System-FAQs

How do I assemble the Gold’s Gym XR66 home gym system?

Refer to the assembly section of the user manual for step-by-step instructions. Ensure all tools and parts are available before starting the assembly process.

What exercises can I perform with the XR66 home gym system?

The XR66 allows you to perform various exercises targeting different muscle groups, including chest presses, lat pull-downs, leg curls, and bicep curls.

How do I adjust the resistance levels?

Adjust the resistance by selecting the desired weight plates on the stack. Use the locking pin to secure your chosen weight.

What is the maximum weight capacity of the XR66 home gym?

The XR66 home gym system has a maximum user weight capacity of 300 lbs.

How do I maintain the home gym system?

Regularly check for loose bolts, clean the machine with a damp cloth, and apply lubricant to moving parts as needed. Avoid using harsh chemicals.

Can multiple users share the XR66 home gym system?

Yes, the XR66 is designed for shared use. Adjustments can be made quickly to accommodate different exercises and users.

How much space is required to set up the XR66?

The XR66 requires a dedicated space of approximately 7 feet in length, 5 feet in width, and 7 feet in height for proper setup and operation.

Are replacement parts available for the XR66?

Yes, replacement parts can be ordered through Gold’s Gym customer service or their official website.

Is there a warranty for the XR66 home gym system?

Yes, the XR66 comes with a limited warranty. Check the user manual or contact customer service for details on coverage and duration.

Can I move the XR66 after it’s assembled?

The XR66 is heavy and not designed for frequent relocation. If moving is necessary, disassemble it partially for easier transportation.

Leave a comment

Your email address will not be published. Required fields are marked *