Blog Post

Honda TRX400FW Foreman 400 ATV Owners Manual | ManualsLibraryy

Honda TRX400FW Foreman 400 ATV Owners Manual

Honda logo

Honda TRX400FW Foreman 400 ATV

Honda TRX400FW Foreman 400 ATV Owners Manual-prod

PARTS LOCATION AND OPERATION

PARTS LOCATION

  1. Rear brake lever, Parking brake
  2. Headlight switch, Engine stop switch, Headlight dimmer switch, Starter button, Choke lever
  3. Reverse selector knob
  4. Horn button
  5. Reverse indicator lamp, Neutral indicator lamp, Oil high-temperature indicator lamp
  6. Fuel gauge
  7. Ignition switch
  8. Throttle lever
  9. Front brake leverHonda TRX400FW Foreman 400 ATV Owners Manual-1
  10. Hourmeter
  11. Hourmeter indicator
  12. Speedometer
  13. Odometer
  14. Tripmeter
  15. Tripmeter reset knobHonda TRX400FW Foreman 400 ATV Owners Manual-2
  16. Flag pole bracket
  17. Rear cargo rack
  18. Seat lock lever
  19. Fuel fill cap
  20. Front brake fluid reservoir
  21. Helmet holder
  22. Front cargo rack
  23. Recoil starter (behind the right side cover)
  24. Right footpeg
  25. Rear brake pedal
  26. Assist headlight
  27. HeadlightsHonda TRX400FW Foreman 400 ATV Owners Manual-3
  28. Fuel valve
  29. Starting primer knob
  30. Storage compartment, containing: Tool kit, Air pressure gauge, Owner’s Manual
  31. Gearshift pedal
  32. Oil filler cap/dipstick
  33. Left footpeg
  34. Trailer hitchHonda TRX400FW Foreman 400 ATV Owners Manual-4

PARTS OPERATION

POWER CONTROLS

Ignition Switch

The ignition switch (Fig. 2-5) is in the center of the handlebars directly in front of the seat. Honda TRX400FW Foreman 400 ATV Owners Manual-5Honda TRX400FW Foreman 400 ATV Owners Manual-6

Engine Stop Switch

The engine stop switch (Fig. 2-6 ) is next to the left handgrip and has three positions. The engine will operate when the switch is in the O (RUN) position. When the switch is in either (OFF) position, the engine will not operate. This switch is intended primarily as a safety or emergency control and should normally remain in the C) (RUN) position.Honda TRX400FW Foreman 400 ATV Owners Manual-7

Choke Lever

The choke lever (Fig. 2-7) is next to the starter button. The choke has two positions: fully ON and fully OFF (B). TO Start a cold engine when the air temperature is —15—350C (5—950F), move the choke lever left to the Fully ON before pressing the starter button. After the engine is warm, move the choke right to the fully OFF position.Honda TRX400FW Foreman 400 ATV Owners Manual-8

Starter Button

The starter button (Fig. 2-8) is below the engine stop switch. TO Start the engine, press the starter button ( 1), with the transmission in neutral, the ignition switch I (ON), and the engine stop switch at O (RUN).Honda TRX400FW Foreman 400 ATV Owners Manual-9

Horn button

The horn button (Fig. 2-9 ) is next to the headlight switch. Press the button to sound the born.

Starting Primer Knob

The starting primer knob (Fig. 2-10 ) is on the carburetor float bowl on the left side of the Fourtrax. To start the engine when the air temperature is below —15 oc (5 OF), push the knob two or three times before pressing the starter button.Honda TRX400FW Foreman 400 ATV Owners Manual-10

Recoil Starter

The recoil starter (Fig. 2-11) is on the right side of the FOURTRAX. It is used to start the engine when the battery is low.

To operate the recoil starter:

  1. Unsnap and remove the right side cover (2
  2. Grasp the starter grip ( 1 ) firmly, then pull it out slowly approximately 100 mm (4 in).
  3. Pull the grip up briskly and fully.
  4. After the engine starts, allow the starter grip to return slowly.Honda TRX400FW Foreman 400 ATV Owners Manual-11

Throttle Lever

The throttle lever (Fig. 2-12) is next to the right handgrip, and it is operated by the thumb. Pressing the lever opens the throttle. When pressure is released, spring tension automatically closes the throttle.Honda TRX400FW Foreman 400 ATV Owners Manual-12Honda TRX400FW Foreman 400 ATV Owners Manual-13Honda TRX400FW Foreman 400 ATV Owners Manual-14

GEARSHIFT CONTROLS

Gearshift Pedal

The gearshift pedal is near the left footpeg. One full stroke of the pedal shifts the transmission to the next higher or lower gear in the shifting sequence (Fig. 2-16). The pedal automatically returns to the horizontal position when released.

Your FOURTRAX has five forward gears (SL, 1, 2, 3, and 4). To upshift to a higher gear, put the toe of your boot under the gearshift pedal and raise the pedal one full stroke. To downshift, step on the gearshift pedal and depress the pedal one full stroke. Honda TRX400FW Foreman 400 ATV Owners Manual-15

Reverse Selector Knob

The reverse selector knob (Fig. 2-17) ( 1) is on the rear brake lever. To shift into reverse, first, bring the FOURTRAX to a complete stop and make sure the transmission is neutral. While pushing the reverse selector knob ( 1) in, squeeze the rear brake lever (2), then depress the gearshift pedal.Honda TRX400FW Foreman 400 ATV Owners Manual-16

BRAKE CONTROLS

Front Brakes

The front brakes are operated by squeezing the front brake lever, near the right handgrip.

Rear Brake

The rear brake is operated either by depressing the brake pedal or by squeezing the rear brake lever (Fig. 2-18).

Parking Brake

The rear brake lever has a lock which allows it to be used as a parking brake. To set the parking brake, squeeze the rear brake lever ( 1 ) and lock it with the lock lever ( 2 Always set the parking brake when parking and before starting the engine.

To unlock the parking brake, squeeze the rear brake lever until the lock lever releases. Using the parking brake in freezing weather may cause the brakes to freeze in the locked position.Honda TRX400FW Foreman 400 ATV Owners Manual-17

FUEL TANK CONTROLS

Fuel Gauge

The fuel gauge (Fig. 2-19) (1) shows the approximate fuel supply available. At F (Full), the fuel tank capacity including reserve is: 12.0 (3.17 US gal, 2.64 Imp gal) When the gauge needle (2) enters the red band (3), fuel will be low and you should refill the tank as soon as possible. The amount of fuel left in the tank when the needle enters the red band is approximately: 3.0 g (0.79 US gal, 0.66 Imp gal)Honda TRX400FW Foreman 400 ATV Owners Manual-18

Fuel Fill cap

After refueling, be sure to tighten the fuel fill cap (Fig. 2-20) until it clicks. Insert the breather tube (2 ) into the handlebar cover hole (3 ).Honda TRX400FW Foreman 400 ATV Owners Manual-19

ENGINE OIL

Oil Filler Cap/Dipstick

The oil filler cap/dipstick (Fig. 2-22), on the right crankcase cover, is used to measure the Oil level. The Oil should be checked each day before operating the FOURTRAX and maintained between the upper-level mark (2) and the lower-level mark (3).Honda TRX400FW Foreman 400 ATV Owners Manual-20
ADDITIONAL FEATURES

Helmet Holder

The helmet holder (2 ) (Fig. 2-23) is a bracket near the right side of the handlebar cover ( 1 To use the holder, hang the D-ring on your helmet strap over the bracket. Use the helmet holder only when the FOURTRAX is parked.Honda TRX400FW Foreman 400 ATV Owners Manual-21

Flag Pole Bracket

The flag pole bracket (Fig. 2-24) is on the rear cargo rack. Flag poles are optional equipment available from your Honda dealer. To mount a pole in the bracket, follow the instructions that come with the flag poleHonda TRX400FW Foreman 400 ATV Owners Manual-22

Trailer Hitch

The trailer hitch is located On the rear axle housing. As illustrated in Fig. 2-25, to use the hitch, you’ll need a proper size ball as specified by the trailer manufacturer. To attach the ball and properly hook up a trailer, follow the trailer manufacturer’s instructions. Honda TRX400FW Foreman 400 ATV Owners Manual-23

Storage Compartment

The storage compartment (2 ) (Fig. 2-26) is below the rear cargo rack ( 1). To open the compartment, unhook the rubber Strap (3). The owner’s manual (4), tool kit (5), and air pressure gauge (6) should be stored in the storage compartment (2 Be careful not to flood this area when washing your FOURTRAX or riding through water.Honda TRX400FW Foreman 400 ATV Owners Manual-24

VEHICLE PREPARATION

Pre-Ride Inspection

Inspect your FOURTRAX every day before you ride it. Checking the items below will take only a few minutes, and in the long run, they can save time, expense, and possibly your life.

  1. Engine Oil level. Check the Oil level and add Oil if required (pages 100— 104 Check for leaks.
  2. Fuel level. Fill the fuel tank when necessary (pages 88 and 91 Check for leaks.
  3. Brakes. Check operation. Make sure there is no brake fluid leakage.
  4. Tires. Check condition and pressure (pages 130 132
  5. Throttle. Check for smooth opening and closing in all steering positions.
  6. Headlight and headlight dimmer switches. Check for proper function (page 21)
  7. Engine stop switch. Check for proper function (page 15)
  8. Driveshaft boots. Check for damage (page 138
  9. Nuts, bolts, fasteners. Check the wheels to see that the axle nuts are tightened. Check the security of all other nuts, bolts, and fasteners.
  10. Steering. Check that the wheels turn properly as you steer the handlebars.
  11. Cargo. Check that all cargo is properly secured.
  12. Underbody and exhaust system. Check for, and remove any dirt, vegetation, Or other debris that could be a fire hazard or interfere with the proper operation of the vehicle.
  13. Air cleaner housing drain tube. Check for deposits in the drain tube. If necessary, clean the tube (page 96) and check the air cleaner case.

SHIFTING GEARS

After starting the engine and letting it warm up, follow these procedures:

  1. With the transmission in neutral, release the parking brake, but continue squeezing the rear brake lever.
  2. With the throttle closed, raise the gearshift pedal one full Stroke to shift into SL (super low) gear.
  3. Release the rear brake lever and increase engine speed by gradually opening the throttle.
  4. When speed increases, release the throttle and shift to 1st gear by raising the gearshift pedal one full stroke.
  5. Repeat this sequence to progressively upshift to 2nd, 3rd, and 4th (top) gear.
  6. TO downshift, reverse this sequence. Remember to close the throttle each time you shift to the next lower gear.

RIDING IN REVERSE

TO shift into reverse, first, bring the vehicle to a complete stop and make sure the transmission is in neutral. Then follow these procedures:

  1. Be sure there are no obstacles or people in the way.
  2. While pushing the reverse selector knob in, squeeze the rear brake lever, then depress the gearshift pedal (page 25 ).
  3. Release the rear brake lever.
  4. Open the throttle gradually and ride slowly. Do not open the throttle suddenly or make abrupt turns.
  5. To stop, close the throttle and gradually apply both the front and rear brakes. Do not abruptly apply the rear brake by itself.
  6. TO shift out of reverse and into neutral, raise the gearshift pedal One stroke.

RIDING DOWN HILLS

It’s usually advisable to descend hills with the FOURTRAX pointed straight downhill. Avoid angles that would cause the vehicle to lean sharply to one side. As you approach a downhill, stop and survey the terrain below. Never ride past the limit of your visibility. When you’ve selected a safe downhill path, shift into a low gear, shift your weight back with your arms extended and braced against the handlebars, then go down slowly with the throttle closed.

Do not downshift abruptly while descending a hill. Use mainly the rear brake to control speed. Avoid using either the front brake or rear brake hard Or abruptly when riding down hills.Honda TRX400FW Foreman 400 ATV Owners Manual-25

RIDING THROUGH WATER

Your FOURTRAX is designed to travel through water up to approximately 250 mm (10 in) deep. Before crossing a stream, make sure the water is not too deep or flowing too fast. Choose a path where both banks have gradual slopes, then proceed through the water at a slow, steady speed. Watch out for submerged obstacles and slippery rocks. Avoid getting the spark plug or air cleaner wet, as this would cause the engine to stop.

Riding through water can make the brakes less effective than normal. After leaving the water, always test both the front and rear brakes. If necessary, apply the brakes repeatedly until they dry out and operate normally. If the brakes don’t regain effectiveness, Stop your FOURTRAX and follow the procedures on page 128.

MAINTENANCE AND REPAIRS

MAINTENANCE SCHEDULE

Honda TRX400FW Foreman 400 ATV Owners Manual-26

AIR CLEANER

The air cleaner accumulates dust and must be cleaned periodically. If the FOURTRAX is ridden in dusty areas, the air cleaner must be cleaned at more frequent intervals than specified in the Maintenance Schedule. If the FOURTRAX is submerged in water, the air cleaner should be checked and water should be drained from the air cleaner housing before starting the engine.

To clean the air cleaner

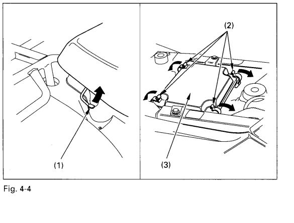
  1. Remove the seat by pulling up the seat lock lever ( 1 ) (Fig. 4-4).
  2. Unlatch the four retainer clips (2) and remove the air cleaner housing coverHonda TRX400FW Foreman 400 ATV Owners Manual-27
    1. Seat lock lever
    2. Retainer clips
    3. Air cleaner housing cover

High Altitude Adjustment

When operating this FOURTRAX at altitudes ranging above 1,000 m (3,000 feet), the air-fuel mixture becomes overly rich. This may result in poor engine performance and increased fuel consumption. A high-altitude jet is available to compensate for high-altitude richness.

For those who are mechanically proficient and have the necessary tools, installation, and adjustment procedures are given in the official Honda Service Manual available from your Honda dealer. All Others should have this carburetor modification performed by an authorized Honda dealer.Honda TRX400FW Foreman 400 ATV Owners Manual-28

LUBRICATION

ENGINE OIL

Checking Engine Oil Level and Adding Oil

Check the engine oil level each day before operating your FOURTRAX and add oil if needed.

To check the Oil level

  1. Make Sure the vehicle is on level ground.
  2. Start the engine in a well-ventilated area and let it idle for a few minutes.
  3. Stop the engine.
  4. After a few minutes, remove the oil filler cap/dipstick (Fig. 4-10) from the rear crankcase cover and wipe it clean.
  5. Insert the dipstick without screwing it in, then remove the dipstick and check the oil level. The Oil level should be between the upper-level mark (2) and the lower-level mark (3) on the dipstick.
  6. If required, add the specified oil into the filler cap hole, up to the upper-level mark on the dipstick. Do not overfill.
  7. Reinstall the oil filler Cap/dipstick.

For more manuals by Honda visit, ManualsLibraryy

Honda TRX400FW Foreman 400 ATV-FAQs

What is the top speed of the Honda Foreman 400?

The Honda FourTrax 400 4×4 can reach speeds of approximately 45-55 mph under ideal conditions. However, various factors like terrain and rider weight can influence its performance.

Where can I find the serial number on my Honda Foreman 400?

The serial number is located underneath the front fender, directly in the center. Squat in front of the ATV and look through the front grille to spot it on the frame’s down tubes.

How much oil does a Honda Foreman 400 require?

The recommended oil capacity is 2.21 quarts. It’s best to start with 2 quarts, check the level, and add more if needed.

Is the Honda Foreman 400 a reliable ATV?

Yes, the Foreman 400 is known for its durability and strong utility capabilities. With a full-time 4WD system and a 5-speed transmission with reverse, it excels in handling tough tasks.

Where are Honda Foreman ATVs manufactured?

Honda ATVs, including the Foreman series, are built in the United States at Honda manufacturing plants in Timmonsville, S.C., and Swepsonville, N.C.

How can I identify my Honda ATV engine?

The engine serial number is stamped on the side of the engine. It consists of a 4- or 5-letter prefix followed by a 7-digit number.

When was the Honda Foreman 400 first introduced?

The Honda Foreman 400 was introduced in 1995 as a powerful and efficient utility ATV.

How do I shift my ATV into reverse?

To shift into reverse, press the clutch, hold the reverse button, and press the gear lever down with your foot.

Does the Honda Foreman 400 have a locking differential?

Yes, it features Honda’s TraxLok® system, which offers three modes: 2WD, 4WD, and 4WD with a locking front differential and Speed Override for better traction in tough conditions.

Leave a comment

Your email address will not be published. Required fields are marked *