![]()
ProForm Crosswalk 831296230 Treadmill Exerciser

IMPORTANT PRECAUTIONS
- It is the responsibility of the owner to ensure that all users of this treadmill are adequately informed of all warnings and precautions.
- Use the treadmill only as described.
- Place the treadmill on a level surface, with at least eight feet of clearance behind it and two feet on each side. Do not place the treadmill on any surface that blocks air openings. To protect the floor or carpet from damage, place a mat under the treadmill.
- Keep the treadmill indoors, away from moisture and dust. Do not put the treadmill in a garage or covered patio, or near water.
- Do not operate the treadmill where aerosol products are used or where oxygen is being administered.
- Keep children under the age of 12 and pets away from the treadmill at all times.
- The treadmill should be used only by persons weighing 250 pounds or less.
- Never allow more than one person on the treadmill at a time.
- Wear appropriate exercise clothes when using the treadmill. Do not wear loose clothes that could become caught in the treadmill. Athletic support clothes are recommended for both men and women. Always wear athletic shoes. Never use the treadmill with bare feet, wearing only stockings, or in sandals.
- When connecting the power cord (see page 10), plug the power cord into a surge suppressor (not included) and plug the surge suppressor into a grounded circuit capable of carrying 15 or more amps. No other appliance should be on the same circuit. Do not use an extension cord.
- Use only a single-outlet surge suppressor that meets all of the specifications described on page 10. To purchase a surge suppressor, see your local Sears store or call 1-800-366-7278
and order part number 146148, or see your local electronics store. - Failure to use a properly functioning surge suppressor could result in damage to the control system of the treadmill. If the control system is damaged, the walking belt may change speed, accelerate, or stop unexpectedly, which may result in a fall and serious injury.
- Keep the power cord and the surge suppressor away from heated surfaces.
- Never move the walking belt while the power is turned off. Do not operate the treadmill if the power cord or plug is damaged or if the treadmill is not working properly. (See TROUBLESHOOTING on page 17 if the treadmill is not working properly.)
- Read, understand, and test the emergency stop procedure before using the treadmill (see OPERATION and ADJUSTMENT.
- Never start the treadmill while you are standing on the walking belt. Always hold the handrails or the upper body arms while using the treadmill.
- The treadmill is capable of high speeds. Adjust the speed in small increments to avoid sudden jumps in speed.
- The pulse sensor is not a medical device. Various factors, including the user’s movement, may affect the accuracy of heart rate readings. The pulse sensor is intended only as an exercise aid in determining heart rate trends in general.
- Never leave the treadmill unattended while it is running. Always remove the key and unplug the power cord when the treadmill is not in use.
- Do not attempt to raise, lower, or move the treadmill until it is properly assembled. (See ASSEMBLY on page 6, and HOW TO FOLD AND MOVE THE TREADMILL on page 16.) You must be able to safely lift 45 pounds (20 kg) to raise, lower, or move the treadmill.
BEFORE YOU BEGIN
Thank you for selecting the PROFORM® CROSSWALK 370e treadmill. The CROSSWALK 370e treadmill combines advanced technology with innovative design to help you achieve your fitness goals in the convenience and privacy of your home. And when you’re not exercising, the CROSSWALK 370e treadmill can be folded up, requiring less than half the floor space of other treadmills. For your benefit, read this manual carefully before using the treadmill. If you have questions after reading this manual, call 1-800-4-MY-HOME® (1-800-469-4663). To help us assist you, please note the product model number and serial number before calling. The model number of the treadmill is 831.29623.0. The serial number can be found on a decal attached to the treadmill (see the front cover of this manual for the location). Before reading further, please review the drawing.
Below and familiarize yourself with the labeled parts.

ASSEMBLY
The assembly requires two persons. Set the treadmill in a cleared area and remove all packing materials; do not dispose of the packing materials until assembly is completed. Note: The underside of the treadmill walking belt is coated with high-performance lubricant. During shipping, a small amount of lubricant may be transferred to the top of the walking belt or the shipping carton. This is a normal condition and does not affect treadmill performance. If there is lubricant on top of the walking belt, simply wipe off the lubricant with a soft cloth and a mild, non-abrasive cleaner. Assembly requires the included Allen wrenches and your own Phillips screwdriver.
rubber mallet, and an adjustable wrench

- Make sure that the power cord is unplugged. With the help of a second person, carefully tip the treadmill onto its left side as shown. Partially fold the Frame (86) so the treadmill is more stable. Do not fully fold the treadmill until it is completely assembled. Insert an Extension Leg (63) into the base of the
Uprights (69) with the Base Pad (61) oriented as shown. If necessary, tap on the Extension Leg with a rubber mallet. Next, hold two Extension Leg Nuts (46) at the bottom of the Extension Leg, and insert two Extension Leg Bolts (93) into the top of the Extension Leg. Firmly tighten the Extension Leg Bolts into the Extension Leg Nuts. Attach two Base Pads (57) to the base of the Uprights (69) with two 1” Tek Screws (39).
- Attach a Wheel (66) to the base of the Uprights (69) with a Wheel Bolt (64) and a Wheel Nut (32) as shown. Do not overtighten the Bolt; the Wheel should turn freely. With the help of a second person, carefully tip the treadmill onto its other side. See assembly steps 1 and 2, and attach the other Extension Leg (63), Base Pads (57), and Wheel (66). With the help of a second person, carefully lower the base of the Uprights (69) to the floor so the Uprights are in the vertical position.

- Identify the Right rail (72), which has a large hole in the left side. Remove the wire tie holding the Upright Wire (42) inside the right Upright (69). Feed the Upright Wire into the hole in the bottom of the Right rail and out of the large hole in the side. Note: It may be helpful to use needle-nose pliers to pull the Wire Harness out of the hole. Set the Right Handrail (72) on the right Upright (69). Attach the Right rail with two Handrail Bolts (37) and two Handrail Star Washers (95). Be careful not to pinch the Upright Wire (42). Attach the Left rail (71) as described above. Note: There is no upright wire on the left side.

- Hold the Console Base (47) near the Left rail (71). Attach the end of the ground wire on the Console Base to the indicated small hole in the Left Handrail with the Silver Ground Screw (75).

- Touch the Right Handrail (72) to discharge any static. Slide the sleeve off the connector on the Upright Wire (42) as shown in the inset drawing. Next, press the end of the Upright Wire into the socket at the bottom of the Console Base (47). The connector should slide easily into the socket and snap into place. If the connector does not slide easily and snap into place, turn the connector and then insert it. Then, slide the sleeve back over the connector.

- Set the Console Base (47) on the Handrails ( 71, 72). Attach the Console Base with four 3/4” Screws (2). Start all four Screws before tightening them; do not overtighten the Screws. See the lower drawing. Make sure that the Upright Wire (42) is routed below the two indicated round posts (A). Next, press the Upright Wire into the slot between the square post (B) and the Console Base (47).

- Cover the Upright Wire (42) with the Right Grip Plate (36). Be careful not to pinch the Upright Wire. Tighten three 1/2” Screws (48) into the Right Grip Plate and the Console Base (47). Attach the Left Grip Plate (32) over the ground wire and
the other wires with three 1/2” Screws (48). Be careful not to pinch any of the wires.
- Attach the Left Upper Body Arm (24) to the left Upright (69) with two 3 1/2” Bolts (45), two Washers (38), and two Star Washers (106) as shown. Make sure that the Left Upper Body Arm is on the indicated side of the Console Base (47). Attach the Right Upper Body Arm (not shown) to the right Upright (not shown) in the same way.

- Attach the Latch Housing (29) to the left Upright (69) with two 3/4” Screws (2). Make sure that the large hole in the Latch Housing is on the side shown. Remove the knob from the pin. Make sure that the collar and the spring are on the pin as shown. Insert the pin into the Latch Housing (29), and tighten the knob back onto the pin.

- Make sure that all parts are properly tightened before you use the treadmill. Note: Extra hardware may be included. Keep the included Allen wrenches in a secure place; the large fallen wrench is used to adjust the walking belt (see page 17). To protect the floor or carpet, place a mat under the treadmill.
OPERATION AND ADJUSTMENT
HOW TO PLUG IN THE POWER CORD
This product is for use on a nominal 120-volt circuit and has a grounding plug that looks like the plug illustrated in drawing 1 below. A temporary adapter that looks like the adapter illustrated in drawing 2 may be used to connect the surge suppressor to a 2-pole
Receptacle as shown in drawing 2 if a properly grounded outlet is not available.

The temporary adapter should be used only until a properly grounded outlet (drawing 1) can be installed by a qualified electrician. The green-colored rigid ear, lug, or the like extending from the adapter must be connected to a permanent ground such as a properly grounded outlet box cover. Whenever the adapter is used it must be held in place by a metal screw. Some 2-pole receptacle outlet box covers are not grounded. Contact a qualified electrician to determine if the outlet box cover is grounded before using an adapter.
CONSOLE DIAGRAM

FEATURES OF THE CONSOLE
The treadmill console offers a selection of features designed to make your workouts more effective. When the manual mode of the console is selected, the speed and incline of the treadmill can be changed with the touch of a button. As you exercise, the console will display continuous exercise feedback. You can even measure your heart rate using the built-in pulse sensor.r
MyCalories™ Personal Calorie Programming
As you exercise on the treadmill, the center display will show the approximate number of calories you have burned. If desired, you can program a calorie goal before a workout, and the console will count down the calories until you reach your goal.
Preset Programs
The console also features two preset programs. The 5K Run program counts down from 5,000 meters as you complete a 5-kilometer run, and the 30-minute Challenge program automatically controls the speed of the treadmill as it guides you through an effective workout.
HOW TO FOLD AND MOVE THE TREADMILL
HOW TO FOLD THE TREADMILL FOR STORAGE
Before folding the treadmill, adjust the incline to the lowest position. If this is not done, the treadmill may be permanently damaged. Next, unplug the power cord. CAUTION: You must be able to safely lift 45 pounds (20 kg) to raise, lower, or move the treadmill.

- Hold the metal frame firmly in the location shown by the arrow at the right. CAUTION: To decrease the possibility of injury, do not lift the treadmill by the plastic foot rails. Make sure you bend your legs and keep your back straight. As you raise the treadmill, make sure to lift with your legs rather than your back. Raise the treadmill about halfway to the vertical position.
- Move your right hand to the position shown and hold the
treadmill firmly. Using your left hand, pull the latch knob to the left and hold it. Raise the frame until the hole in the frame
is aligned with the latch pin. Slowly release the latch knob; make sure that the latch pin is fully inserted into the frame.
TROUBLESHOOTING
Most treadmill problems can be solved by following the simple steps below. Find the symptom that applies, and follow the steps listed. If further assistance is needed, call toll-free 1-800-4-MY-HOME®
(1-800-469-4663).
PROBLEM: The power does not turn on
SOLUTION:
- a. Make sure that the power cord is plugged into a surge suppressor, and that the surge suppressor is plugged into a properly grounded outlet (see page 10). Use only a single-outlet surge suppressor that meets all of the specifications described on page 10. Important: The treadmill is not compatible with GFCI-equipped outlets.
- b. After the power cord has been plugged in, make sure that the key is fully inserted into the console.
- c. Check the reset/off circuit breaker located on the treadmill frame near the power cord. If the switch protrudes as shown, the circuit breaker has tripped. To reset the circuit breaker, wait for five minutes and then press the switch back in.
PROBLEM: The power turns off during use
SOLUTION:
- a. Check the circuit breaker located on the treadmill frame near the power cord (see the drawing above). If the circuit breaker has tripped, wait for five minutes and then press the switch back in.
- b. Make sure that the power cord is plugged in. If the power cord is plugged in, unplug it, wait for five minutes, and then plug it back in.
- c. Remove the key from the console. Reinsert the key into the console.
- d. If the treadmill still will not run, please call toll-free 1-800-4-MY-HOME® (1-800-469-4663).
PROBLEM: The displays of the console do not function properly
SOLUTION:
- a. Remove the key from the console and UNPLUG THE POWER CORD. Remove the Screws (2) from the Hood (1), and carefully pivot the Hood off.
PROBLEM: The walking belt slows when walked on
SOLUTION:
- a. Use only a single-outlet surge suppressor that meets all of the specifications described on page 10.
- b. If the walking belt is overtightened, treadmill performance may decrease, and the walking belt may become damaged. Remove the key and UNPLUG THE POWER CORD. Using theAllenn wrench, turn both rear roller bolts counterclockwise, 1/4 of a turn. When the walking belt is properly tightened, you should be able to lift each edge of the walking belt 2 to 3 inches
off the walking platform. Be careful to keep the walking belt centered. Then, plug in the power cord, insert the key, and run the treadmill for a few minutes. Repeat until the walking belt is properly tightened. - c. If the walking belt still slows when walked on, please call toll-free 1-800-4-MY-HOME® (1 800 469 4663).
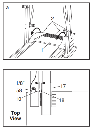
PROBLEM: The walking belt is off-center or slips when walked on
SOLUTION:
- a. If the walking belt is off-center, remove the key and UNPLUG THE POWER CORD. If the walking belt has shifted to the left, use the Allen wrench to turn the left rear roller bolt clockwise 1/2 of a turn; if the walking belt has shifted to the right, turn the bolt counterclockwise 1/2 of a turn. Be careful not to overtighten the walking belt. Then, plug in the power cord, insert the key, and run the treadmill for a few minutes.
Repeat until the walking belt is centered. - b. If the walking belt slips when walked on, remove the key and UNPLUG THE POWER CORD. Using the Allen wrench, turn both rear roller bolts clockwise, 1/4 of a turn. When the walking belt is correctly tightened, you should be able to lift each edge of the walking belt 2 to 3 inches off the walking platform. Be careful to keep the walking belt centered. Then, plug in the power cord, insert the key, and carefully walk on the
treadmill for a few minutes. Repeat until the walking belt is properly tightened.
PROBLEM: The upper body arms squeak during use
SOLUTION:
- a. (Note: Correcting this problem requires a small amount of white marine grease, available at hardware stores.) Turn the Resistance Knob (109) counterclockwise and remove it. Next, remove the Resistance Cone (108) and the Upper Body Arm (24), along with the Resistance Plate (27), Washers (5), Spring Washer (111), Thrust Washers (112), and Thrust Bearing (113). (Note: If the Resistance Sleeve [107] or the Resistance Plate [27] comes out of the Resistance Bracket [105] or the Resistance Cone [108], press it back in.) Apply a thin layer of white marine grease to the outer surface of the Resistance Cone (107). Then, reattach all parts in the order shown at the right.
FOR MORE MANUALS BY PROFORM, VISIT MANUALSLIBRARYY
ProForm Crosswalk 831296230 Treadmill Exerciser-FAQs
How do I put my ProForm treadmill in manual mode?
Hold down the Bluetooth/iFIT button for 30 seconds to bypass iFIT activation. This switches the treadmill to manual mode, allowing you to use onboard workouts.
How do I reset my ProForm treadmill?
Unplug the treadmill from the power outlet.
Wait 5 minutes, then plug it back in.
If available, press and hold the reset button for 5 seconds.
How do I troubleshoot a ProForm treadmill that won’t turn on?
Check the power outlet and cord connection.
Ensure the safety key is inserted properly.
Test the outlet with another device.
If unresolved, inspect the motor controller or speed sensor.
Can I use the ProForm treadmill without an iFIT subscription?
Yes! Press the green start button to use it in manual mode, but some features (like workout tracking) may be limited.
How do treadmill speed and incline settings work?
2–4 mph: Walking
4–5 mph: Fast walk/light jog
5+ mph: Running
Incline: Adjusts to simulate hills (higher numbers = steeper incline).
How do I store my treadmill properly?
Place it on a treadmill mat to reduce dust and vibrations.
Keep it in a dry, cool area to prevent moisture damage.
Can I run on a manual treadmill?
Manual treadmills are best for walking due to shorter belts and no motor assistance. For running, choose a motorized or curved-belt treadmill.
How do I control speed on a manual treadmill?
Increase speed: Push the belt harder with your steps.
Decrease speed: Reduce step force gradually.
Does ProForm have Bluetooth for music?
Yes! Some models support Bluetooth headphones and have built-in speakers for wireless audio streaming.









