![]()
ProForm PFEX33790 Silent Magnetic Resistance
IMPORTANT PRECAUTIONS
WARNING: To reduce the risk of serious injury, read the following important precautions before using the PROFORM¨ 965R.
- Read all instructions in this manual before using the 965R.
- It is the responsibility of the owner to ensure that all users of the 965R are adequately informed of all precautions. Use the 965R only as described in this manual.
- Use the 965R indoors on a level surface. Keep the 965R away from moisture and dust. Place a mat under the 965R to protect the floor or carpet.
- Inspect and tighten all parts regularly. Replace any worn parts immediately.
- Keep children under the age of 12 and pets away from the 965R at all times.
- The 965R should not be used by persons weighing more than 250 pounds.
- Wear appropriate clothing when exercising; do not wear loose clothing that could become caught on the 965R. Always wear athletic shoes when using the 965R.
- Always keep your back straight when using the 965R. Do not arch your back.
- If you feel pain or dizziness at any time while exercising, stop immediately and begin cooling down.
- The 965R is intended for in-home use only. Do not use the 965R in a commercial, rental, or institutional setting.
- CAUTION DECAL PLACEMENT: The decal shown below has been placed on the 965R. If the decal is missing or if it is not legible, please call our Customer Service Department toll-free at 1-800-999-3756 to order a free replacement decal. Apply the decal in the location shown.
WARNING: Before beginning this or any exercise program, consult your physician. This is especially important for persons over the age of 35 or persons with pre-existing health problems. Read all instructions before using. ICON assumes no responsibility for personal injury or property damage sustained by or through the use of this product.
BEFORE YOU BEGIN
Thank you for selecting the innovative PROFORM¨ 965R. The PROFORM 965R offers a unique form of low-impact exercise that offers greater cardiovascular benefits and increased muscle toning. The 965R features adjustable resistance to let you tailor your exercise to the level thatÕs perfect for you. And when youÕre not exercising, the 965R can be folded for compact storage. For your benefit, read this manual carefully before you use the PROFORM 965R. If you have additional questions, please call our Customer Service Department toll-free at 1-800-999-3756, Monday
through Friday, 6 a.m. until 6 p.m. Mountain Time (excluding holidays). To help us assist you, please mention the product model number and serial number when calling. The model number is PFEX33790. The serial number can be found on a decal attached to the 965R (see the front cover of this manual for the location of the decal). Before reading further, please look at the drawing below and familiarize yourself with the parts that are labeled.
ASSEMBLY
Place all parts of the PROFORM¨ 965R in a cleared area and remove the packing materials. Do not dispose of the packing materials until assembly is completed. Assembly requires the included tools and your own adjustable wrench.
PART CHART
Use the part drawings below to identify the small parts used in assembly. The number in parentheses below each drawing refers to the key number of the part. The second number refers to the quantity used in assembly.
Note: Some small parts may have been pre-attached for shipping. If a part is not in the parts bag, check to see if it has been pre-assembled.
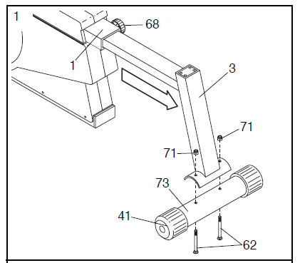
- Loosen the Lock Knob (68) on the right side of the 1 Frame (1). Slide the Seat Frame (3) out until it stops. Tighten the Lock Knob. Identify the Rear Stabilizer (73), which has Wheels (41) on the ends. Attach the Rear Stabilizer to the Seat Frame (3) with two M10 x 70mm Carriage Bolts (62) and two M10 Nylon Locknuts (71).

- Attach the Front Stabilizer (72) to the Frame (1) with two M10 x 70mm Carriage Bolts (62) and two M10 Nylon Locknuts (71).

- Attach the Upright (2) to the Frame (1) with three M10 x 25mm Button Screws (25) and three M10 Split Washers (26). Be careful not to pinch the Reed Switch Wire (13) or the Resistance Cable (10).

- Attach the Handlebar (4) to the Upright (2) with two M6 x 25mm Hex Screws (14) and two M6 Split Washers (67), but do not tighten the Screws yet. Make sure that the Screws are threaded into the indicated holes.
Note: Two additional Screws will be attached in step 6.
- Connect the Reed Switch Wire (13) to the wire on the Console (8). Next, attach the Console (8) to the Upright (2) with four #8 x 5/8″ Screws (22). Press the Resistance Knob (9) onto the Resistance Control (10). Be sure that the mark on the Knob is correctly aligned.

- Finish attaching the Handlebar (4) to the Upright (2) with two additional M6 x 25mm Hex Screws (14) and M6 Split Washers (67). Tighten all four Hex Head Screws.

- Attach the Seat Bracket (69) to the Seat Frame (3) with four M6 x 48mm Button Bolts (70) and four M6 Flat Washers (34).

- Attach the Seat (16) to the Seat Bracket (69) with four M6 x 16mm Phillips Screws (24).

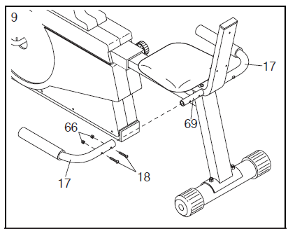
- Attach a Seat Handle (17) to the Seat Bracket (69) with two M6 x 34mm Button Bolts (18) and two M6 Nylon Locknuts (66). Attach the other Seat Handle (17) to the Seat Bracket (69) in the same manner.

- Attach the Backrest (15) to the Seat Bracket (69) with three M6 x 35mm Phillips Screws (49), and three M6 Flat Washers (34).

- Identify the Left Pedal (45); there is an “L” on the Left Pedal for identification. Using an adjustable wrench, tighten the Left Pedal counterclockwise into the left arm of the Crank (29). Tighten the Right Pedal (not shown) clockwise into the right arm of the Crank. Tighten both Pedals as fully as possible.
Important: After using the exercise cycle for one week, retighten the pedals. For best performance, the pedals must be kept properly tightened. Next, adjust the Pedal Strap (27) on the Left Pedal (45) to the desired position. Press the Pedal Strap onto the adjustment tab on the Left Pedal. Adjust the Pedal Strap on the Right Pedal (not shown) in the same way.
- The Console (8) requires either two or three “AA” batteries (not included); alkaline batteries are recommended. Open the battery cover (not shown) on the back of the Console. Press the batteries into the battery clip. Make sure that the negative (-) ends of the batteries are touching the springs. Close the battery cover.
Note: If the battery clip holds three batteries, you must insert three batteries
- Make sure that all parts are properly tightened before you use the PROFORM ¨ 965R. Note: Some hardware may be left over after assembly is completed.
HOW TO USE THE PROFORM¨ 965R
HOW TO ADJUST THE SEAT FRAME POSITION
The Seat Frame (3) can be adjusted to the position that is the most comfortable for you. To adjust the WSeat Frame, first loosen the Lock Knob (68) on the right side of the Frame (1). Slide the Seat Frame forward or backward to the desired position. Tighten the Lock Knob.

HOW TO ADJUST THE PEDAL STRAPS
To adjust each Pedal Strap (27), first pull the end of the Pedal Strap off the adjustment tab on the Pedal (45). Align a different hole in the Pedal Strap with the tab. Press the Pedal Strap onto the tab.

HOW TO ADJUST THE PEDALING RESISTANCE
The pedaling resistance can be adjusted with the Resistance Knob (9) located on the Console (8). To increase the resistance, turn the Resistance Knob clockwise; to decrease the resistance, turn the Resistance Knob counterclockwise.

DESCRIPTION OF THE CONSOLE
The console is designed to help you get the most from your workouts. As you exercise, you can watch your progress around the LED track, while the display provides continuous exercise feedback. The modes of the display are described below.
- Speed-This mode displays your pedaling speed, in miles per hour.
- Time-This mode displays the elapsed time.
Note: If you stop exercising, the time mode will pause. - Distance-This mode displays the total distance you have pedaled, in miles.
- Laps-This mode displays the number of 1/4-mile laps you have completed around the LED track.
- Calorie-This mode displays the approximate number of Calories you have burned.
- Scan-This mode displays the speed, time, distance, laps and calorie modes, for 5 seconds each, in a repeating cycle.

BATTERY INSTALLATION
Before the console can be operated, two “AA” batteries must be installed (see assembly step 12 on page 8).
HOW TO OPERATE THE CONSOLE
If there is a thin sheet of clear plastic on the face of the console, remove it.
- To turn on the power, press the on/reset button or simply begin pedaling. When the power is turned on, one LED indicator will light in the LED track, and the entire display will appear for two seconds. The console will then be ready for operation.
- Select one of the modes:
- Scan mode: When the power is turned on, the scan mode will automatically be selected. One mode indicator will show that the scan mode is selected, and a flashing mode indicator will show which mode is currently displayed.
Note: If a different mode is selected, you can select the scan mode again by repeatedly pressing the mode button. Speed, time, distance, laps or
- calorie mode- To select one of these modes for continuous display, press the mode button repeatedly. The mode indicators will show which mode is selected. (Make sure that the scan mode is not selected.)

- Scan mode: When the power is turned on, the scan mode will automatically be selected. One mode indicator will show that the scan mode is selected, and a flashing mode indicator will show which mode is currently displayed.
- The LED track represents a distance of 1/4 mile. As you exercise, the indicators around the track will light one at a time until you have completed 1/4 mile. A new lap will then begin.
- To reset the display, press the on/reset button.
- To turn off the power, simply wait for about four minutes. The console has an Ò
- “auto-off” feature. If the pedals are not moved and the console buttons are not pressed for four minutes, the power will turn off automatically in order to conserve the batteries.
MAINTENANCE AND STORAGE
Inspect and tighten all parts of the PROFORM¨ 965R regularly. The 965R can be cleaned with a soft, damp cloth. To prevent damage to the console, keep liquids away from it and keep the console out of direct sunlight. For best performance, the pedals must be kept properly tightened. Regularly tighten both pedals.
BATTERY REPLACEMENT
If the console does not function properly, the batteries should be replaced. To replace the batteries, refer to assembly step 12 on page 8.
CRANK ADJUSTMENT
If the arms of the Crank (29) become loose, they should be tightened in order to prevent excessive wear. Loosen the crank nut on the left arm of the Crank. Place the end of a standard screwdriver in one of the slots in the slotted bearing nut. Lightly tap the screwdriver with a hammer to turn the slotted bearing nut counterclockwise until the arms are no longer loose. Do not overtighten the slotted bearing nut. When the slotted bearing nut is properly tightened, tighten the crank nut.
HOW TO STORE THE PROFORM¨ 965R
When the PROFORM ¨ 965R is not in use, the Seat Frame (3) can be adjusted to the storage position. First, loosen the Lock Knob (68) on the right side of the Frame (1). Slide the Seat Frame (3) into the Frame as far as possible. Tighten the Lock Knob. Store the PROFORM¨ 965R indoors, away from moisture and dust.
CONDITIONING GUIDELINES
The following guidelines will help you to plan your exercise program. Remember that proper nutrition and adequate rest are essential for successful results.
WARNING: Before beginning this or any exercise program, consult your physician. This is especially important for individuals over the age of 35 or individuals with preexisting health problems.
WHY EXERCISE?
Exercise has proven essential for good health and general well-being. Regular participation in a well-rounded exercise program results in a stronger and more efficient heart, improved respiratory function, increased stamina and endurance, better weight management and body fat control, increased ability to deal with stress, and greater self-esteem and confidence.
EXERCISE INTENSITY
To maximize the benefits of exercising, it is important to exercise with the proper intensity. The proper intensity level can be found by using your heart rate as a guide. For effective aerobic exercise, your heart rate should be maintained at a level between 70% and 85% of your maximum heart rate as you exercise. This is known as your training zone. You can find your training zone in the table below. Training zones are listed according to age and physical condition. During the first few months of your exercise program, keep your heart rate near the low end of your training zone as you exercise. After a few months of regular exercise, your heart rate can be increased gradually until it is near the middle of your training zone as you exercise. To measure your heart rate, place two fingers on your wrist as shown. Stop exercising and take a six-second heartbeat count. Multiply the result by ten to find your heart rate. (A six-second count is used because your heart rate drops quickly when you stop exercising.) If your heart rate is too high, decrease the intensity of your exercise. If your heart rate is too low, increase the intensity of your exercise.
WORKOUT GUIDELINES
A well-rounded workout includes the following three phases:
- A warm-up phase, lasting 5 to 10 minutes. Begin with slow, controlled stretches, and progress to more rhythmic stretches. This will increase the body temperature, heart rate, and circulation in preparation for strenuous exercise.
- A cardiovascular phase, including 20 to 30 minutes of exercising with your heart rate in your training zone. A cool-down phase, consisting of 5 to 10 minutes of stretching. Thorough stretching offsets muscle contractions and other problems caused when you stop exercising suddenly. Stretching for increased flexibility is often most effective during this phase. This phase should leave you relaxed and comfortably tired.
- To maintain or improve your condition, complete three workouts each week, with at least one day of rest between workouts. After a few months of regular exercise, you may complete up to five workouts each week, if desired. Find the best time of day for your workouts, and then stick with it. Remember, the key to success is to make exercise a regular and enjoyable part of your everyday life.

EXERCISE FREQUENCY
To maintain or improve your condition, plan three workouts each week, with at least one day of rest between workouts. After a few months of regular exercise, you may complete up to five workouts each week, if desired. Caution: Be sure to progress at your own pace and avoid overdoing it. Incorrect or excessive training may result in injury to your health. Remember, the key to success is to make exercise a regular and enjoyable part of your everyday life.
SUGGESTED STRETCHES
The correct form for several basic stretches is shown at the right. Move slowly as you stretch-never bounce.
- Toe Touch Stretch
Stand with your knees bent slightly and slowly bend forward from your hips. Allow your back and shoulders to relax as you reach down toward your toes as far as possible. Hold for 15 counts, then relax. Repeat 3 times. Stretches: Hamstrings, back of knees, and back. - Hamstring Stretch
Sit with one leg extended. Bring the sole of the opposite foot toward you and rest it against the inner thigh of your extended leg. Reach toward your toes as far as possible. Hold for 15 counts, then relax. Repeat 3 times for each leg. Stretches: Hamstrings, lower back, and groin. - Calf/Achilles Stretch
With one leg in front of the other, reach forward and place your hands against a wall. Keep your back leg straight and your back foot flat on the floor. Bend your front leg, lean forward, and move your hips toward the wall. Hold for 15 counts, then relax. Repeat 3 times for each leg. To cause further stretching of the Achilles tendons, bend your back leg as well. Stretches: Calves, achilles tendons, and ankles. - Quadriceps Stretch
With one hand against a wall for balance, reach back and grasp one foot with your other hand. Bring your heel as close to your buttocks as possible. Hold for 15 counts, then relax. Repeat 3 times for each leg. Stretches: Quadriceps and hip muscles. - Inner Thigh Stretch
Sit with the soles of your feet together and your knees outward. Pull your feet toward your groin area as far as possible. Hold for 15 counts, then relax. Repeat 3 times. Stretches: Quadriceps and hip muscles.
ORDERING REPLACEMENT PARTS
To order replacement parts, call our Customer Service Department toll-free at 1-800-999-3756, Monday through Friday, 6 a.m. until 6 p.m. Mountain Time (excluding holidays). To help us assist you, please be prepared to give the following information:
- The MODEL NUMBER of the product (PFEX33790)
- The NAME of the product (PROFORM¨ 965R)
- The SERIAL NUMBER of the product (see the front cover of this manual)
- The KEY NUMBER and DESCRIPTION of the part(s) (see the PART LIST on page 14 of this manual).
LIMITED WARRANTY
ICON Health & Fitness, Inc. (ICON), warrants this product to be free from defects in workmanship and material, under normal use and service conditions, for a period of ninety (90) days from the date of purchase. This warranty extends only to the original purchaser. ICON’s obligation under this warranty is limited to replacing or repairing, at ICON’s option, the product through one of its authorized service centers. All repairs for which warranty claims are made must be pre-authorized by ICON. This warranty does not extend to any product or damage to a product caused by or attributable to freight damage, abuse, misuse, improper or abnormal usage or repairs not provided by an ICON authorized service center, products used for commercial or rental purposes, or products used as store display models. No other warranty beyond that specifically set forth above is authorized by ICON. ICON is not responsible or liable for indirect, special or consequential damages arising out of or in connection with the use or performance of the product or damages with respect to any economic loss, loss of property, loss of revenues or profits, loss of enjoyment or use, costs of removal, installation or other consequential damages of whatsoever nature. Some states do not allow the exclusion or limitation of incidental or consequential damages. Accordingly, the above limitation may not apply to you. The warranty extended hereunder is in lieu of any and all other warranties and any implied warranties of merchantability or fitness for a particular purpose is limited in its scope and duration to the terms set forth herein. Some states do not allow limitations on how long an implied warranty lasts. Accordingly, the above limitation may not apply to you. This warranty gives you specific legal rights. You may also have other rights that vary from state to state. ICON HEALTH & FITNESS, INC., 1500 S. 1000 W., LOGAN, UT 84321-9813
For more manuals by ProForm, visit ManualsLibraryy
ProForm PFEX33790 Silent Magnetic Resistance-FAQs
What is silent magnetic resistance?
Silent magnetic resistance uses magnets (not physical contact) to create resistance against the flywheel. As you pedal, the flywheel disrupts the magnetic field, generating smooth, quiet resistance without friction or wear.
How do I increase resistance on my ProForm bike?
Turn the resistance knob clockwise to increase difficulty.
For digital models, press the “+” button or adjust via the console.
Why is my ProForm bike not turning on?
Check the power outlet and ensure the cord is securely plugged in.
Insert the safety key properly.
If using batteries, replace them.
How do I contact ProForm customer service?
Phone: 1-888-742-0128
Email: [email protected]
Live Chat: Available on ProForm’s website.
Does the ProForm bike need to be plugged in?
No—most ProForm bikes do not require an outlet. They operate manually, powered by pedaling. Some models need batteries for the console display.
Why is my magnetic resistance not working?
Possible causes:
Loose magnets (tighten screws).
Faulty wiring (contact support).
Console malfunction (reset or check batteries).
How do I reset my ProForm bike?
Unplug the bike (if applicable).
Wait 5 minutes.
Reconnect power or reinsert batteries.
Hold the iFit button (if available) for 30 seconds.
Is magnetic resistance better than friction resistance?
✅ Yes! Benefits include:
Silent operation (no friction noise).
Smoother adjustments.
No wear & tear (longer lifespan).
How do I maintain my ProForm bike?
Wipe down after use.
Check bolt tightness monthly.
Lubricate the flywheel if squeaking occurs.
What’s the warranty on ProForm bikes?
Frame: 10-year limited.
Parts: 1-year.
Labor: 90 days.

IMPORTANT PRECAUTIONS















