
QSC K12 K2 Series Two-Way Active Loudspeakers

IMPORTANT SAFETY INSTRUCTIONS
WARNING: TO PREVENT FIRE OR ELECTRIC SHOCK, DO NOT EXPOSE THIS EQUIPMENT TO RAIN OR MOISTURE. DO NOT USE THIS APPARATUS NEAR WATER.
- Read these instructions.
- Keep these instructions.
- Heed all warnings.
- Follow all instructions.
- Do not use this apparatus near water.
- Clean only with a dry cloth.
- Do not block any ventilation opening. Install according to the manufacturer’s instructions.
- Do not install near any heat sources such as radiators, heat registers, stoves, or other apparatus (including amplifiers)that produce heat.
- Do not defeat the safety purpose of the polarized or grounding‑type plug. A polarized plug has two blades, with one wider than the other. A grounding-type plug has two blades and a third grounding prong. The wide blade or the third prong is provided for your safety. If the provided plug does not fit into your outlet, consult an electrician for replacement of the obsolete outlet.
- Protect the power cord from being walked on or pinched, particularly at plugs, convenience receptacles, and the point where they exit from the apparatus.
- Only use attachments/accessories specified by the manufacturer.
- Unplug this apparatus during lightning storms or when unused for long periods.
- Refer all servicing to qualified service personnel. Servicing is required when the apparatus has been damaged in any way, such as the power‑supply cord or plug is damaged, liquid has been spilled, objects have fallen into the apparatus, the apparatus has been exposed to rain or moisture, does not operate normally, or has been dropped.
- The appliance coupler, or the AC Mains plug, is the AC mains disconnect device and shall remain readily operable after installation.
- Adhere to all applicable local codes.
- To prevent electrical shock, the power cord shall be connected to a mains socket outlet with a protective earthing connection.
- Consult a licensed, professional engineer when any doubts or questions arise regarding a physical equipment installation.
- Do not use any aerosol spray, cleaner, disinfectant, or fumigant on, near, or into the apparatus. Clean only with a dry cloth.
- Do not unplug the unit by pulling on the cord; use the plug.
- Do not submerge the apparatus in water or liquids.
- Keep the ventilation opening free of dust or other matter.
Warranty
For a copy of the QSC Limited Warranty, visit the QSC website at www.qsc.com
Maintenance and Repair
WARNING: Advanced technology, e.g., the use of modern materials and powerful electronics, requires specially adapted maintenance and repair methods. To avoid the danger of subsequent damage to the apparatus, injuries to persons, and/or the creation of additional safety hazards, all maintenance or repair work on the apparatus should be performed only by a QSC authorized service station or an authorized QSC International Distributor. QSC is not responsible for any injury, harm, or related damages arising from any failure of the customer, owner, or user of the apparatus to facilitate those repairs.
Life Cycle: 10 years, Storage Temperature range: -20C to +70C, Relative Humidity range: 5 – 85% RH
FCC Statement
NOTE: This equipment has been tested and found to comply with the limits for a Class B digital device, under Part 15 of the FCC Rules.
These limits are designed to provide reasonable protection against harmful interference in a residential installation. This equipment generates, uses, and can radiate radio frequency energy and, if not installed and used under the instructions, may cause harmful interference to radio communications. However, there is no guarantee that interference will not occur in a particular installation. If this equipment does cause harmful interference to radio or television reception, which can be determined by turning the equipment off and on, the user is encouraged to try to correct the interference by one or more of the following measures:
- Reorient or relocate the receiving antenna.
- Increase the separation between the equipment and receiver.
- Connect the equipment to an outlet on a circuit different from that to which the receiver is connected.
- Consult the dealer or an experienced radio/TV technician for help.
Package Contents

Features
K8.2
- ABS enclosure
- Steel grille
- Front power LED
- Cast aluminum handle
- Power module
- M10 installation points
- M8 yoke-attachment points
- 7.5° Downward-tilt pole socket
- Vertical pole socket
- Pull-back ring
- Slip-resistant feet for floor monitor applications
- Angled back for use as a stage monitor

K10.2
- ABS enclosure
- Steel grille
- Front power LED
- Cast aluminum handles
- Power module
- 10 installation points
- M8 yoke attachment points
- 7.5° Downward-tilt pole socket
- Vertical pole socket
- Pull-back ring
- Slip-resistant feet
- Angled back for use as a stage monitor

K12.2
- ABS enclosure
- Steel grille
- Front power LED
- Cast aluminum handles
- Power module
- M10 installation points
- M8 yoke attachment points
- 7.5° Downward-tilt pole socket
- Vertical pole socket
- Pull-back ring
- Slip-resistant feet
- Angled back for use as a stage monitor

Applications

The K.2 Series has been primarily designed for portable audio reinforcement. This includes a variety of uses in reinforcement for entertainers and presenters. All are designed to perform well on their own in full-range audio. They can be used singly, in stereo pairs, or in distributed or delayed systems. They perform extraordinarily well as both main reinforcement systems and as floor monitors, as shown in Figure 4. All three models are equipped with two 35 mm pole sockets that allow use on a speaker stand or on a pole over a subwoofer. (The subwoofer must have a 35 mm pole socket capable of supporting the loudspeakers.) One socket is for vertical mounting, the other for tilting the enclosures down 7.5 degrees. (Refer to Figure 5) In addition, the K.2 Series has features designed for various suspension methods. They feature two M10 threaded inserts for suspension with eyebolts and a built-in pull-back ring. There are also yoke accessories (model numbers: K8.2 YOKE, K10.2 YOKE, K12.2 YOKE) for each model that can be mounted either to the sides of the cabinet or to the top and bottom. These yokes allow for rigid mounting to structures and rotation of the speaker system. (Refer to Figure 6 and Figure 7)
Installation
WARNING!: Before placing, installing, rigging, or suspending any speaker product, inspect all hardware, suspension, cabinets, transducers, brackets, and associated equipment for damage. Any missing, corroded, deformed, or non-load-rated component could significantly reduce the strength of the installation or placement. Any such condition severely reduces the safety of the installation and should be immediately corrected. Use only hardware that is rated for the loading conditions of the installation and any possible short-term, unexpected overloading. Never exceed the rating of the hardware or equipment. Consult a licensed, professional engineer regarding physical equipment installation. Ensure that all local, state, and national regulations regarding the safety and operation of loudspeakers and related equipment are understood and adhered to.
Deployment
The K.2 Series loudspeakers were designed to sit on the floor, stage, a subwoofer enclosure, be suspended, or be pole mounted on a 35 mm diameter loudspeaker support pole. If you are going to pole-mount a subwoofer, refer to the chart below for specifics.
WARNING!: Do not use a loudspeaker support pole longer than the lengths specified in the table below when supported by a subwoofer.
Integrated Suspension Points (suspended installations)

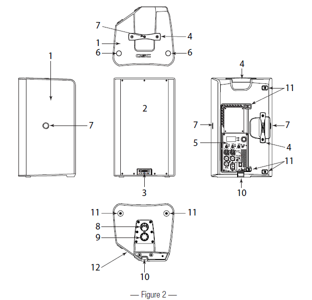
Refer to TD-000289 for M10 eye bolt installation. The K8.2, K10.2, and K12.2 enclosures each feature two load-rated M10 installation points and a built-in pull-back ring. As shipped from the factory, each pick point has an adhesive cover installed to retain the sleek look of the enclosure. These installation points are designed for use with the eyebolts included in the available accessory kit, model number M10 Kit-C. The installation points may also be used with any forged shoulder eyebolt with an M10 thread, provided the length of the thread is no more than 0.8 inch (20 mm).
WARNING!: Make sure all suspension-point fasteners are installed and correctly tightened to maintain the enclosure’s rated strength.
Consult a licensed, professional engineer when any doubts or questions arise regarding a physical equipment installation. The K.2 Series loudspeakers each have two M10 suspension points and one pull-back ring.
- M10 suspension points
- Pull-back ring
Cooling
This is a powered loudspeaker containing an internal power amplifier that produces heat. Allow a minimum of 6″ (152 mm) clearance at the cabinet back for convection cooling. Keep anything that might restrict airflow away from the rear of the enclosure (i.e, draperies, walls, etc.)
CAUTION!: Do not install enclosures with their rear panels exposed to direct sunlight. Direct sunlight will heat the amplifier module and reduce its ability to produce full output. Install sunshades if needed. Maximum ambient temperature for full performance to specification is 50° C (122° F). Do not install enclosures where exposed to rain or other water sources. The enclosure is not weatherproof. Outdoor installations must protect from the elements.
AC Mains
(Refer to Figure 10)
Connect the AC power cord to the IEC socket on the back of the amplifier. Make sure the plug is fully inserted into the IEC socket on the power amplifier module.
NOTE: Make sure that the AC power switch is in the OFF position before connecting the AC power cord to the AC source.
Connect the AC Power cord to the facility’s AC outlet. The V-LOCK power cord has a special latching feature to prevent the power cord from being unintentionally removed. The IEC plug and socket are both blue, so the power cord can be identified as a K.2 Series loudspeaker cord. If the QSC-supplied cord is lost or damaged, a standard 18-gauge IEC power cord may be used. However, the latching system works only with a V-LOCK power cord. Available from QSC. The K.2 Series loudspeakers are equipped with a universal power supply that can use input AC power voltages ranging from 100 – 240 VAC at 50 – 60 Hz.
WARNING!: Use only the power cable that is correct for your location.
AC Mains Disconnection
Push in on the bottom of the rocker switch to turn the powered loudspeaker off. Unplug the AC cable from the power source. To remove the AC mains cord from the amplifier, grasp the IEC connector’s plastic body, press the yellow latch release button, and pull.
Power Switch
Push in on the top of the rocker switch to apply AC mains power to the amplifier. When power is applied to the amplifier, the blue POWER indicator LED illuminates.
Rear LED POWER Indicator
The blue LED POWER indicator on the rear panel will illuminate when the AC Power is applied. The rear LED POWER indicator will extinguish when the AC Power has been removed. If the rear LED POWER indicator does not illuminate within the first 3 minutes after power is applied, verify that the AC mains line cord is properly attached to the loudspeaker and plugged into the AC outlet. Verify the outlet is functioning properly.
NOTE: If the AC mains cord is usable and the AC mains outlet is operating properly, but the unit fails to operate, the loudspeaker may require servicing. Contact QSC’s Technical Services department.
System Power Sequencing
Proper power turn-on/turn-off sequencing can help to prevent unexpected sounds from being produced by the system (pops, clicks, thumps). Always follow the rule that speakers are “last on, first off”. Power On Sequence: Bring the output level control of the mixer (or other audio source) feeding your speakers to its minimum position. Turn on all source devices (CD players, mixers, instruments), turn on the subwoofer, then turn on the “topboxes” (K8.2, K10.2, and K12.2). The level controls on your mixer may now be brought up.
Power Off Sequence: Turn off “top boxes,” turn off the subwoofer, then turn off all source devices. If a K.2 Series speaker is being driven from the output of another K.2 Series unit, it should be turned on after the unit feeding it a signal and turned off before the unit feeding it a signal.
Block Diagram

Inputs
The K.2 Series amplifier has three separate inputs: two combination XLR / 1/4” Phone Jack (Inputs A and B) and one 1/8” (3.5 mm) TRS jack (Input C). Refer to Figure 12
- Input A
- SIG LED – When illuminated (green), it indicates a signal is present. If this LED is not illuminated, the input signal is missing or too low to detect.
- MIC LED – When illuminated (yellow), it indicates the input is configured to accept a microphone input. When not illuminated, it indicates the input is configured for a line‑level input. You can change the setting through the Menu. When MIC is selected, the MIC Pre-amp is activated, and the yellow MIC level LED illuminates. The MIC setting should only be used if a microphone is connected directly to the MIC/LINE input. Note that the input does not provide phantom power.
- GAIN knob – Sets the sensitivity of Input A, which controls the signal level sent to the amplifier and the MIX OUT (POST GAIN) output.
- Combination XLR – 1/4” Phone Jack connector. Balanced XLR and 1/4” input. Accepts line-level or MIC-level inputs. Select MIC or Line through the Menu.
CAUTION! The MIC setting should only be used if a microphone is connected directly to the MIC/LINE input. Using the MIC setting for line-level may introduce distortion. Use caution when changing to the MIC selection in the Menu, as the output level increases significantly when MIC is selected.
- Input B
- GAIN knob – Sets the sensitivity of Input B, which controls the signal level sent to the amplifier and the MIX OUT (POST GAIN) output.
- SIG LED – When illuminated (green), it indicates a signal is present. If this LED is not illuminated, the input signal is missing or too low to detect.
- HI-Z LED – When illuminated (yellow), it indicates the input is configured to accept a high impedance input, typically a musical instrument. When not illuminated, it indicates the input is configured for a line-level input. You can change the setting through the Menu.
- Combination XLR – 1/4” Phone Jack connector. Balanced XLR and 1/4” input. Accepts line-level and high Impedance inputs. Select line level or high impedance through the Menu.
- Input C
- GAIN knob – Sets the sensitivity of Input C, which controls the signal level sent to the amplifier and the MIX OUT (POST GAIN) output.
- SIG LED – When illuminated (green), it indicates a signal is present. If this LED is not illuminated, the input signal is missing or too low to detect.
- Stereo 1/8” (3.5 mm) TRS connector – Accepts line-level stereo input. Stereo input received at Input C is summed to mono.
- LIMITER LED – Illuminates (red) when the built-in limiter is activated to protect and avoid damage to the amplifier or loudspeaker. If the signal level at any frequency is too high or the amplifier is too hot, the limiter is activated and the LED is illuminated.
- POWER LED – Illuminates (blue) when power is applied to the unit and the ON/OFF switch is in the ON position.
NOTE: Unless the gain controls of all active inputs are set to 0 dB, the output signal from the MIX OUT (POST GAIN) will not be at the same level as the input signal. If a “slave” speaker is intended to be played back at the same level as the “master” speaker, the gain control on the “slave” speaker should be set to 0 dB.
Outputs
- Channel B pass-through output connector. The signal here is the same as the input signal on Channel B. Use this to daisy-chain loudspeakers or to provide the signal to other audio equipment.
- Channel A pass-through output connector. The signal here is the same as the input signal on Channel A. Use this to daisy-chain loudspeakers or to provide the signal to other audio equipment.
- MIX OUT (Post Gain) output XLR is a mix of Channels A, B, and C. The line-level output signal is Post Gain. Any adjustments made to the gain of any of the three channels affect this output signal. This output does not contain any DSP processing.
CAUTION!: Do not connect the MIX OUT (Post Gain) of a K.2 Series loudspeaker to any INPUT of the same unit. This output is designed to send the mixed signal to OTHER K.2 Series units or other audio equipment.
K.2 Series Menu
The K.2 Series loudspeakers provide a multi-function digital display for control and selection of loudspeaker functions
including presets, scenes, cross-over, EQ, delay, and frequency contour.
Display Introduction
- Home Screen – Displays input types (MIC, Line, HI-Z) for channels A and B, and main functionality headings. Light background with black text indicates the item is selected.
- Exit, or go back button – press to return to the previous screen or menu level.
- Enter button – confirm a selected parameter or open the selected menu item.
- Selector knob – move to another menu item, or change a selected parameter.
- Left side, Home screen displays the parameter name.
- The right side of the Home screen displays the current state of the parameter.

Navigation Example:
To select a Preset:
- Turn the Selector knob (4) clockwise to highlight the PRESET line.
- Press the Enter button (3) to access the PRESET submenu.
- Turn the Selector knob (4) clockwise or counterclockwise as needed to highlight the PRESET you wish to recall.
- Press the Enter button (3) to recall the PRESET. A small triangle displays next to the recalled (active) PRESET.
- Press the Exit button (2) to return to the Home screen.
Menu Map

Menu Listing

Specifications

NOTE: Specifications subject to change without notice.
QSC Self-Help Portal
Read knowledge base articles and discussions, download software and firmware, view product documents and training videos, and create support cases. https://qscprod.force.com/selfhelpportal/
Customer Support
Refer to the Contact Us page on the QSC website for Technical Support and Customer Care, including their phone numbers and hours of operation. https://www.qsc.com/contact-us/
For more manuals by QSC, visit ManualsLibraryy
QSC K12 K2 Series Two-Way Active Loudspeakers- FAQs
What is the sound coverage angle of the QSC K12 speaker?
The QSC K12 and K12.2 speakers provide approximately 75° horizontal and vertical dispersion, delivering consistent sound across the audience area.
What is the peak power output of the QSC K2 series?
The K2 series loudspeakers, including the K12.2, offer up to 2000 watts of peak Class-D amplification, ensuring high headroom and powerful performance.
How many people can a QSC K12 speaker accommodate?
A single QSC K12 speaker is suitable for events with around 100 to 150 people, depending on the venue and setup.
What is the impedance of the K2 series loudspeaker components?
The K2 speaker uses a 3-way active design: two LF drivers and one MF driver at 8 ohms, and one HF driver at 16 ohms.
Is higher wattage always better for speakers?
Not necessarily. While higher wattage can increase volume, sound quality also depends on speaker design, driver sensitivity, and room acoustics. Bigger isn’t always better—match your system to your needs.
How much wattage do I need for speakers?
For most outdoor or large events, 50 to 100 watts per speaker is typically sufficient. For professional setups like the K2 series, 2000 watts peak power offers excellent clarity and volume.
How do I choose the right speaker wattage for my system?
To protect your gear and ensure quality sound, your speaker wattage should ideally be double the amplifier’s output. This prevents distortion or damage from power spikes.
How is speaker loudness measured?
Speaker loudness is measured in decibels (dB). The higher the decibel rating, the louder the speaker can get. Always check a speaker’s dB rating for a better idea of output capability.





