
SMEG TSF02 Retro Style 4 Slice Toaster

Important Safety Instructions
Follow all safety instructions to use the appliance safely.
- Read this user manual carefully before using the appliance.
- To protect against electric shock, do not immerse the appliance, the power cord, or the plug in water or any other liquid.
- Do not use the appliance when the power cord or the plug is damaged or after the appliance malfunctions, or when the appliance has fallen or is damaged in any manner. Return
Appliance to the nearest authorized service facility for examination, repair, or adjustment. - Do not place the appliance on or near a burning gas or an electrical stove or in a heated oven.
- The cord is short to prevent accidents. Do not use an extension cord.
- Do not let the cord hang over the edge of the table or counter or touch hot surfaces.
- In case of a fault, repairs should only be carried out by a qualified engineer.
- Unplug from the outlet when not in use and before cleaning. Allow it to cool before putting on or taking off parts, and before cleaning the appliance.
- Never try to put out a fire or flames with water: turn off the appliance, remove the plug from the socket, and smother the
Flames with a fire blanket or any other appropriate means. - Do not modify this appliance.
- Do not try to repair the appliance yourself or without the intervention of a qualified engineer.
- If the power supply cable is damaged, contact technical support immediately.
- The use of accessory attachments not recommended by the appliance manufacturer may cause injuries.
- Extreme caution must be used when moving the appliance if the crumb tray contains hot oil or other hot liquids.
Description
Product description

- Extra-wide slots with self-centering racks
- Breadlift
- Control panel
- Crumb tray
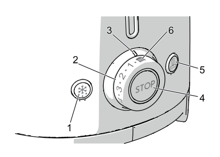
Control panel

- Defrost function button: This function is useful when using frozen bread. During toasting, the defrost button will light up to indicate that the cycle is activated.
- Browning control knob: This control is used to select one of the 6 different browning levels or the Reheat function. During toasting, the central LED lights up to indicate that the toasting cycle is activated.
- Browning indicator: The Browning indicator shows the selected Browning level or the selected Reheat function.
- Stop function button: The Stop button can be used to cancel or
stop the toasting cycle at any time. - Bagel function button: This feature will toast one side of a bagel or any other kind of bread, without toasting the other side. During the toasting of the Bagel button will light up to indicate that the function has been activated.
- Reheat function: This function is used to reheat cold toast or
to continue a toasting cycle if the result is not satisfactory. During toasting, the central LED lights up to indicate that the cycle is activated.
Use
- Do not use an extension cord. If the power supply cord is too short, have a qualified electrician or serviceman install an outlet near the appliance.
- A short power supply cord (or detachable power supply cord) should be used to reduce the risk resulting from becoming entangled in or tripping over a longer cord.
- Longer detachable power supply cords or extension cords are available and may be used if care is exercised in their use. If a longer detachable power supply cord or extension cord is used:
- The marked electrical rating of the cord set or extension cord should be at least as great as the electrical rating of the appliance.
- The cord should be arranged so that it will not drape over the countertop or tabletop where it can be pulled on by children or tripped over unintentionally.
- If the appliance is of the grounded type, the extension cord should be a grounding-type 3-wire cord.
Before first use
- Remove all stickers and any packing or printed material that might have fallen inside during shipping or handling. Do not probe inside the toaster with a metal object.
- Clean the outside of the toaster with a damp cloth.
- Use the toaster for the first time without any bread in it.
- Turn the browning control to the maximum position and press the breadlift down. In this way, you will burn off any dust that has fallen into the toaster during production or transport.
Operation
- If necessary, shorten the cord by wrapping it under the base.

- Plug in the toaster.
- Insert the bread in the slot. Remember that bread is not normally square; you may need to turn the bread on its side to get a better fit and optimize the toasting surface area.
- Choose the desired browning level (Browning levels 1 to 6, from light to dark) or the “Reheat function”

- Push the lever down until it clicks to activate the toasting cycle.

- If needed, select the additional functions Defrost or Bagel, or the two combined. The heating element is now activated. The bread will be centered in the breadlift automatically for toasting.
- The toasted bread will pop up automatically when the toast is ready.
- If the toast is not brown enough and requires just a little extra time, use the reheat button to extend the toasting time.
Special functions
Canceling/stopping the toasting cycle
At any time, it is possible to cancel or stop the toasting cycle by pushing the button.
Defrost: This function gently defrosts frozen bread and toasts it to the selected browning level. To activate it, insert the bread into the slot, select the desired browning level, press the breadlift down until it clicks, then push the defrost button, which will light up. Toasting
time will be automatically increased to allow the bread to defrost and brown correctly. When the toast pops up automatically, the light of the defrost button will switch off.
Bagel: This special function is ideal for toasting one side only, for bagels, flat bread, English muffins, baguettes, etc. To use the function, simply insert the bread into the slot with the side that you want toasted facing the outside. Select the desired browning level, press the breadlift down until it clicks, then push the Bagel function button, which will light up. When the bread is toasted, it will pop up automatically, and the Bagel function light will switch off.
Reheat: This function allows you to reheat cold toast or to continue a toasting cycle if the result is not satisfactory. To activate it, insert
the bread into the slot, select the Reheat function on the browning control knob and press the breadlift down until it clicks. The central light of the browning control knob will light up. When the toast is ready, it will pop up automatically and the light of the control knob will switch off.
Using optional accessories
Sandwich racks


How to use:
- Open the rack with the handles.
- Place the sandwich inside the rack.
- Close the sandwich rack handles together to grip the sandwich in the middle of the racks.

- Insert the sandwich rack into the slot and select a browning level. If a little more browning is required, you can use the
reheat button to extend the toasting time. - Push the breadlift down until it clicks to activate the toasting cycle.
- When the toasting cycle has ended, remove the sandwich rack from the toaster.
Bun Warmer

The bun warmer is used to warm small bread rolls, flat bread, or pastries.
How to use:
- Place the bun warmer on top of the toaster, making sure the wire feet on the bottom of the warmer fit into the toaster
slots. - Place small bread rolls, flat bread, or pastries on top of the warmer. Select a browsing level.
- Lower the breadlift until it clicks to activate the toasting cycle.

Cleaning and care
Maintenance
Any other servicing should be performed by an authorized service representative.
Cleaning the surfaces
To keep the surfaces in good condition, clean regularly after use. Let them cool first.
Ordinary daily cleaning
Never use products that contain abrasives or chlorine-based acids.
Pour the product onto a damp cloth and wipe the surface, then wipe over thoroughly and dry with a soft cloth or a microfiber cloth.
Food stains or residues
Do not use metallic sponges or sharp scrapers as they will damage the surfaces. Use ordinary non-abrasive products with the aid of wooden or plastic utensils if necessary. Wipe over thoroughly and dry with a soft cloth or a microfiber cloth.
Cleaning the crumb tray
- Push the Crumb Tray to unlock it, then pull to slide it out and empty it. The Crumb Tray should be emptied after each use.

- Put the Crumb Tray back in the toaster. Press it in firmly until it clicks into position. Do not use the toaster without the crumb tray.b
Tray in the proper position.
- Do not use any toaster cover.
Cleaning the optional sandwich rack and bun warmer
Wash the sandwich rack and bun warmer by hand in warm, soapy water. After washing, rinse them and dry them thoroughly with a soft cloth.
Troubleshooting
If your toaster should fail to operate, check the following:
- Check that the toaster is plugged into a grounded 3-prong electrical outlet. If it is, unplug the toaster.
- Plug in the toaster.
- If the toaster still does not work, check the household fuse or circuit breaker.
If the problem cannot be solved:
- See the Smeg Warranty and Service sections.
FOR MORE MANUALS BY SMEG, VISIT MANUALSLIBRARYY
SMEG TSF02 Retro Style 4 Slice Toaster-FAQs
Can I toast frozen bread in this toaster?
Yes! Use the defrost function to toast bread straight from the freezer.
Is the SMEG toaster worth the price?
✅ Pros:
Stylish retro design
Even toasting with auto-centering racks
Durable stainless steel construction
Easy-to-clean crumb tray
❌ Cons:
Higher price than basic toasters
Some users report slight uneven browning
How do I prevent uneven toasting?
Ensure bread is centered in the slots.
Adjust the browning level as needed.
Clean the heating elements regularly.
Can I use metal utensils to remove stuck toast?
❌ No! Metal can damage the heating elements. Use wooden or plastic tongs instead.
How long do SMEG toasters last?
With proper care, SMEG toasters typically last 6–8 years (longer than average toasters).
Where are SMEG toasters made?
All SMEG appliances are designed and manufactured in Italy.
What types of bread work best in this toaster?
Sourdough
Bagels
Artisan loaves
English muffins
Thin sandwich bread
Does the SMEG toaster automatically pop up?
Yes! It has an auto pop-up feature when toasting is complete.
Can I turn the toaster sideways for sandwiches?
❌ No! Tilting the toaster can cause uneven heating or fire hazards.






