
Tramontina 80901-103 45-Bottle Wine Cooler

PRODUCT INTRODUCTION

- Adjustable Electronic Thermostat with Digital Display
- LED Light and Power Control
- LED Interior Light
- Adjustable Wood Shelves
- Double Wood Shelf
- Adjustable Front Leveling Legs
- Double Pane Glass Door with Stainless Steel Frame
- Stainless Steel Handle
TRANSPORT
Use two or more people to move the wine and beverage center. Do NOT use a stainless steel handle to move or lift the unit.
VENTILATION SPACE
In order for the wine and beverage center to function efficiently, it MUST be placed in an adequately ventilated space to allow for heat dissipation. It is important to allow at least 2 inches (50 mm) of space on each side and above the unit, and 4 inches (100 mm) of space behind the unit.
The door requires approximately 22 inches (558 mm) of space in front of the wine and beverage center to open. To fully utilize the unit, space should be allowed for the door to open fully to 160º.
STABLE SURFACE
The wine and beverage center must be placed on a flat, stable surface. Adjust the unit’s front leveling legs to ensure quiet operation and prevent rattling when the compressor activates.
INSTALLATION
POWER SUPPLY
This wine cooler is equipped with a 115V/60Hz single-phase motor. If the power supply to the unit is subject to large fluctuations, it is strongly advised to utilize a wall-mounted power conditioner surge protection device to prevent damage to the electronic components and motor. The power plug is a standard grounded three-prong non-polarized flush mount, which allows for easier connection to power outlets. Power plug must be connected to the outlet directly, and never to an extension cord.
POWER CORD
Never shorten or lengthen the power cord. Do not fold or coil the power cord.
IMPORTANT – Never place the excess length of power cord into the compressor enclosure in the back of the wine cooler. This action creates a dangerous heat build-up which can melt the cord, cause an electrical hazard and may potentially cause a fire. Touching the power cord to the compressor at the back of the unit during operation can create an electrical hazard and damage the compressor.
If the power cord is damaged, it must immediately be replaced by a trained service provider, as special tools are required.
CLEAN BEFORE USE
To remove any manufacturing dust and residual odors, wipe the wine cooler inside and out with a damp cloth and a solution of baking soda and warm water (2 tbsp. baking soda to 1 qt. water). Wipe away any residual baking soda with a clean moist cloth. Allow to dry before operating. Periodically clean the wine cooler with a sponge or cloth moistened with mild soapy water, or baking soda and water.
PROTECT FROM MOISTURE
Heavy moisture in the environment can cause degradation to the insulation, as well as rust to the
cabinet, compressor and/or power supply. Do not spray the wine cooler with water.
PROTECT FROM HEAT
Place the wine cooler away from heat source or direct sun. The hotter the operating environment, the harder the compressor has to work to keep the contents cold, which will shorten the operating life. Do not cover the wine cooler with tarps or other items while operating, as this may cause overheating.
INSTALLATION
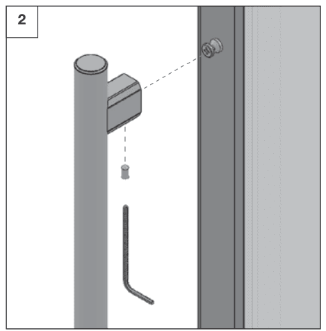
HANDLE INSTALLATION

- Locate the two mounting studs protruding from the exterior stainless steel door frame.

- Align the stainless steel handle door handle with the mounting studs. Make sure the holes in the mounting bracket are facing down.

- Insert the included set screws into the holes. Use the included Allen key to tighten both the top and
bottom mounts.
- Take care to not overtighten the set screws to prevent damage to the mount or door.
USING YOUR WINE COOLER
The wine cooler is designed for the storage of wine. After connecting the wine cooler to a wall outlet, you will immediately hear a short beep. Use the ∧ and ∨ buttons to set the set the desired temperature.
Fahrenheit range: 33º – 50ºF Celsius range: 1º – 10ºC.
NOTE: Press the “light” and “power” buttons simultaneously for two seconds to convert the thermostat
display between Fahrenheit and Celsius.
After setting the desired temperature, the thermostat displays the current temperature inside the wine cooler. As the cooler chills over several hours, the display adjusts to reflect the interior temperature. Allow the wine cooler to completely chill to the specified temperature prior to adding wine. To ensure proper cooling, do not overload the unit. Press and hold the “power” button for three seconds to turn the cooler off.
LED LIGHT
The LED automatically turns on and off each time the door is opened or closed.
STOCKING YOUR WINE COOLER
The wine cooler accommodates 45 standard wine bottles. To accommodate all 45 bottles, position the wood shelves and stock the wine as illustrated below. Due to air circulation, temperatures may vary slightly within the cooler. Typically, the upper shelves may exhibit warmer temperatures, while the lower shelves exhibit cooler temperatures.

SHUTDOWN
If the wine cooler will not be in use for a long period of time, disconnect it from the power outlet, clean the inside thoroughly, and leave the door open to prevent mildew.
SAFETY WARNING
The appliance is not intended for use by young children or infirm persons without supervision. Young children should be supervised to ensure that they do not play with the appliance. This wine cooler should not be positioned within a recessed or enclosed cabinet. It is designed for freestanding installation only. This unit is not designed to be installed in an RV, garage, or any outside installation. The surface of the compressor may become hot during normal operation. Do not touch it as this may cause injury.
OTHER DANGERS
Keep the wine cooler away from any combustible or volatile liquids or gases, including gasoline, oil, alcohol, paint, paint thinners and solvents. Such chemicals should never be stored in the unit.
CLEANING AND MAINTENANCE
It is important to periodically clean and maintain the wine cooler. When performing maintenance, make certain the unit is unplugged from the power outlet.
Wipe the inner and outer surfaces of the wine cooler clean with a damp cloth. If needed, use gentle detergent or a solution of baking soda and water. Remove any residue with clean water and a soft cloth, then dry with another cloth.
Once clean, you may use a common kitchen appliance wax on outer surfaces. Inspect, clean and maintain the rubber gasket around the door. A small amount of petroleum jelly applied to the bracket side of the gaskets will keep the gasket pliable and ensure a good seal.
LED LIGHT REPLACEMENT

TOOLS NEEDED: Phillips screwdriver and flashlight to illuminate the work area.
If the LED light is not illuminating, the light most likely needs to be replaced. A replacement LED light may be purchased from Tramontina by calling Tramontina’s Customer Service Department (800-221-7809).
NOTE: The replacement light is NOT available from home improvement, hardware or discount stores.
Removing the Existing LED Light
Unplug the wine cooler.
- To remove the clear plastic cover, press and slide towards the back of the cooler.
- Remove the center screw to release the LED light assembly.
- Gently unclip the power cable from the white socket.
Installing the Replacement LED Light
- Insert the power cable into the white socket.
- Reattach the LED light assembly to the top panel.
- Reattach the clear plastic cover by positioning it over the LED light and sliding toward the door.

TROUBLESHOOTING
| Problem | Recommended Adjustment |
| The wine cooler doesn’t work. | • Check for power failure. • Verify cooler is plugged into a power outlet. • Check if the control panel is on. • Check the home fuse box to determine if a fuse has blown. |
| A wine cooler is too cold. | • Adjust the thermostat to a higher number. |
| The wine cooler is not cooling sufficiently. | • Adjust thermostat to lower number. • Ensure the door is closed properly. • Door gaskets may be damaged. • The cooler may not have enough ventilation space around it. • Cooler in a hot area or in sunlight. • Something hot may have been placed in the cooler. • Overloading the wine cooler may block the circulation of cool air. |
| The wine cooler compressor runs for long periods. | • Hot weather and/or frequent door openings will force the cooler to work harder to keep cool. • Do not overload the wine cooler. • Do not put hot beverages in the wine cooler. |
| E or F is showing in the display. | • Contact Tramontina’s Customer Service Department for assistance. |
| Flashing H within the display and emitting buzzer alarm. | • Temperature in the cooler is too high. Press any key to cancel the alarm. Remove some bottles of wine to allow the cooler to properly chill. |
| Flashing L within the display. | • Temperature in the cooler is too low. |
| Wine cooler door does not close properly. | • Cooler may be tilted – adjust front legs to level unit. |
| Side panel of wine cooler is hot. | • The cooler has a pipe that heats up to remove condensation. Does not indicate a malfunction. • Usually happens when door is opened and closed frequently, or when operated in high temperature weather. Results from dissipation of heat from within the unit. Do not touch the panel. Does not indicate a malfunction. |
| Condensation forms along the seals or on the outside of the wine cooler. | • Condensation forms under situations of high humidity; does not indicate a failure. Wipe condensation with dry towel. |
| Sound of trickling water. | • This is the refrigerant flowing. Does not indicate a malfunction. |
| Buzzing sound. | • A buzzing noise is typically generated by the compressor when starting up or shutting down. |
| Odor. | • Cooler may require cleaning. |
SAFETY WARNINGS
DANGER – Risk of fire or explosion.
- Refrigerant is both flammable and poisonous.
- Do not puncture refrigerant tubing.
- Do not breathe in refrigerant.
- Cooler is to be repaired ONLY by trained service personnel.
- Consult this guide before attempting to service this product.
DISPOSAL
Dispose of the cooler in accordance with federal and local regulations. REMOVE THE WINE COOLER DOOR BEFORE DISPOSING UNIT.
1-YEAR LIMITED WARRANTY
This product is warranted by TRAMONTINA to be free of defects in material and workmanship for a period of one year from the date of the original purchase, provided the unit is used under normal operating conditions intended by the manufacturer. Any piece will be repaired or replaced at no charge with the same item or one of equal or better value if it is found to be defective under normal, noncommerical single-family household use and when cared for according to the manufacturer’s instructions. This warranty does not cover lost or stolen items, any food loss due to product failure, or defects caused by accidents, fire, flood, improper installation or abuse or misuse of the product, including but not limited to improper placement of item, outdoor use or neglect, alteration or use in commercial establishments.
For warranty inquiries, you must first contact TRAMONTINA’s Customer Service Department to receive instructions and/or return authorization. In most cases, our Customer Service Department can assist with many operation/use questions, product manuals or troubleshooting tips, and the return of the unit is usually not necessary.
Tramontina reserves the right to repair or provide replacement parts that may have become defective. This warranty gives you specific legal rights, and you may also have other rights, which vary according
to country, state or province. Rental exception. For products used in a rental environment, Tramontina’s warranty only covers labor and parts for 90 days. No other warranty applies.
For more manuals by Tramontina, visit ManualsLibraryy
Tramontina 80901-103 45-Bottle Wine Cooler-FAQs
How do I set the temperature on my wine cooler?
Press the up or down arrow buttons to adjust the temperature until you reach your desired setting. It may take some time for the cooler to stabilize, especially when empty.
What is the ideal temperature for a wine cooler?
The recommended temperature range is 50°F to 59°F. For long-term storage, 53°F to 57°F is ideal to prevent spoilage and allow wine to age properly.
How do I lower the temperature on my wine cooler?
Use the button with a downward triangle to decrease the temperature in 1-degree increments. For dual-zone coolers, the upper zone temperature is displayed on the right, and the lower zone is on the left.
Is a wine cooler better than a regular fridge for storing wine?
Yes, a wine cooler is specifically designed for wine storage, with adjustable temperatures, higher humidity levels, and low-vibration technology to preserve the wine’s quality. Regular fridges have lower humidity and are less suitable for wine storage.
Can I store other beverages in my wine cooler?
Absolutely! You can use your wine cooler to store soft drinks, bottled water, or even craft beers at the perfect serving temperature.
How do I reset my wine cooler?
To reset your wine cooler, unplug it from the power source and leave it disconnected for 30–60 minutes before plugging it back in.
How many bottles can a wine cooler hold?
Wine coolers vary in size and can hold anywhere from 7 to 186 bottles. The capacity depends on the model and your specific needs.
Do wine coolers have a fan?
Yes, most wine coolers use a fan to circulate air and maintain consistent temperatures. Combined with a compressor, this helps remove heat and humidity for proper storage conditions.



