
Weider 8530 Universal Home Gym

BEFORE YOU BEGIN
Thank you for selecting the versatile WEIDER® 8530 Home Gym System. The WEIDER® 8530 offers a selection of weight stations designed to develop every major muscle group of the body. Whether your goal is to tone your body, build dramatic muscle size and strength, or improve your cardiovascular system, the WEIDER® 8530 will help you to achieve the specific results you want. For your benefit, read this manual carefully before using the WEIDER® 8530 Home Gym System.
If you have additional questions, please call our Customer Service Department toll-free at 1-800-999-3756, Monday through Friday, 6 a.m. until 6 p.m. Mountain Time (excluding holidays). To help us assist you, please note the product model number and serial number before calling. The model number is WESY85301. The serial number can be found on a decal attached to the WEIDER® 8530 (see the front cover of this manual). Before reading further, please review the drawing below and familiarize yourself with the parts that are labeled.
ASSEMBLY
Before beginning assembly, carefully read the following information and instructions:
- Place all parts of the WEIDER 8530 in a cleared area and remove the packing materials; do not dispose of the packing materials until assembly is completed.
- The assembly is broken into five stages: 1) frame assembly, 2) press and butterfly arm assembly, 3) cable and pulley assembly, 4) seat and backrest assembly, and 5) VKR assembly. The hardware for each stage is packaged separately.
- Wait until you begin each assembly stage to open the parts bag labeled for that assembly stage.
- For help identifying the small parts used in assembly, use the PART IDENTIFICATION CHART located in the center of this manual. Note: Some small parts may have been pre-attached for shipping. If a part is not in the parts bag, check to see if it has been pre-attached.
- As you assemble the WEIDER 8530, be sure that all parts are oriented as shown in the drawings.
- Tighten all parts as you assemble them, unless instructed to do otherwise.
THE FOLLOWING TOOLS (NOT INCLUDED) ARE REQUIRED FOR ASSEMBLY:
- Two (2) adjustable wrenches

- One (1) standard screwdriver

- One (1) Phillips screwdriver

- One (1) rubber mallet

- Lubricant, such as grease or petroleum jelly, and soapy water will also be needed.
Assembly will be more convenient if you have the following tools: A socket set, a set of open-end or closed-end wrenches, or a set of ratchet wrenches.
- Before beginning assembly, be sure that you have read and understand the information in the box above. Press a 2” Inner Cap (27) into the indicated end of the Stabilizer (5). Press 2” Outer Caps (51) onto the other two locations on the Stabilizer. Press a 2” Inner Cap into the end of the Base (4). Insert four 5/16” x 2 1/2” Carriage Bolts (1) up through the Stabilizer (5). Attach the Base (4) to the Stabilizer (5) with two 5/16” x 2 3/4” Bolts (11), two 5/16” Flat Washers (8), and two 5/16” Nylon Locknuts (3). Do not tighten the Nylon Locknuts yet. Slide the VKR Upright (74) and the Squat Arm Upright (56) onto the 5/16” x 2 1/2” Carriage Bolts (1) in the Stabilizer (5). The high side of the brackets on the VKR Upright and Squat Arm Upright should be on the side shown. Hand-tighten four 5/16” Nylon Locknuts (3) onto the Carriage Bolts. Do not tighten the Nylon Locknuts yet.

- Insert two 5/16” x 2 1/2” Carriage Bolts (1) up through the Base (4). Slide the Front Upright (42) onto the 5/16” x 2 1/2” Carriage Bolts (1) in the Base (4). Hand-tighten a 5/16” Nylon Locknut (3) onto each Carriage Bolt. Do not tighten the Nylon Locknuts yet. Press a 1” Inner Cap (6) into the Front Upright (42). Press a 2” Inner Cap (27) into the Squat Upright (56). Press a 2” Inner Cap into the VKR Upright (74).

- Press a 2” Inner Cap (27) into the end of the Top Frame (55). Press a 1 3/4” Inner Cap (44) into each end of the crossbar on the Top Frame. Press two Inner Caps (96) into the top of the crossbar. Attach the Top Frame (55) to the Front Upright (42) with two 5/16” x 2 3/4” Bolts (11), two 5/16” Flat Washers (8), and two 5/16” Nylon Locknuts (3). Attach the Top Frame (55) to the VKR Upright (74) and the Squat Upright (56) with two 5/16” x 2 3/4” Bolts (11) and two 5/16” Nylon Locknuts (3). Tighten all of the Nylon Locknuts used in steps 1–3.

- Set two Weight Bumpers (19) on the bracket on the Base (4) as shown. Set two Weight Bumpers (19) on the bracket on the Stabilizer (5). Stack eight Weights (25) onto each set of Weight Bumpers (19). Be sure that the pin grooves are all on the same side of each stack of Weights. Be careful not to tip either stack of Weights (25) until step 6 is complete.

- Press a Weight Tube Bumper (64) into the end of a Weight Tube (63). Insert the Weight Tube into the front stack of Weights (25). Be sure that the pins on the Weight Tube are sitting in the pin grooves in the top Weight. Lubricate the inside of the holes in a Top Weight (65). Set the Top Weight onto the front stack of Weights (25). Insert both Long Weight Guides (62) into the stack of Weights. Be sure that the holes in the Weight Guides are at the top, as shown.

- Press a Weight Tube Bumper (64) into the end of the other Weight Tube (63). Insert the Weight Tube into the rear stack of Weights (25). Be sure that the pins on the Weight Tube are sitting in the pin grooves in the top Weight. Lubricate the inside of the holes in the other Top Weight (65). Set the Top Weight onto the rear stack of Weights (25). Insert both Short Weight Guides (73) into the stack of Weights. Be sure that the holes in the Weight Guides are at the top, as shown.

- Attach the upper ends of the Long Weight Guides (62) to the Top Frame (55) with a 5/16” x 6” Bolt (60), two 1/2” x 3/4” Spacers (61), and a 5/16” Nylon Locknut (3). Be sure that the Pulley Bracket (20) is in front of the right Long Weight Guide (62) as shown. Attach the upper ends of the Short Weight Guides (73) to the Top Frame (55) with a 5/16” x 6” Bolt (60), two 1/2” x 3/4” Spacers (61), and a 5/16” Nylon Locknut (3).

- Press a 1” x 7/8” Plastic Bushing (90) onto each welded spacer on the Press Frame (17). Slide the Press Frame into place onto the Base (4). Note: This will be a tight fit. The Plastic Bushings should fit on each end of the indicated tube in the Base. Make sure that the pulleys are on the side shown. Lubricate the 3/8” x 8” Bolt (59). Attach the Press Frame (17) to the Base (4) with the 3/8” x 8” Bolt and a 3/8” Nylon Locknut (21).

- Wet the handle of one Press Arm (46) with soapy water. Slide a 5” Plastic Grip (83) onto the handle. Press a 1” Round Inner Cap (49) into the other end of the handle. Press a 1 3/4” Inner Cap (44) into the Press Arm. Attach the Press Arm (46) to one side of the Press Frame (17) with two 5/16” x 2 1/2” Bolts (22) and two 5/16” Nylon Locknuts (3). Assemble the other Press Arm (46) in the same manner.

- Identify the Right Arm (48) and the Left Arm (47). Note the position of the welded bracket on each Arm. Arm identification is very important for step 11. Attach a “V”-Pulley (50) and a Long Cable Trap (31) to the Right Arm (48) with a 3/8” x 2 1/2” Bolt (86) and a 3/8” Nylon Locknut (21). Attach a “V”-Pulley (50) and a Long Cable Trap (31) to the Left Arm (47) in the same manner.

- Lubricate both axles on the Top Frame (55). Slide the Right Arm (48) onto the right axle. Be careful not to confuse the Right Arm with the Left Arm (47); note the position of the “V” Pulley (50) to identify the Right Arm. Be sure that the upper end of the Right Arm is behind the indicated bracket on the Top Frame (55). Tap two 1” Retainers (69) and a 1” Round Cover Cap (70) onto the axle. Be sure that the teeth on the Retainers bend toward the Round Cover Cap, as shown in the inset drawing. Attach the Left Arm (47) in the same manner. Press 1 3/4” Inner Caps (44) into the lower ends of the Left and Right Arms (47, 48). Wet the lower end of each Arm with soapy water. Slide a 10” Pad (45) onto the lower end of each Arm.

- Press two 1” x 2” Inner Caps (87) into the indicated end of the Squat Arm (84). Attach the Squat Arm (84) to the VKR Upright (74) with a 3/8” x 5 1/2” Bolt (93) and a 3/8” Nylon Locknut (21). Be sure that the indicated bracket is pointing down as shown. Wet the ends of the Squat Arm (84) with soapy water. Slide the two Squat Arm Pads (85) onto the Squat Arm. Attach a Handle (82) to one side of the Squat Arm (84) with a 5/16” x 2 1/2” Bolt (22), two 5/16” Flat Washers (8), a 1/2” x 17/32” Spacer (91), and a 5/16” Nylon Locknut (3). Wet the Handle (82) with soapy water. Slide a 5” Plastic Grip (83) onto the Handle. Press a 1” Round Inner Cap (49) into the other end of the Handle. Assemble another Handle (82) to the other side of the Squat Arm (84) in the same manner.

- Locate the Medium Cable (58). Route the Medium Cable around the indicated 3 1/2” Pulley (15) attached to the Top Frame (55). Be sure that the ball is on the indicated side of the Pulley and that the Cable is between the Pulley and the hook. Tighten the 3/8” x 3 3/4” Bolt (88) and the 3/8” Nylon Locknut (not shown).

- Wrap the Medium Cable (58) around a “V”-Pulley (50). Attach the “V”-Pulley and a Long Cable Trap (31) to the indicated bracket on the Front Upright (42) with a 3/8” x 2 1/2” Bolt (86) and a 3/8” Nylon Locknut (21). Be sure that the Long Cable Trap is positioned to hold the Cable in place. Route the Medium Cable (58) around the “V”-Pulley (50) on the Left Arm (47). Be sure that the Cable is in the groove of the Pulley and that the Long Cable Trap (31) holds the Cable in place. Tighten the 3/8” x 2 1/2” Bolt (86) and the 3/8” Nylon Locknut (not shown).

- Route the Medium Cable (58) around the “V”-Pulley (50) on the Right Arm (48). Be sure that the Cable is in the groove of the “V” Pulley and that the Long Cable Trap (31) is positioned to hold the Cable in place. Tighten the 3/8” x 2 1/2” Bolt (86) and the 3/8” Nylon Locknut (not shown). Route the Medium Cable (58) around the 3 1/2” Pulley (15) attached to the Pulley Bracket (20). Be sure that the Cable is in the groove of the Pulley and that the Cable Trap (66) holds the Cable in place. Tighten the 3/8” Nylon Locknut (21) and the 3/8” x 2” Bolt (not shown). Tighten the 5/16″ x 5” Bolt (68) and the 5/16″ Nylon Locknut (not shown). Be sure that the Pulley Bracket swivels freely.

- See the inset drawing. Attach a 3 1/2” Pulley (15) and a Cable Trap (66) to the upper hole in the Long “U”-Bracket (57) with a 3/8” x 2” Bolt (12) and a 3/8” Nylon Locknut (21). Be sure that the Cable Trap is inside the Long “U”-Bracket. (Note: This may come pre-assembled.) Route the Medium Cable (58) through the 3 1/2” Pulley (15) and Long “U”-Bracket (57) shown in the inset drawing. Be sure that the Cable is in the groove of the Pulley and that the Cable and Pulley move smoothly.

- Route the Medium Cable (58) around the 3 1/2” Pulley (15) attached to the bracket on the Top Frame (55). Tighten the 3/8” x 2” Bolt (12) and the 3/8” Nylon Locknut (21). (Note: This Pulley is pre-assembled. It has been shown disassembled for easy part identification.) Be sure that the Cable is in the groove of the Pulley and that the Cable and Pulley move smoothly.

- Remove the 3 1/2” Low Pulley (95) from the Press Frame (17). Reattach the Pulley with the 5/8” x 9/16” Spacer (7) between the Pulley and the Press Frame. Hand-tighten the 3/8” Nylon Locknut (21). Locate the Short Cable (23). Route the Short Cable under the 3 1/2” Low Pulley (95). Be sure that the end of the Cable with the ball is on the indicated side of the Press Frame (17) and that the Cable is between the Pulley and the crossbar on the Press Frame. Tighten the 3/8” Nylon Locknut (21) and 3/8” x 3 3/4” Bolt (88). Route the Short Cable (23) around the 3 1/2” Pulley (15) attached to the lower hole in the Front Upright (42). Be sure that the Cable Trap (not shown) is turned to hold the Cable in place and that the Cable is routed around the Pulley as shown. Tighten the 3/8” Nylon Locknut (21) and 3/8” x 3 3/4” Bolt (not shown).

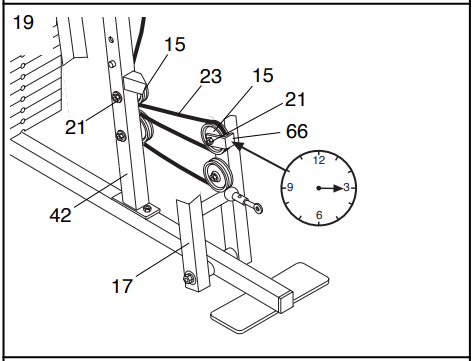
- Route the Short Cable (23) around the 3 1/2” Pulley (15) attached to the upper hole in the Press Frame (17). Be sure that the Cable Trap (66) is in the “3 o’clock” position and that the Cable is routed around the Pulley as shown. Tighten the 3/8” Nylon Locknut (21) and 3/8” x 3 1/2” Bolt (not shown). Route the Short Cable (23) around the 3 1/2” Pulley (15) attached to the upper hole in the Front Upright (42). Be sure that the Cable Trap (not shown) is turned to hold the Cable in place and that the Cable is routed around the Pulley as shown. Tighten the 3/8” Nylon Locknut (21) and 3/8” x 3 3/4” Bolt (not shown).

- Attach the end of the Short Cable (23) to the Long “U”-Bracket (57) with a 1/4” Nylon Locknut (2) and a 1/4” Flat Washer (10). Do not tighten the 1/4” Nylon Locknut. It should be threaded onto the Cable only a couple of turns.

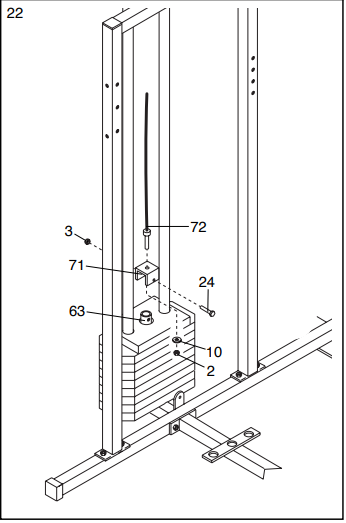
- Attach the Medium Cable (58) to a Small “U”-Bracket (71) with a 1/4” Nylon Locknut (2) and a 1/4” Flat Washer (10). Do not tighten the 1/4” Nylon Locknut. It should be threaded onto the Cable only a couple of turns. Attach the Small “U”-Bracket (71) to the indicated Weight Tube (63) with a 5/16” x 1 3/4” Bolt (24) and a 5/16” Nylon Locknut (3).

- Locate the Long Cable (72). Attach the Long Cable to the other Small “U”-Bracket (71) with a 1/4” Nylon Locknut (2) and a 1/4” Flat Washer (10). Do not tighten the 1/4” Nylon Locknut. It should be threaded onto the Cable only a couple of turns. Attach the Small “U”-Bracket (71) to the indicated Weight Tube (63) with a 5/16” x 1 3/4” Bolt (24) and a 5/16” Nylon Locknut (3).

- Route the Long Cable (72) around the 3 1/2” Pulley (15) on the Top Frame (55). Tighten the 3/8” Nylon Locknut (21) and the 3/8” x 2” Bolt (not shown). See the inset drawing. Wrap the Long Cable (72) around a 3 1/2” Pulley (15). Attach the Pulley and a Cable Trap (66) to the bracket on the Stabilizer (5) with a 3/8” x 2” Bolt (12) and a 3/8” Nylon Locknut (21). Be sure that the Cable Trap is turned to hold the Cable in place.

- Wrap the Long Cable (72) around a 3 1/2” Pulley (15). Attach the Pulley and a Cable Trap (66) to the Squat Arm (84) with the 3/8” x 2 1/4” Bolt (94) and a 3/8” Jam Nut (92). Be sure that the 3/8” Jam Nut is on the side shown and that the Cable Trap is positioned to hold the Cable in place.

- See inset drawing A. Note: The inset drawing shows the view from the other side of the Squat Arm Upright (56). Wrap the Long Cable (72) around a “V”-Pulley (50). Attach the “V”-Pulley and a Long Cable Trap (31) to the top hole in the Squat Arm Upright with the 3/8” x 5” Bolt (67), the 5/8” x 3/8” Spacer (76), a 3/8” Flat Washer (9), and a 3/8” Nylon Locknut (21). Position the Long Cable Trap (31) as shown. See inset drawing B. Note: The inset drawing shows the view from the other side of the Squat Arm Upright (56). Slide the end of the Long Cable (72) onto the end of the 3/8” x 2 1/4” Bolt (94). Thread another 3/8” Jam Nut (92) onto the Bolt. Do not tighten the second Jam Nut. There must be room between the two Jam Nuts for the end of the Cable to pivot.

- Attach the Backrest (41) to the Front Upright (42) with two 1/4” x 2 1/2” Screws (43) and two 1/4” Flat Washers (10).

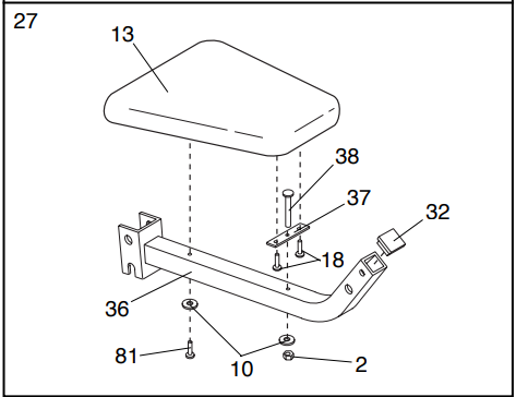
- Press a 1 1/2” Inner Cap (32) into the Seat Frame (36). Insert a 1/4” x 2” Carriage Bolt (38) through the center hole in the Seat Plate (37). Attach the Seat Plate to the Seat (13) with two 1/4” x 3/4” Screws (18). Insert the 1/4” x 2” Carriage Bolt (38) through the indicated hole in the Seat Frame (36). Tighten a 1/4” Nylon Locknut (2) with a 1/4” Flat Washer (10) onto the Carriage Bolt. Attach the other end of the Seat (13) to the Seat Frame (36) with a 1/4” Flat Washer (10) and a 1/4” x 2” Machine Screw (81).

- Press a 1 1/2” Inner Cap (32) into the Leg Lever (29). Lubricate the 5/16” x 2 1/4” Bolt (33). Attach the Leg Lever (29) to the Seat Frame (36) with the 5/16” x 2 1/4” Bolt and a 5/16” Nylon Locknut (3). Insert the 5/16” x 2” Eyebolt (35) into the Leg Lever (29) from the direction shown. Tighten a 5/16” Nylon Locknut (3) with a 5/16” Flat Washer (8) onto the Eyebolt.

- Rest the Seat Frame (36) on the indicated pin in the Front Upright (42). Attach the Seat Frame to the Front Upright with a 5/16” x 2 3/4” Carriage Bolt (14) and the Seat Knob (40).

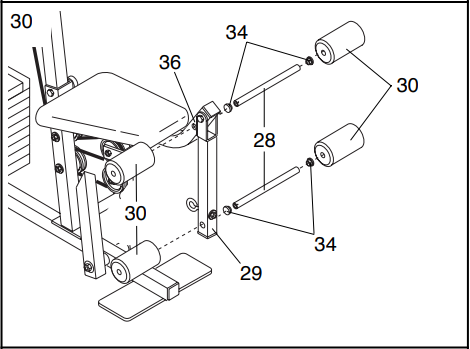
- Press two 3/4” Round Inner Caps (34) into each 13 1/2” Pad Tube (28). Insert one 13 1/2” Pad Tube (28) into the Seat Frame (36). Slide a 6” Pad (30) onto each end of the Pad Tube. Insert the other 13 1/2” Pad Tube (28) into the Leg Lever (29). Slide a 6” Foam Pad (30) onto each end of the Pad Tube.

- Press 1 1/2” Inner Caps (32) into the ends of the Left VKR Arm (79) and the Right VKR Arm (80). Attach the Left VKR Arm (79) and the Right VKR Arm (80) to the VKR Upright (74) with two 5/16” x 3” Bolts (75) and two 5/16” Nylon Locknuts (3).

- Wet the handle on the Right VKR Arm (80) with soapy water. Slide a 5” Plastic Grip (83) onto the Handle. Press a 1” Round Inner Cap (49) into the bottom of the handle. Attach a 5” Plastic Grip (83) and a 1” Round Inner Cap (49) to the handle on the Left VKR Arm (79) in the same manner.

- Attach a VKR Armrest (78) to the Right VKR Arm (80) with two 1/4” x 2” Machine Screws (81) and two 1/4” Flat Washers (10). Attach a VKR Armrest (78) to the Left VKR Arm (79) in the same manner. Attach the VKR Backrest (77) to the VKR Upright (74) with two 1/4” x 2 1/2” Screws (43) and two 1/4” Flat Washers (10).

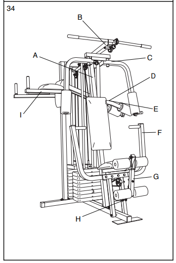
- Remove the decals from the Decal Sheet (not shown) and apply them to the home gym system in the locations shown:
- A—8530
- B—HIGH PULLEY
- C—BUTTERFLY
- D—MILITARY PRESS
- E—SQUAT STATION
- F—BENCH PRESS
- G—LEG DEVELOPER
- H—LOW PULLEY
- I—VKR

Make sure that all parts have been properly tightened. The use of the remaining parts will be explained in HOW TO USE THE HOME GYM SYSTEM, beginning on page 16 of this manual. Before using the home gym system, pull each cable a few times to be sure that the cables move smoothly over the pulleys. If one of the cables does not move smoothly, find and correct the problem.
IMPORTANT: If the cables are not properly installed, they may be damaged when heavy weight is used. See the CABLE DIAGRAM on page 19 of this manual for proper cable routing. If there is any slack in the cables, the cables should be tightened. See TROUBLE-SHOOTING AND MAINTENANCE on page 18.
Visit our website at www.weiderfitness.com for new products, prizes, fitness tips, and much more!
For More Manuals By Weider, Visit ManualsLibraryy.
Weider 8530 Universal Home Gym-FAQs
How tall is the Weider 8530 home gym?
The assembled height of the Weider 8530 is about 74 inches, with a width of 60 inches and a length of 54 inches.
How long is the Weider 8530 cable?
The main cable assembly is approximately 115 inches long, though some models may use a 120-inch version. Always measure before ordering a replacement.
How much weight does the Weider 8530 offer?
It comes with an 80-pound vinyl weight stack. Thanks to the pulley system, resistance can feel much higher depending on the exercise.
What exercises can I do with the Weider 8530?
This home gym supports a full-body workout, including chest press, lat pulldowns, leg extensions, curls, and seated rows.
What is the user weight capacity of the Weider 8530?
The system is generally designed to support users up to around 300 pounds safely.
How much space do I need for setup?
A space of about 6 feet by 6 feet is recommended to fit the machine and allow comfortable movement during workouts.
How do I maintain the Weider 8530 home gym?
Check cables and pulleys regularly, wipe down equipment after use, and keep moving parts lightly lubricated for smooth operation.

































