
Weider Pro 290 W Weight Bench

BEFORE YOU BEGIN
- Thank you for selecting the WEIDER PRO™ 290 Weight bench. The versatile 290 W weight bench is designed to develop every major muscle group of the body. Whether your goal is to tone your body, build dramatic muscle size and strength, or develop a healthier cardiovascular system, the weight bench will help you to achieve the specific results you want

PART IDENTIFICATION CHART

ASSEMBLY
- Before assembling the weight bench, make sure that you have read and understand the information in the box above. Orient the Crossbar (3) so that the warning decals are on top. Attach the Crossbar to an Upright (1) with two M8 x 55mm Bolts (18), two M8 Washers (16), and two M8 Locknuts (17); do not tighten the Locknuts yet. Attach the Crossbar (3) to the other Upright (1) in the same way.

- Orient the Stabilizer (13) so that the indented holes are facing the floor. Attach the Front Leg (8) to the Stabilizer with two M8 x 42mm Carriage Bolts (37) and two M8 Locknuts (17); do not tighten the Locknuts yet.

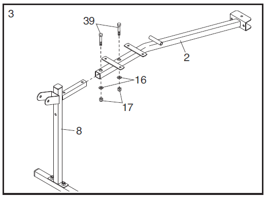
- Attach the Front Leg (8) to the Frame (2) with two M8 x 40mm Bolts (39), two M8 Washers (16), and two M8 Locknuts (17); do not tighten the Locknuts yet

- Attach the Frame (2) to the Crossbar (3) with three M8 x 55mm Bolts (18), two M8 Washers (16), and three M8 Locknuts (17); do not tighten the Locknuts yet.

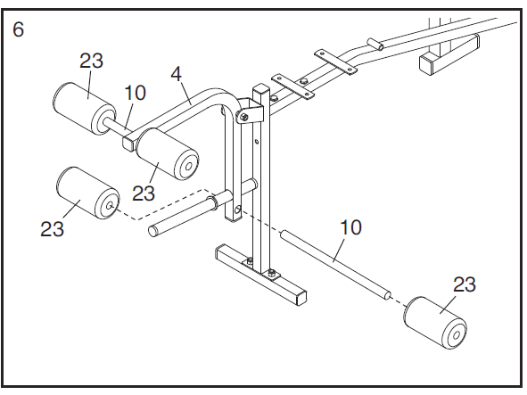
- Apply some of the included grease to an M10 x 63mm Bolt (32). Attach the Leg Lever (4) to the Front Leg (8) with the Bolt and an M10 Locknut (33). Do not overtighten the Locknut; the Leg Lever must pivot easily

- Insert a Long Pad Tube (10) into a hole in the Leg Lever (4). Slide two Foam Pads (23) onto the Long Pad Tube. Attach the other Long Pad Tube (10) and Foam Pads (23) in the same way.

- Attach the Backrest Tubes (5) to the Backrest (6) with four M6 x 38mm Screws (30) and four M6 Washers (26); do not tighten the Screws yet.

- Insert the Backrest Support (7) into a set of holes in the Uprights (1). Rotate the Backrest Support to the locked position, with the locking pin wrapped around the left Upright. Grease an M10 x 137mm Bolt (36). Attach the Backrest Tubes (5) to the welded tube on the Frame (2) with the Bolt, two M10 Washers (34),
and an M10 Locknut (33). Do not overtighten the Locknut; the Backrest Tubes must pivot easily. See steps 1–4. Tighten the M8 Locknuts (17). See step 7. Tighten the M6 x 38mm Screws (30).
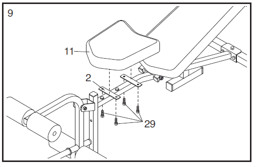
- Attach the Seat (11) to the Frame (2) with four M6 x 16mm Screws (29).

ADJUSTMENT
- The steps below explain how the weight bench can be adjusted. See the accompanying exercise guide to see the correct form for several exercises. Make sure all parts are properly tightened each time the weight bench is used. Replace any worn parts immediately. Clean the weight bench with a damp cloth and a mild, non-abrasive detergent; do not use solvents to clean the weight bench.
ADJUSTING THE BACKREST
- The Backrest (6) can be used in a declined position, a level position, or any of three inclined positions. To use the Backrest in a declined position, remove the Backrest Support (7) and lay the Backrest on the Crossbar (3).
- To use the Backrest (6) in a level position or an inclined position, insert the Backrest Support (7) into a set of holes in the Uprights (1). Rotate the Backrest Support to the locked position, with the locking pin wrapped around the left Upright. Rest the Backrest on the Backrest Support

ATTACHING WEIGHTS TO THE WEIGHT CARRIAGE OR THE LEG LEVER
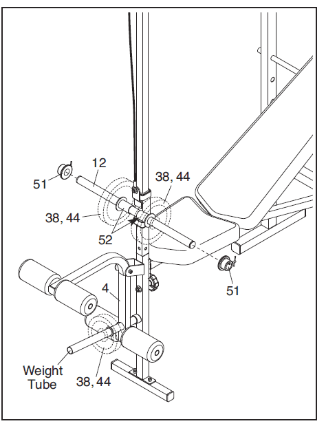
- To use the Weight Carriage (12), first slide the Weight Spacers (52) onto the Weight Carriage as shown. Next, slide the desired Weights (38, 44) onto the Weight Carriage. Then, slide the two Small Weight Collars (51) against the Weights, and fully tighten the Small Weight Collars.
- To use the Leg Lever (4), slide the desired Weights (38, 44) onto the weight tube on the Leg Lever.

ATTACHING THE CURL PAD OR THE LAT TOWER
- For some exercises, the Curl Pad (45) must be attached to the weight bench. Remove the 30mm Square Inner Cap (22) from the Front Leg (8). Insert the Curl Post (27) into the Front Leg, and align an adjustment hole in the Curl Post with the adjustment hole in the Front Leg. Secure the Curl Post with the Curl Knob (31).
- The Lat Tower (14) can be attached in the same way.
- Note: When the Curl Pad (45) and the Lat Tower (14) are not being used, store them away from the weight bench, and insert the 30mm Square Inner Cap (22) into the Front Leg (8).

ATTACHING THE LAT BAR
- Attach the Lat Bar (15) to the Cable (19) with a Cable Clip (50). Remove the Lat Bar when performing an exercise that does not require it.

EXERCISE GUIDELINES
THE FOUR BASIC TYPES OF WORKOUTS
- Muscle Building
To increase the size and strength of your muscles, push them close to their maximum capacity. Your muscles will continually adapt and grow as you
progressively increase the intensity of your exercise. You can adjust the intensity level of an individual exercise in two ways:- by changing the amount of resistance used, or
- by changing the number of repetitions or sets performed. (A “repetition” is one complete cycle of an exercise, such as one sit-up. A “set” is a series of repetitions.)
- The proper amount of resistance for each exercise depends upon the individual user. You must gauge your limits and select the amount of resistance that is
right for you. Begin with 3 sets of 8 repetitions for each exercise you perform. Rest for 3 minutes after each set. When you can complete 3 sets of 12 repetitions
without difficulty, increase the amount of resistance. - Toning
You can tone your muscles by pushing them to a moderate percentage of their capacity. Select a moderate amount of resistance and increase the number of repetitions in each set. Complete as many sets of 15 to 20 repetitions as possible without discomfort. Rest for 1 minute after each set. Work your muscles by completing more sets rather than by using high amounts of resistance. - Weight Loss
To lose weight, use a low amount of resistance and increase the number of repetitions in each set. Exercise for 20 to 30 minutes, resting for a maximum of 30 seconds between sets. - WORKING OUT
Each workout should include 6 to 10 different exercises. Select exercises for every major muscle group, emphasizing areas that you want to develop most. To give balance and variety to your workouts, vary the exercises from workout to workout. Schedule your workouts for the time of day when your energy level is the highest. Each workout should be followed by at least one day of rest. Once you find the schedule that is right for you, stick with it - EXERCISE FORM
- Maintaining proper form is an essential part of an effective exercise program. This requires moving through the full range of motion for each exercise and
moving only the appropriate parts of the body. Exercising in an uncontrolled way will leave you feeling exhausted. On the exercise guide accompanying this manual, you will find photographs showing the correct form for several exercises, and a list of the muscles affected. See the muscle chart on the next page to find the names of the muscles - The repetitions in each set should be performed smoothly and without pausing. The exertion stroke of each repetition should last about half as long as the return stroke. Proper breathing is important. Exhale during the exertion stroke of each repetition and inhale during the return stroke. Never hold your breath.
- COOLING DOWN
- End each workout with 5 to 10 minutes of stretching. Include stretches for both your arms and legs. Move slowly as you stretch and do not bounce. Ease into
each stretch gradually and go only as far as you can without strain. Stretching at the end of each workout is an effective way to increase flexibility. - STAYING MOTIVATED
- For motivation, keep a record of each workout. Write the date, the exercises performed, the resistance used, and the number of sets and repetitions completed.
Record your weight and key body measurements at the end of every month. The key to achieving the greatest results is to make exercise a regular and enjoyable part of your everyday life.
For more manuals by Weider visit ManualsLibraryy
Weider Pro 290 W Weight Bench-FAQs
What is the weight capacity of the Weider Pro 290 W bench?
The bench can support up to 410 lbs (186 kg), making it suitable for most dumbbells and barbells.
Is Weider a reliable fitness brand?
Yes, Weider is a well-known global brand recognized for producing high-quality fitness equipment and supplements.
How many reps should I do for bench press?
1. For strength gains: 3-6 sets of 6-12 reps work best.
2. For muscle growth (hypertrophy): Stick to the 6-12 rep range with moderate to heavy weight.
Is a 40kg bench press good?
1. Yes, a 40kg (1RM) dumbbell bench press is considered intermediate for men.
2. Beginners typically start with 16kg (1RM) and progress over time.
What is Weider known for?
Weider is a nutrition and fitness brand with over 70 years of expertise, offering products for a stronger and healthier lifestyle.
Is the Weider Pro 290 W a good home gym option?
Yes, it’s a budget-friendly, space-saving weight bench that allows for a wide range of exercises for full-body workouts.
Can I tone my arms with 2kg dumbbells?
2kg weights may be enough for beginners, but as you get stronger, you’ll need heavier weights to continue making progress.
Is 5kg enough to build muscle?
5kg dumbbells are good for beginners, but building serious muscle mass requires heavier weights and lower reps (4-6 reps per set).














