
Weider Pro 9635 Home Gym Machine

IMPORTANT PRECAUTIONS
WARNING: To reduce the risk of serious injury, read the following important precautions before using the weight system.
- Read all instructions in this manual and in the accompanying literature, and all warnings on the weight system, before using the weight system.
- It is the responsibility of the owner to ensure that all users of the weight system are adequately informed of all precautions.
- The weight system is intended for home use only. Do not use the weight system in any commercial, rental, or institutional setting.
- Keep the weight system indoors, away from moisture and dust. Place the weight system on a level surface, with a mat beneath it to protect the floor or carpet. Make sure that there is enough clearance around the weight system to mount, dismount, and use the
weight system. - Inspect and properly tighten all parts regularly. Replace any worn parts immediately.
- Keep children under 12 and pets away from the weight system at all times.
- Never release the press arm, butterfly arms, military press arm, leg lever, leg press plate, lat bar or nylon strap while weights are raised. The weights will fall with great force.
- Keep hands and feet away from moving parts.
- The weight system is designed to support a maximum user weight of 136 kg (300 lbs).
- Always wear athletic shoes for foot protection.
- Always stand on a foot plate when performing an exercise that could cause the weight system to tip.
- Keep your hands away from the leg press upright when the military press arm is being used. Your hand could become pinched between the leg press upright and the military press arm.
- Make sure that the cables remain on the pulleys at all times. If the cables bind while you are exercising, stop immediately and make sure that the cables are on all of the pulleys. Replace all cables at least every two years.
- Always disconnect the lat bar from the weight system when performing an exercise that does not use the lat bar
- The weight system is designed to be used only with the included weight. Do not use the weight system with dumbbells or any other type of weight to increase the resistance.
- Do not use the VKR station when either weight stack is in use.
- If you feel pain or dizziness at any time while exercising, stop immediately and begin cooling
down.
WARNING: To reduce the risk of serious injury, read the following important precautions before using the weight system.
IMPORTANT PRECAUTIONS
WARNING: Before beginning this or any exercise program, consult your physician. This is especially important for persons over the age of 35 or persons with pre-existing health problems. Read all instructions before using. ICON assumes no responsibility for personal injury or property damage sustained by or through the use of this product.
BEFORE YOU BEGIN
Thank you for selecting the versatile WEIDER® PRO 9635 weight system. The weight system offers a selection of weight stations designed to develop every major muscle group of the body. Whether your goal is to tone your body, build dramatic muscle size and strength, or improve your cardiovascular system, the weight system will help you to achieve the specific results you want.
For your benefit, read this manual carefully before using the weight system. If you have questions after
reading this manual, see the front cover of this manual. To help us assist you, please note the product
model number and serial number before calling. The model number is WESY9635C.3. The serial number
can be found on a decal attached to the weight system (see the front cover of this manual). Before reading further, please review the drawing below and familiarize yourself with the parts that are labeled.
ASSEMBLY
Make Things Easier for Yourself: Everything in this manual is designed to ensure that the weight system can be assembled successfully by almost anyone. However, the weight system has many parts and the assembly process will take time. By setting aside plenty of time, assembly will go smoothly.
Before beginning assembly, carefully read the following information and instructions:
- Because of its weight and size, the weight system should be assembled in the location where it will be used. Make sure that there is enough clearance to walk around the weight system as you assemble it.
- Place all parts in a cleared area and remove the packing materials. Do not dispose of the packing materials until assembly is completed.
- Tighten all parts as you assemble them unless instructed to do otherwise.
- As you assemble the weight system, make sure all parts are oriented as shown in the drawings.
- Assembly requires two people.
- To help identify small parts, use the PART IDENTIFICATION CHART.
The included grease and the following tools (not included) may be required for assembly:
Assembly will be more convenient if you have a socket set, a set of open-end or closed-end wrenches, or a set of ratchet wrenches.
FRAME ASSEMBLY

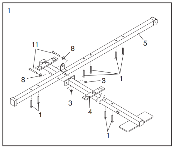
- Before beginning assembly, make sure that you have read and understand the information in the box above. Locate and open the parts packet labeled “FRAME ASSEMBLY.” Insert six M8 x 62mm Carriage Bolts (1) up through the Stabilizer (5). Insert two M8 x 62mm Carriage Bolts up through the Base (4). Attach the Base (4) to the Stabilizer (5) with two M8 x 67mm Bolts (11), two M8 Washers (8), and two M8 Nylon Locknuts (3). Do not tighten the Locknuts yet.

- Slide the VKR Upright (74) and the Leg Press Upright (56) onto the indicated M8 x 62mm Carriage Bolts (1) in the Stabilizer (5). The high side of the brackets on the VKR Upright and Leg Press Upright should be on the side shown—Hand-tighten four M8 Nylon Locknuts (3) onto the Carriage Bolts. Do not tighten the Locknuts yet. Attach the Rubber Bumper (91) to the Leg Press Upright (56) with the M4 x 13mm Selftapping Screw (87) and an M4 Washer (76).

- Slide the Front Upright (42) onto the M8 x 62mm Carriage Bolts (1) in the Base (4). Handtighten an M8 Nylon Locknut (3) onto each Carriage Bolt. Do not tighten the Locknuts yet.

- Attach the Top Frame (55) to the VKR Upright (74) and the Leg Press Upright (56) with two M8 x 67mm Bolts (11) and two M8 Nylon Locknuts (3). Attach the Top Frame (55) to the Front Upright (42) with two M8 x 67mm Bolts (11), two M8 Washers (8), and two M8 Nylon Locknuts (3).

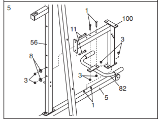
- Slide the Rear Seat Frame (100) onto the indicated M8 x 62mm Carriage Bolts (1) in the Stabilizer (5). Hand-tighten two M8 Nylon Locknuts (3) onto the Carriage Bolts. Attach the other end of the Rear Seat Frame (100) to the Leg Press Upright (56) with two M8 x 67mm Bolts (11), two M8 Washers (8), and two M8 Nylon Locknuts (3). Attach the Handle (82) to the Rear Seat The frame (100) with two M8 x 62mm Carriage Bolts (1) and two M8 Nylon Locknuts (3). Tighten all M8 Nylon Locknuts (3) used in steps 1–5.

- Set two Weight Bumpers (19) on the bracket on the Base (4) as shown. Set two Weight Bumpers (19) on the bracket on the Stabilizer (5). Stack eight Weights (25) onto each set of Weight Bumpers (19). Make sure that the pin grooves are all on the same side of each stack of Weights. Be careful not to tip either stack of Weights (25) until step 8 is complete.

- Press a Weight Tube Bumper (64) into the end of a Weight Tube (63). Insert the Weight Tube into the front stack of Weights (25). Make sure that the pin on the Weight Tube is sitting in the pin groove in the top Weight. Lubricate the inside of the holes in a Top Weight (65). Set the Top Weight onto the front stack of Weights (25). Insert both Long Weight Guides (62) into the stack of Weights. Make sure that the holes in the Weight Guides are at the top, as shown.

- Press a Weight Tube Bumper (64) into the end of the other Weight Tube (63). Insert the Weight Tube into the rear stack of Weights (25). Make sure that the pin on the Weight Tube is sitting in the pin groove in the top Weight. Lubricate the inside of the holes in the other Top Weight (65). Set the Top Weight onto the rear stack of Weights (25). Insert both Short Weight Guides (73) into the stack of Weights. Make sure that the holes in the Weight Guides are at the top, as shown.

- Attach the upper ends of the Short Weight Guides (73) to the Top Frame (55) with an M8 x 150mm Bolt (60), two 13mm x 19mm Spacers (61), and an M8 Nylon Locknut (3). Attach the upper ends of the Long Weight Guides (62) to the Top Frame (55) with an M8 x 150mm Bolt (60), two 13mm x 19mm Spacers (61), and an M8 Nylon Locknut (3).
ARM ASSEMBLY

- Locate and open the parts packet labeled “ARM ASSEMBLY.” Lubricate an M10 x 83mm Bolt (67). Attach the Leg Press Arm (96) to the Stabilizer (5) with the Bolt and an M10 Nylon Locknut (21). Do not overtighten the Locknut; the Leg Press Arm must be able to pivot freely. Align the welded tubes on the Leg Press Plate (95) with a set of holes in the Leg Press Arm (96). Attach the Leg Press Plate to the Leg Press Arm with the Press Pin (97).

- Press a 25mm x 22mm Plastic Bushing (90) onto each welded spacer on the Press Frame (17). Slide the Press Frame into place onto the Base (4). Note: This will be a tight fit. The Plastic Bushings should fit on each end of the indicated tube in the Base. Make sure that the holes are on the side shown. Lubricate the M10 x 196mm Bolt (59). Attach the Press Frame (17) to the Base (4) with the
Bolt and an M10 Nylon Locknut (21).
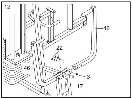
- Attach the Press Arm (46) to one side of the Press Frame (17) with two M8 x 63mm Bolts (22) and two M8 Nylon Locknuts (3). Assemble the other Press Arm (46) in the same manner.

- Identify the Right Arm (48) and the Left Arm (47). Note the position of the welded bracket on each Arm. Arm identification is very important for step 14. Attach a “V”-pulley (50) and a Long Cable
Trap (31) to the Right Arm (48) with an M10 x 57mm Bolt (86) and an M10 Nylon Locknut (21). Do not tighten the Locknut yet. Attach a “V”-pulley (50) and a Long Cable Trap (31) to the Left Arm (47) in the same manner.
- Lubricate both axles on the Top Frame (55). Slide the Right Arm (48) onto the right axle. Note: Be careful not to confuse the Right Arm with the Left Arm (47); refer to step 13 to identify the Right Arm. Make sure that the upper end of the Right Arm is behind the indicated bracket on the Top Frame (55). Tap two 25mm Retainers (69) and a 25mm Round Cover Cap (70) onto the axle. Make
sure that the teeth on the Retainers bend toward the Round Cover Cap, as shown in the inset drawing. Attach the Left Arm (47) in the same way. Wet the lower end of the Right and Left Arms
(47, 48) with soapy water. Slide a 254mm Pad (45) onto the lower end of each Arm.
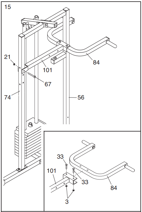
- See the inset drawing. Attach the Military Press Arm (84) to the Pivot Arm (101) with two M8 x 57mm Bolts (33) and two M8 Nylon Locknuts (3). Attach the Pivot Arm (101) to the VKR Upright
(74) with an M10 x 83mm Bolt (67) and an M10 Nylon Locknut (21).
- Locate and open the parts packets labeled “CABLE ASSEMBLY” and “PULLEYS.” During steps 16 through 35, refer to the CABLE DIAGRAMS on pages 26–27 of this manual to verify proper cable routing. Before beginning this section, fully unwind the four Cables. Identify the four cables by comparing their lengths and ends. The approximate length of each Cable is listed after the key number in the drawing. IMPORTANT: While assembling the cables, do not over-tighten the bolts and nuts attaching the pulleys. The pulleys must be able to turn freely.

- Locate the High Cable (58). Wrap the High Cable over a 90mm Pulley (15). Attach the Pulley to the Top Frame (55) with an M10 x 92mm Bolt (88) and an M10 Nylon Locknut (21). Make sure that the end of the Cable with the ball is on the indicated side of the Pulley and that the Cable is between the Pulley and the hook.

- Wrap the High Cable (58) around a “V”-pulley (50). Attach the “V”-pulley and a Long Cable Trap (31) to the indicated bracket on the Front Upright (42) with an M10 x 57mm Bolt (86) and an M10 Nylon Locknut (21). Make sure that the Long Cable Trap is positioned to hold the Cable in place.
19. Route the High Cable (58) around the “V”-pulley (50) on the Left Arm (47). Make sure that the Cable is in the groove of the Pulley and that the Long Cable Trap (31) is positioned to hold the Cable in place. Tighten the M10 x 57mm Bolt (86) and the M10 Nylon Locknut (not shown).
- Route the High Cable (58) around the “V”-pulley (50) on the Right Arm (48). Make sure that the Cable is in the groove of the “V”-pulley and that the Long Cable Trap (31) is turned to hold the Cable in place. Tighten the M10 x 57mm Bolt (86) and the M10 Nylon Locknut (not shown).

- Attach the Pulley Bracket (20) to the Top Frame (55) with the M8 x 120mm Bolt (68) and an M8 Nylon Locknut (3). Do not overtighten the Locknut; the Pulley Bracket must be able to move freely.
See the inset drawing.
- Route the High Cable (58) over the 90mm Pulley (15) attached to the Pulley Bracket (20). Tighten the M10 x 47mm Bolt (not shown) and an M10 Nylon Locknut (21). Make sure that the Cable is in the groove of the Pulley and that the Cable Trap (66) is turned to hold the Cable in place.

- See the inset drawing. Route the High Cable (58) under a 90mm Pulley (15). Attach the Pulley and a Cable Trap (66) to the upper hole in a Long “U”-bracket (57) with an M10 x 47mm Bolt (12) and an M10 Nylon Locknut (21). Make sure that the Cable is in the groove of the Pulley and that the Cable and Pulley move smoothly.

- Wrap the High Cable (58) over a 90mm Pulley (15). Attach the Pulley to the bracket on the Top Frame (55) with an M10 x 47mm Bolt (12) and an M10 Nylon Locknut (21). Make sure that the Cable is in the groove of the Pulley and that the Cable and Pulley move smoothly.

- Locate the Low Cable (23). Route the Low Cable under the 90mm Reinforced Pulley (106). Attach the Pulley and the 16mm x 14mm Spacer (7) to the lower hole in the Press Frame (17) with an M10 x 92mm Bolt (88), an M10 Washer (9), and an M10 Nylon Locknut (21). Make sure that the parts are assembled in the order shown, that the end of the Cable with the ball is on the indicated side of the Press Frame and that the Cable is between the Pulley and the crossbar on the Press Frame.

- Route the Low Cable (23) under a 90mm Pulley (15). Attach the Pulley and a Cable Trap (66) to the lower hole in the Front Upright (42) with an M10 x 92mm Bolt (88), an M10 Washer (9), and an M10 Nylon Locknut (21). Make sure that the Cable Trap is turned to hold the Cable in place.

- Route the Low Cable (23) under the 90mm Pulley (15). Attach the Pulley and a Cable Trap (66) to the upper hole in the Press Frame (17) with an M10 x 83mm Bolt (67), an M10 Washer (9), and an M10 Nylon Locknut (21). Make sure that the Cable Trap is turned to hold the Cable in the groove of
the Pulley.
- Route the Low Cable (23) under a 90mm Pulley (15). Attach the Pulley and a Cable Trap (66) to the upper hole in the Front Upright (42) with an M10 x 92mm Bolt (88), an M10 Washer (9), and an M10 Nylon Locknut (21). Make sure that the Cable Trap (66) is turned to hold the Cable in place.

- Attach the end of the Low Cable (23) to the Long “U”-bracket (57) with an M8 Nylon Locknut (3) and an M8 Washer (8). Do not completely tighten the Locknut. It should be threaded onto the end of the Cable so that only two threads are showing past the Locknut, as shown in the inset drawing.

- Attach the High Cable (58) to a Small “U”-bracket (71) with an M8 Nylon Locknut (3) and an M8 Washer (8). Do not completely tighten the Locknut. It should be threaded onto the end of the Cable so that only two threads are showing past the Locknut, as shown in the inset drawing. Attach the Small “U”-bracket (71) to the indicated Weight Tube (63) with an M8 x 45mm Bolt (24) and an M8 Nylon Locknut (3).

- Locate the Military Press Cable (72). Attach the Military Press Cable to the other Small “U”-bracket (71) with an M8 Nylon Locknut (3) and an M8 Washer (8). Do not completely tighten the Locknut. It should be threaded onto the end of the Cable so that only two threads are showing past the Locknut, as shown in the inset drawing. Attach the Small “U”-bracket (71) to the indicated Weight Tube (63) with an M8 x 45mm Bolt (24) and an M8 Nylon Locknut (3).
SEAT ASSEMBLY

- Locate and open the parts packet labeled “SEAT ASSEMBLY.” Insert an M6 x 63mm Carriage Bolt (92) through the center hole in a Seat Plate (37). Attach the Seat Plate to the Rear Backrest
(85) with two M6 x 16mm Screws (18). Insert the M6 x 63mm Carriage Bolt (92) through the indicated hole in the Leg Press Upright (56). Tighten an M6 Nylon Locknut (2) with an M6 Washer (10) onto the Carriage Bolt. Attach the top of the Rear Backrest (85) to the Leg Press Upright with an M6 x 63mm Screw (43) and an M6 Washer (10).
- Attach one end of a Seat (13) to the Rear Seat Frame (100) with two M6 x 16mm Screws (18). Attach the other end of the Seat to the Rear Seat Frame with an M6 Washer (10) and an M6 x 63mm Screw (43).
Orient the Front Backrest (41) as shown Attach the Backrest to the Front Upright (42) with two M6 x 63mm Screws (43) and two M6 Washers (10).
SEAT ASSEMBLY

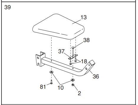
- Insert an M6 x 50mm Carriage Bolt (38) through the center hole in the Seat Plate (37). Attach the Seat Plate to the Seat (13) with two M6 x 16mm Screws (18). Insert the M6 x 50mm Carriage Bolt (38) through the indicated hole in the Front Seat Frame (36). Tighten an M6 Nylon Locknut (2)
with an M6 Washer (10) onto the Carriage Bolt. Attach the other end of the Seat (13) to the Front Seat Frame (36) with an M6 Washer (10) and an M6 x 50mm Screw (81).
- Lubricate the M8 x 57mm Bolt (33). Attach the Leg Lever (29) to the Front Seat Frame (36) with the Bolt and an M8 Nylon Locknut (3). Do not overtighten the Locknut; the Leg Lever must be able to pivot easily. Insert the Eyebolt (35) into the Leg Lever (29) from the direction shown. Tighten an M10 Nylon Locknut (21) with an M10 Washer (9) onto the Eyebolt.

- Rest the Front Seat Frame (36) on the indicated pin in the Front Upright (42). Attach the Front Seat Frame to the Front Upright with an M8 x 70mm Carriage Bolt (14) and the Seat Knob (40).

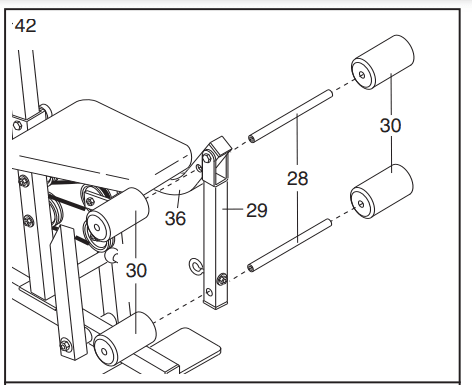
- Insert a Pad Tube (28) into the Front Seat Frame (36). Slide a Foam Pad (30) onto each end of the Pad Tube. Insert the other Pad Tube (28) into the Leg Lever (29). Slide a Foam Pad (30) onto each
end of the Pad Tube.
VRK ASSEMBLY
Locate and open the parts packet labeled “VKR ASSEMBLY.” Attach the Left VKR Arm (79) and the Right VKR Arm (80) to the VKR Upright (74) with two M8 x 70mm Bolts (75) and two M8 Nylon Locknuts (3).
- Attach the VKR Backrest (77) to the VKR Upright (74) with two M6 x 63mm Screws (43) and two M6 Washers (10). Attach a VKR Armrest (78) to the Right VKR Arm (80) with two M6 x 50mm Screws (81) and two M6 Washers (10). Attach a VKR Armrest (78) to the Left VKR Arm (79) in the same manner.
- 45. Make sure that all parts have been properly tightened. The use of the remaining parts will be explained in HOW TO USE THE WEIGHT SYSTEM, beginning on page 22 of this manual. Before using the weight system, pull each cable a few times to be sure that the cables move smoothly over the pulleys. If one of the cables does not move smoothly, find and correct the problem. IMPORTANT: If the cables are not properly installed, they may be damaged when heavy weight is used. See the CABLE DIAGRAMS on page 26 and 27 of this manual for proper cable routing. If there is any slack in the cables, you will need to remove it by tightening the cables. See TROUBLESHOOTING AND MAINTENANCE on page 25.
HOW TO USE THE WEIGHT SYSTEM
The instructions below describe how each part of the weight system can be adjusted. Refer to the exercise poster accompanying this manual to see how the weight system should be set up for each exercise. IMPORTANT: When attaching the lat bar or nylon strap, make sure that the attachments are in the correct starting position for the exercise to be performed. If there is any slack in the cables or chain as an exercise is performed, the effectiveness of the exercise will be reduced.
CHANGING THE WEIGHT SETTING

The weight system features two weight stacks. The front weight stack is connected to the upper and lower pulleys, the press arm, and the butterfly arms. The rear weight stack is connected to the military
press arm and leg press. To change the weight setting of either weight stack, insert a Weight Pin (26) under the desired Weight (25). Insert the Weight Pin until the bent end of the Weight Pin is touching the Weights, and turn the bent end downward. The weight setting of either weight stack can be changed from 6.5 lbs. (2.9 kg) to 106.5 lbs. (48.3 kg), in increments of 12.5 lbs. (5.7 kg).
Note: Due to the cables and pulleys, the amount of resistance at each exercise station may vary from the weight setting. Use the WEIGHT RESISTANCE CHART on page 24 to find the approximate amount of resistance at each weight station.
Note: 1 kg = 2.2 lbs.
ATTACHING THE ACCESSORIES

Attach the Lat Bar (54) to the High Cable (58) with a Cable Clip (53). For some exercises, the Chain (52)
should be attached between the Lat Bar and the High Cable with two Cable Clips. Adjust the length of the
Chain between the Lat Bar and the High Cable so the Lat Bar is in the correct starting position for
the exercise to be performed. The Nylon Strap (39) can be attached in the same manner.
ATTACHING AND REMOVING THE SEAT

To attach the Seat (13), set the bracket on the Front Seat Frame (36) onto the indicated pins on the Front
Upright (42). Attach the Seat Frame to the Front Upright with the M8 x 70mm Carriage Bolt (14) and
the Seat Knob (40). For some exercises, the Seat (13) must be removed. First, make sure that the chain is not attached to the leg lever. Next, remove the Seat Knob (40) and the M8 x 70mm Carriage Bolt (14) from the Front Seat Frame (36). Lift the Seat Frame off the Front Upright (42).
ATTACHING THE LEG LEVER TO THE LOW PULLEY STATION

To use the Leg Lever (29), the seat must be attached to the front upright (see ATTACHING AND REMOVING THE SEAT above). Attach one end of the Chain (52) to the Low Cable (23) with a Cable Clip (53). Attach the other end of the Chain to the Eyebolt (35) with a Cable Clip.
ADJUSTING THE LEG PRESS PLATE

Remove the Press Pin (97) from the Leg Press Plate (95) and the Leg Press Arm (96). Align the welded tubes on the Leg Press Plate (95) with the desired set of holes in the Leg Press Arm (96). Re-insert the Press Pin (97) through the welded tubes on Leg Press Plate and the holes in the Leg Press Arm.
WEIGHT RESISTANCE CHART
This chart shows the approximate weight resistance at each weight station. “Top” refers to the 6.5 lb. (2.9 kg) top weight. The other numbers refer to the 12.5 lb. (5.7 kg) weight plates. The butterfly arm resistance listed is the resistance for each butterfly arm.
The actual resistance at each weight station may vary due to differences in individual weight plates, as well as friction between the cables, pulleys, and weight guides
Note: 1 lb. = 0.454 kg
TROUBLESHOOTING AND MAINTENANCE
Inspect and tighten all parts each time you use the weight system. Replace any worn parts immediately. The weight system can be cleaned using a damp cloth and mild non-abrasive detergent. Do not use solvents.
TIGHTENING THE CABLES
Woven cable, the type of cable used on the weight system, can stretch slightly when it is first used. If there is slack in the cables before resistance is felt, the cables should be tightened. If any slack is felt when using the front weight stack, both the High Cable (58) and the Low Cable (23) will need to be tightened. If any slack is felt when using the rear weight stack, both the Military Press Cable (72) and the Leg Press Cable (99) will need to be tightened.
To tighten the cables, insert the weight pin into the middle of the weight stack. Slack can be removed from these cables in several ways:
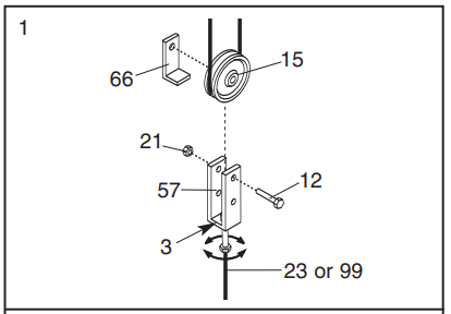
- See drawing 1. Tighten the M8 Nylon Locknut (3) that connects the end of the Low Cable (23) to the Long “U”-bracket (57). The Leg Press Cable (99) can be tightened in the same manner.
- See drawing 1. Move the 90mm Pulley (15) to the other hole in one of the Long “U”-brackets (57). Remove the M10 Nylon Locknut (21) and the M10 x 47mm Bolt (12) from the Cable Trap (66), Pulley, and Long “U”-bracket. Reattach the Pulley and Cable Trap. Make sure that the Cable Trap is in the proper position and that the Cable and Pulley move smoothly. The other Long “U”-bracket (57) can be adjusted in the same manner.

- See drawing 2. Tighten the M8 Nylon Locknut (3) that connects the end of the High Cable (58) to the Small “U”- bracket (71). The Military Press Cable (72) can be tightened in the same manner.

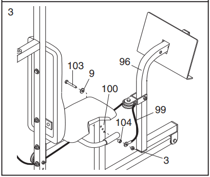
- See Drawing 3. If additional slack is felt while using the Leg Press Arm (96), then the end of the Leg Press Cable (99) must be moved to the next hole in the Rear Seat Frame (100). Remove the M8 x 74mm Shoulder Bolt (103), the M10 Washer (9), the end of the Cable, the 13mm x 6mm Spacer (104), and the M8 Nylon Locknut (3) from the Rear Seat Frame. Reattach the Bolt, the Washer, the Spacer, the end of the Cable, and the Nylon Locknuts to the next hole in the Rear Seat Frame. Do not over-tighten the cables. The top weight will be lifted off the weight stack. If a cable tends to slip off the pulleys often, it may have become twisted. Remove the cable and re-install it. If the cables need to be replaced, see ORDERING REPLACEMENT PARTS on the back cover of this manual.
CABLE DIAGRAMS
The cable diagrams on these pages show the proper routing of the High Cable (58), the Low Cable (23), the Military Press Cable (72), and the Leg Press Cable (99). Use the diagrams to be sure that the four cables and the cable traps have been assembled correctly. If the cables have not been correctly routed, the weight system will not function properly and damage may occur. The insets show the proper positioning of the cable traps. The cable traps should be positioned so that the cables will not come off the pulleys. Make sure that the cable traps do not touch or bind the cables.

ORDERING REPLACEMENT PARTS
To order replacement parts, see the front cover of this manual. To help us assist you, please be prepared to give the following information:
- the MODEL NUMBER of the product (WESY9635C.3)
- the NAME of the product (WEIDER PRO 9635 weight system)
- the SERIAL NUMBER of the product (see the front cover of this manual)
- the KEY NUMBER and DESCRIPTION of the part(s) (see the PART LIST and EXPLODED DRAWING attached in the center of this manual)
For more manuals by Weider, visit ManualsLibraryy
Weider Pro 9635 Home Gym Machine-FAQs
What exercises can I perform with the Weider Pro 9635 Home Gym Machine?
The Weider Pro 9635 supports a wide variety of exercises, including chest presses, lat pulldowns, leg curls, bicep curls, tricep extensions, and more. It offers a full-body workout for strength training.
How much weight resistance does the Weider Pro 9635 provide?
The machine includes a weight stack that provides adjustable resistance for various exercises. Check the manual for the specific weight range and resistance details.
Can multiple people use the Weider Pro 9635 at the same time?
Yes, the gym is designed with dual stations, allowing two users to exercise simultaneously, depending on the exercises being performed.
How do I assemble the Weider Pro 9635?
The home gym comes with a detailed assembly guide. Ensure you have adequate space and all the tools listed in the manual before starting the assembly process.
Is the machine suitable for beginners?
Yes, the Weider Pro 9635 is designed for users of all fitness levels, including beginners. It allows you to start with lighter resistance and gradually increase as you build strength.
What maintenance does the Weider Pro 9635 require?
Regularly inspect and tighten bolts, clean the machine, and ensure the cables are free from fraying or damage. Lubricate any moving parts as instructed in the manual to keep it in good condition.
Can the seat and other components be adjusted?
Yes, the seat and other adjustable components can be modified to fit your height and preferred workout position for maximum comfort and efficiency.
What is the maximum weight capacity of the Weider Pro 9635?
The machine has a specific user weight limit. Refer to the user manual for detailed weight capacity specifications.
Is there a warranty for the Weider Pro 9635?
The home gym typically comes with a manufacturer’s warranty. Check the manual or contact customer support for warranty details and coverage.






























Orient the Front Backrest (41) as shown Attach the Backrest to the Front Upright (42) with two M6 x 63mm Screws (43) and two M6 Washers (10).


Locate and open the parts packet labeled “VKR ASSEMBLY.” Attach the Left VKR Arm (79) and the Right VKR Arm (80) to the VKR Upright (74) with two M8 x 70mm Bolts (75) and two M8 Nylon Locknuts (3).

