Academy Outdoor Gourmet Triton Pellet Grill

IMPORTANT SAFETY WARNINGS
- For outdoor use only – do not use indoors.
- This grill is not for commercial use.
- Do not use this grill in wet or rainy conditions. Keep it at least 10 feet away from a large body of water, such as a pond, lake, swimming pool, etc.
- Do not use the grill in extremely windy conditions.
- Never operate the grill with a damaged power cord or plug, or after the grill has
malfunctioned or been damaged in any manner. - Keep any power cord away from any heated surfaces.
- Use only extension cords with a 3-prong grounding plug, rated for the power of the
equipment, and approved for outdoor use with a W-A marking (120V,60Hz). - Keep the extension cord connection dry and off the ground.
- This grill is not intended to be installed in or on boats. It is not intended to be installed in or on recreational vehicles. Do not use it for any purpose other than intended.
- Keep the grill on a hard, non-combustible, smooth, and level surface.
- Minimum clearance from the sides and back of the grill to combustible material is 36 inches.
- Do not use this appliance under overhead surfaces.
- Do not use in areas with flammable objects, structures, or surfaces.
- In case of fire, turn OFF the grill. Shut off the electric power, leave the fire to burn out on its own.
- Do not try to extinguish the fire with water.
- Parts of this grill can become very hot. Keep children and pets away from the grill during or after use until the surface has cooled.
- Use only dry potholders. Moist or damp potholders on hot surfaces may cause burns from steam.
- Do not use a towel or bulky cloth in place of potholders. Do not let potholders touch hot portions of the grill or cooking grates.
- To protect against electric shock, never immerse the cord, plugs, or electric elements in water or any liquid.
Exploded View – A

Exploded View – B

Parts List


Hardware

Tools Required

Assembly Instructions
Step 1: Remove the lid (#16) from the cooking chamber (#21) by removing the bolt and washer and sliding the hinge pins on the lid out of the hinge holes on the cooking chamber. Set the bolt and washer aside for Step 15.

Step 2: With the help of a friend, place the cooking chamber (#21) on its side. Orient the cooking chamber (#21) so the hopper side faces up. Make sure that another person is holding the cooking chamber (#21) during the assembly process. Find legs labeled “Back Left” and “Back Right”. Attach back left leg (#27) and back right leg (#8) to the cooking chamber (#21) with (8) M6 x 12 bolts (AA) and (8) M6 nuts (BB) as illustrated.

Hardware Used

Step 3: Insert the bottom shelf (#23) into the mounted legs. Attach remaining two legs (“Front Left” (#6) & “Front Right” (#28))by inserting the hooks of the bottom shelf (#23) into the holes in the legs before bolting to the cooking chamber (#21) with (8) M6 x 12 bolts (AA) and (8) M6 nuts (BB) as illustrated. Tighten all leg hardware.

Hardware Used

Step 4: Insert the wheel axle (#24) through the bottom holes in the “Front Left” (#6) and “Back Left” (#27) legs. Attach the wagon wheels (#7) onto the wheel axle (#24) with (2) M12 lock nuts (CC) as illustrated. Do not over-tighten.

Hardware Used

Step 5: With assistance, turn the cooking chamber assembly horizontally. Attach the chamber right bracket (#12) onto the cooking chamber right endcap inside with (2) M6 x 12 bolts (AA) and (2) M6 nuts (BB). Fix the grease bucket bracket (#11) on the square tube end of the chamber right bracket (#12) with a (1) M6 x 12 bolt (AA) as illustrated. Attach the chimney pipe (#14) and chimney gasket (#25) to the cooking chamber (#21) right endcap with (4) M6 x 12 bolts (AA) as illustrated.

Hardware Used

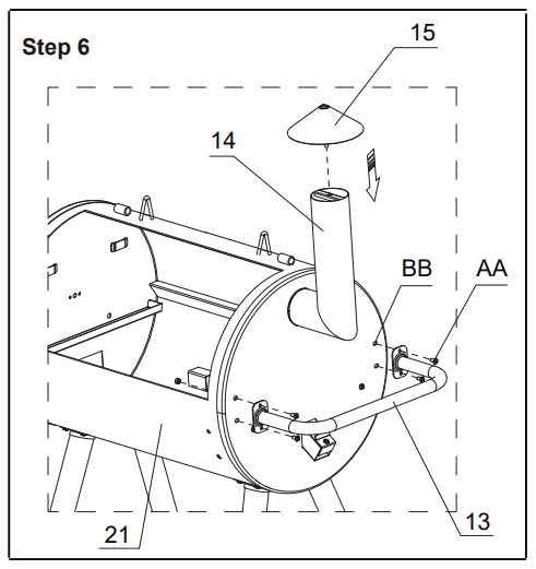
Step 6: Attach side handle (#13) to chamber right endcap with (4) M6 x 12 bolts (AA) and (4) M6 nuts (BB) as illustrated. Screw chimney cap (#15) into chimney pipe (#14)
top as illustrated.

Hardware Used

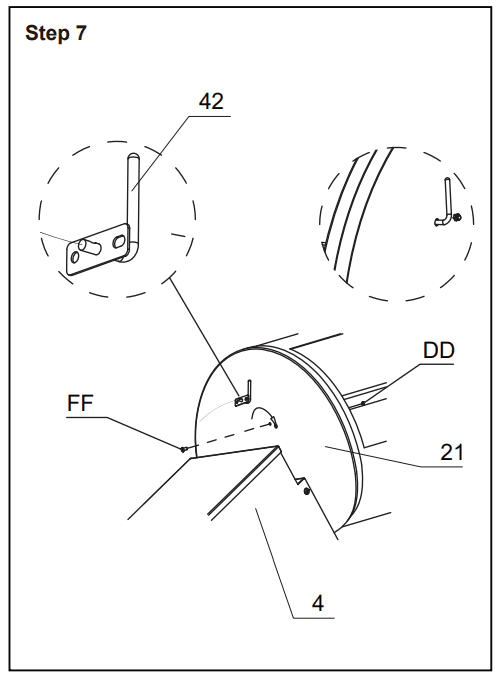
Step 7: Slide hopper gasket over auger housing. Slide the pellet hopper assembly (#4) onto the cooking chamber (#21) by inserting the auger housing through the left side wall. Slide the hopper halfway, while holding the hopper assembly (#4) away from the wall, and insert the grill probe (#42) through the wall. The grill probe (#42) should be vertical as illustrated. Secure the grill probe (#42) into place with (1) M4 x 10 bolts (FF) and (1) M4 nuts (DD) as illustrated

Hardware Used

Step 8: Secure the hopper assembly (#4) to the cooking chamber (#21) left wall with (4) M6 x 20 bolts (EE) as illustrated.

Hardware Used

Step 9: Attach front shelf bracket L (#5) to the front of the cooking chamber (#21) near the left leg with (2)M6 x 12 bolts (AA) and (2) M6 Nuts (BB). Position the front shelf (#22) to the front shelf bracket R (26) by inserting the shelf hooks through the bracket. Then insert the left side of the shelf through the front shelf bracket L (#5) on the cooking chamber (#21). Insert front shelf bracket R (#26) to the front of the cooking chamber (#21) with (2) M6 x 12 bolts (AA) and (2) M6 nuts (BB)

Hardware Used

Step 10: Place flame tamer (#19) over the fire pot inside the cooking chamber. It should rest in place as illustrated.

Step 11: Place the grease tray (#20) on the chamber right side bracket and the chamber left side bracket as illustrated

Step 12: Place cooking grates (#18) onto cooking chamber grid brackets/rails as illustrated.

Step 13: Insert warming rack brackets (#2) into the mounting tabs found on the cooking chamber

Step 14: Place the warming rack (#17) on the warming rack brackets (#2)

Step 15: Reinstall the cooking chamber lid (#16) by sliding the hinge pins into the hinges. Secure it with the washer and bolt removed in Step 1.

Step 16: Carefully screw the temp gauge (#1) fully into the lid. Adjust the orientation and lock the gauge into position using the pre-attached nut.

Step 17: Hang the grease bucket (#9) from the tube as illustrated. If desired, install the utensil “S” hooks onto the side handle.

Step 18: Attach the power cord bracket (#3) to the back of the hopper assembly (#4) with (2) M5 x 12 bolts (GG) as illustrated.

Hardware Used

Step 19: When needed, connect the meat probe to the controller by inserting the female plug into the controller socket marked “Meat Probe”. If not in use, leave disconnected and store indoors.

Step 20: Pellet Grill

Controller Instructions
CONTROLLER FUNCTIONS

SETUP PROCEDURE
Step 1: Open the grill lid; remove the warming rack and cooking grates.
Step 2: Remove the grease tray and clean off any excess food drippings or grease build-up.
Step 3: Inspect and clean the chamber right bracket. Ensure the drain tube is not blocked.
Step 4: Remove the flame tamer. Inspect the bottom of the grill body and clean out the pellet ash. Also, inspect and clean out the fire pot. Ensure there are no foreign objects in the fire pot and that the ignitor is clean and clear of debris.
Step 5: Open the hopper lid and check for any foreign objects. Fill the hopper with your choice of wood pellet fuel made for barbecue and close the hopper lid.
Step 6: Plug the power cord into a properly grounded 120V electrical outlet. DO NOT use if the ground tip has been removed from the power cord. DO NOT use an extension cord or an ungrounded outlet.
Step 7: Turn the control knob to ‘High’ in temperature controller.
Step 8: Observe the auger turning as pellets fill the tube. Once pellets reach the fire pot, turn OFF the grill. DO NOT reach into the fire pot.
Step 9: Reinstall the flame tamer, grease tray, cooking grates, and warming rack. Close the grill lid. The grill is now ready for use. Follow the LIGHTING INSTRUCTIONS to continue.
LIGHTING INSTRUCTIONS
AUTOMATIC METHOD
- With the grill properly set up and located for operation, plug the power cord into a 120V grounded electrical outlet. (Refer to SETUP PROCEDURE for more information.)
- Open the grill lid. Ensure all components are properly installed and ready for use.
- Ensure the hopper does not contain any foreign objects and is properly filled with barbecue wood pellets.
- Turn the control knob to ‘Smoke’ in temperature controller. Listen fothe r operation of the fan and auger motors. Within 5 minutes, smoke should become visible. If smoke does not initially appear, turn the oven on and wait 5 minutes before attempting to relight. (Refer to the troubleshooting section of the manual for more information.)
- Ensure the grill is lit, and keep the grill lid open for 5 minutes to complete the lighting procedure.
- Select the desired cooking temperature or smoking preset. (Refer to COOKING INSTRUCTIONS for more operating information.)
MANUAL METHOD
- With the grill properly set up and located for operation, plug the power cord into a 120V grounded electrical outlet. (Refer to SETUP PROCEDURE for more information.) DO NOT use if the ground tip has been removed from the power cord. DO NOT use an extension cord or an ungrounded electrical outlet.
- Open the grill lid. Remove the warming rack, cooking grids, grease tray, and flame tamer.
- Ensure the fire pot and ignitor are clean and free of debris or foreign objects.
- Place a generous handful of pellets into the fire pot.
- Apply an approved wood pellet starter, like fire starter gel, over the pellets.
- Using a long fireplace match or long lighter, light the starter and pellets.
- After the pellets are burning well (up to 5 minutes), carefully replace the flame tamer, grease tray, cooking grids, and warming rack.
- Turn the control knob to “Smoke”. Listen for the fan and auger motors to operate.
- Keep the grill lid open for 5 minutes to complete the lighting procedure.
- 0. Select the desired cooking temperature or smoking preset. (Refer to COOKING INSTRUCTIONS for more operating information.)
Operating Instructions
COOKING INSTRUCTIONS

SMOKE MODE

Begin by following the SETUP PROCEDURE and LIGHTING INSTRUCTIONS. Leave the Control Knob set to “ Smoke ” to remain in smoke mod. Press the Meat / P button to select one of four preset smoking programs, ranging from P0 to P3. The smoke preset will be indicated on the LCD. In smoke mode, the grill regulates the time that the auger feeds fuel to the fire pot according to a preset, selectable program. The preset level
can be chosen and set for optimal performance, depending on the type of food being cooked. Increasing the preset would result in a lower cooking temperature.
COOKING INSTRUCTIONS
The following table represents the preset smoking modes showing the relation of the smoke produced to the cooking temperature. A higher preset level will produce more smoke, but a lower cooking temperature.
POST COOKING INSTRUCTIONS
It is recommended to allow the grill to operate at a high temperature following each cooking session to burn off excess juices to help maintain a clean cooking appliance (similar to a self-cleaning oven).

- Turn the control knob to “High”.
- With the lid closed, allow the grill to operate 5 to 15 minutes, depending on what was cooked or the amount of residue/grease on the grates.
- Turn OFF the grill (refer to “Shutdown Instructions”).
- Using a long-handled grill cleaning brush, scrape clean the cooking grates.
- Once the grill has properly shut down and cooled, unplug the power cord and properly store the grill in a safe, dry place away from children and pets.
Operating Instructions
MEAT PROBE

The meat probe allows you to monitor the internal temperature of the food, which can make your grilling experience easier. This easy-to-use function can be used for cooking and smoking modes.
CONNECTION
Insert the 1/8” male plug into the Meat Probe port on the controller. Ensure it is fully seated for proper connection by pressing firmly until it snaps in place. The Meat Probe can be connected at DQ\time during the grilling process.
OPERATION
Start the grill according to the SET UP PROCEDURE and LIGHTING INSTRUCTIONS. With the desired cooking mode/temperature selected, the Meat Probe can now be used.
Meat Probe can now be used. GRILLING TIPS:
- ALWAYS keep your grill clean and stored in a safe, dry place.
- After the food has finished cooking and been removed, it is recommended to set a high temperature in Cook Mode and allow the grill to ‘burn off’ food residue and drippings. If a fire occurs, do not unplug the power cord. Keep the lid closed and turn the power OFF at the Command Center. The fire should burn itself out shortly while the grill is in shutdown mode.
- Preheat the grill before setting the desired grilling temperature or entering smoke mode. This will not only get the grates hot but also help the grates and other parts remain hygienic.
- Clean or wipe off cooking grates before use to help reduce food stains or flare-ups
- Ensure the grease bucket is clean before each use. To make clean-up easier, place aluminum foil inside the bucket as a liner.
- Never spray vegetable oil onto hot cooking grates.
- Keep the lid closed while grilling or smoking. The pellet system operates based on the internal temperature of the grill.
- For long cook times, periodically look into the pellet hopper to check the level of wood pellets.
- Add more wood pellets as needed. DO NOT reach into the hopper while the grill is operating.
- Practice makes perfect. As with any smoker or grill, the more you use it, the more you understand the cooking temperatures and performance.
Care and Maintenance
GRILLING TIPS & CLEANLINESS
- If you pre-cook meat or poultry, do so immediately before grilling.
- Never defrost meat at room temperature or on a countertop.
- Refrigerate leftovers within 2 hours of taking othem ff the grill.
- Always wash hands thoroughly with soap and hot water prior to handling food and after handling raw meat, uncooked poultry, or seafood.
- When using a platter to carry raw meat, uncooked poultry, or seafood, make sure to wash the platter thoroughly with soap and hot water before placing cooked foods back on the platter.
- Never use the same utensils when handling raw meat, uncooked poultry, fish, or seafood unless you wash the utensils thoroughly with soap and hot water.
- Never re-use marinade from raw meat or uncooked poultry on foods that have been cooked and are ready to serve
Cleaning the Grill Body
Use warm, soapy water to clean the inside and outside of the grill body with a cloth and then wipe it dry. Treat the interior surface of the grill body with a light coat of vegetable oil and then wipe it dry periodically to prevent rusting. DO NOT use oven cleaners, abrasive cleaners, or abrasive cleaning pads on the surface of the grill body.
Cleaning the Cooking Grates and Grease Tray
With a cloth, use warm, soapy water to wash the cooking grates and grease tray, and then wipe them dry. Lightly coating them with vegetable or olive oil will help prevent corrosion. After removing cooked food, the nd the grates are still hot. Carefully brush the cooking grates with a long-handled cleaning brush. Wear oven mittens or gloves when around a hot grill.
Cleaning the Grease Bucket
For easier cleaning, use aluminum foil to line the grease bucket. Periodically, clean or replace the aluminum foil liner. Keep excess grease out of the grease bucket and the interior of the grill body. If too much grease collects inside the grill or within the grease bucket, a grease fire could result.
Removing Wood Pellet Ash
Depending on use, periodically remove wood pellet ash that has collected within the fire pot and grill body or other parts. With the grill COLD and UNPLUGGED, remove the cooking grates and grease tray for access into the fire pot and grill body. Vacuum the wood pellet ash residue out of the fire pot and grill body interior using a shop vacuum.
Storing the Grill
Disconnect the power cord and store the grill in a dry, safe place away from children and pets. If the grill is stored outdoors, make certain it is properly protected to prevent water from entering the hopper and grill body interior. If possible, do not leave wood pellets in the hopper during storage.
Paint and Corrosion
Never apply paint to interior surfaces. Rust spots on the interior can be buffed, cleaned, and then lightly coated with vegetable oil or vegetable oil spray. Maintaining a light coat of oil will help minimize rusting. To protect against excessive rust, keep the grill clean and covered at all times when not in use. Proper cleaning, maintenance, and the use of clean, dry, quality pellet fuel will prevent common grill operational problems. However, in the event of poor operation or product failure, refer to the “Troubleshooting” section for helpful tips.
Troubleshooting



Control Board Back View

The circuit board is equipped with a 5-amp, 120-volt fast-blow fuse to help protect
against power surges and electrical shorts. When not in use, always unplug and store your grill. This will help prevent electrical damage from power surges or storms
Digital Control Wiring Diagram

FOR MORE MANUALS BY BLOGS, VISIT MANUALSLIBRARYY
Academy Outdoor Gourmet Triton Pellet Grill-FAQs
How do I cook on a pellet grill if I’m a beginner?
Keep the lid closed to retain flavor. For more smoke flavor, cook at lower temperatures for longer. For less smoke, use higher heat for shorter times. If cooking for several hours, check the hopper occasionally to make sure pellets are feeding properly.
What type of fuel does a pellet grill use?
Pellet grills use compressed wood pellets. These provide both the heat and the smoke for grilling, smoking, baking, and more.
How much electricity does a pellet grill consume?
It uses about 300 watts at startup to ignite the pellets, then just 50 watts to run the fan, auger, and control panel during cooking. The burning pellets provide the main source of heat.
How do I preheat the pellet grill?
With the lid closed, turn the dial to your desired temperature. Pellets begin to ignite in about 2 minutes, producing white smoke. Let the grill preheat for 10–15 minutes before placing food inside.
How does a pellet grill ignite and operate?
Pellets are fed into a fire pot, where an igniter rod heats them until they combust. A fan circulates heat and smoke throughout the grill, giving precise temperature control—typically ranging from 180°F to 500°F.
What powers the pellet feed system?
The grill uses an electric-powered system to run the control panel, auger, and fan, which automatically manage pellet feeding and temperature regulation.
Can I use my pellet grill in the rain?
It’s not recommended. While the grill itself may withstand moisture, wet pellets can swell and cause jams in the auger system. Always keep your grill and pellets dry.
What are some downsides of pellet grills?
Pellet grills are excellent for low-and-slow cooking, but they may not reach the high temperatures needed for searing. This makes them less suitable for some grilling styles.
