![]()
Gold’s Gym GGBE29922 XR 30 Bench Home Gym

WARNING DECAL PLACEMENT

IMPORTANT PRECAUTIONS
WARNING: To reduce the risk of serious injury, read the following important precautions before using the weight bench.
- Read all instructions in this manual before using the weight bench. Use the weight bench only as described in this manual.
- It is the responsibility of the owner to ensure that all users of the weight bench are adequately informed of all precautions.
- The weight bench is intended for home use only. Do not use the weight bench in any commercial, rental, or institutional setting.
- Use the weight bench only on a level surface. Cover the floor beneath the weight bench to protect the floor.
- Make sure all parts are properly tightened each time the weight bench is used. Replace any worn parts immediately.
- Keep children under 12 and pets away from the weight bench at all times.
- Keep hands and feet away from moving parts.
- Always wear athletic shoes for foot protection while exercising.
- Make sure that the cables remain on the pulleys at all times. If the cables bind as you are exercising, stop immediately and make sure that the cables are on the pulleys.
- Always set both weight rests at the same height.
- The weight bench is designed to support a maximum user weight of 300 pounds. Do not place more than 310 pounds, including the barbell, on the weight rests. Do not place more than 150 pounds on the weight carriage. Note: The weight bench is designed to be used with an Olympic barbell. The weight bench does not include a barbell or weights.
- Always place an equal amount of weight on each side of the weight carriage or barbell.
- Always secure the weights with the weight clips when they are mounted on the weight carriage.
- Always exercise with a partner. Your partner should be ready to catch the barbell if you cannot complete a repetition.
- Always set the back leg over the center base before using the leg lever. Always attach the bench cable to the low cable before performing a bench exercise.
- Always move the bench out of the way when performing squat exercises. Always disconnect the barbell from the high cable when performing an exercise that does not require it. The barbell could be lifted off of the weight rests and fall.
- If you feel pain or dizziness at any time while exercising, stop immediately and begin cooling down.
BEFORE YOU BEGIN
Please review the drawing below and familiarize yourself with the parts that are labeled.

Note: The terms “right side” and “left side” are determined relative to a person sitting on the bench; they do not correspond to right and left on the drawings in the manual.
ASSEMBLY
Before beginning assembly, carefully read the following information and instructions:
- Assembly requires two people.
- Place all parts in a cleared area and remove the packing materials. Do not dispose of the packing materials until assembly is completed.
- Tighten all parts as you assemble them unless instructed to do otherwise.
- As you assemble the weight bench, make sure all parts are oriented as shown in the drawings.
- For help identifying small parts, use the PART IDENTIFICATION CHART.
The following tools (not included) are required for assembly:
- Two adjustable wrenches
- One rubber mallet
- One standard screwdriver
- One Phillips screwdriver
- Lubricants, such as grease or petroleum jelly, and soapy water.
- Press a 2” x 3” Square Inner Cap (50) into the end of the Right Base (22). Identify the Right Upright (2) by the positions of the numbers and holes. Attach the Right Upright to the Right Base (22) with two M10 x 62mm Carriage Bolts (74) and two M10 Nylon Locknuts (77). Make sure that the numbers on the Right Upright are on the side shown. Do not tighten the Locknuts yet. Repeat this step with the Left Base (23) and Left Upright (1). Make sure the numbers on the Left Upright are on the side shown in the inset drawing.

- Press two 50mm Thick Square Inner Caps (53) and a 2” x 3” Inner Cap (50) into the ends of the Center Base (24). Have a second person hold the Right and Left Uprights (1, 2 [not shown]). Attach the Right and Left Bases (22, 23) to the Center Base (24) with two M10 x 97mm Bolts (90) and two M10 Nylon Locknuts (77). Do not tighten the Locknuts yet.
- Press two 48mm Round Inner Caps (47) into the ends of the weight tube on the Weight Carriage (25). Press two 75mm Bushings (26) into the top and bottom of the Weight Carriage. Orient the Weight Carriage (25) and Center Upright (3) so that the welded bolt and letters are on the indicated sides. Slide the Weight Carriage onto the bottom of the Center Upright. Attach the Carriage Stop (27) to the indicated hole in the Center Upright (3) with an M10 x 86mm Bolt (63) and an M10 Nylon Locknut (77).
- Attach the Center Upright (3) to the Center Base (24) with two M10 x 75mm Bolts (73), four M10 Washers (79), and two M10 Nylon Locknuts (77). Do not tighten the Locknuts yet.
- Press two 75mm Bushings (26) into the top and bottom of the Safety Spotter (10). Attach the two Safety Spotter Bumpers (34) to the Safety Spotter (10) with two M10 x 25mm Button Bolts (81), two M10 Washers (79), and two M10 Nylon Locknuts (77). Pull the Knob (30) out as far as it will go. Slide the Safety Spotter (10) onto the top of the Center Upright (3) and engage the Knob into an adjustment hole. Turn the Knob clockwise until tight. Press a 60mm Square Inner Cap (46) into the top of the Center Upright (3).

- Press two 75mm Bushings (26) into the top and bottom of the Right Weight Rest (12). Pull the Knob (30) out as far as it will go. Slide the Right Weight Rest (12) onto the Right Upright (2) and engage the Knob into an adjustment hole in the Upright. Turn the Knob clockwise until tight. Repeat this step with the Left Weight Rest (not shown).
- Press two 60mm Square Inner Caps (46) into the top of the Left and Right upright (1, 2). Orient the Center Frame (4) with the decal on the side shown. Attach the Center Frame to the Left and Right Uprights (1, 2) with four M10 x 78mm Bolts (70), four M10 Washers (79), and four M10 Nylon Locknuts (77). Do not tighten the Locknuts yet.
- Press two 38mm x 76mm Inner Caps (49) into the end of the Right and Left Frames (5, 6). Attach the Right and Left Frames (5, 6) to the Center Upright (3) with an M10 x 81mm Bolt (65) and an M10 Nylon Locknut (77). Attach the Right Frame (5) to the Center Frame (4) with an M10 x 120mm Bolt (75), an M10 Washer (79), and an M10 Nylon Locknut (77). Attach the Left Frame (6) to the Center Frame in the same manner. Do not tighten the M10 Nylon Locknuts (77) yet.
- Press a 60mm Square Arched Inner Cap (89) into the end of the Top Frame (9). Attach the Top Frame (9) to the Right and Left Frames (5, 6) with two M10 x 81mm Bolts (65) and two M10 Nylon Locknuts (77). Do not tighten the Locknuts yet.

- Orient the Pull-up Bar (8) with the bend on top. Attach the Pull-up Bar to the Right Frame (5) with two M10 x 57mm Bolts (78), two M10 Washers (79), and two M10 Nylon Locknuts (77). Do not tighten the Locknuts yet. Attach the Pull-up Bar (8) to the Left Frame (not shown) in the same manner. Tighten the M10 Nylon Locknuts (77) used in steps 1–10.
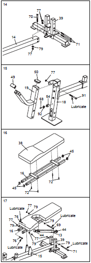
- Press two 38mm x 50mm Angled Inner Caps (52) into the top of the Back Leg (39). Press two 50mm Square Inner Caps (51) into the ends of the Stabilizer (40). Orient the Stabilizer (40) so the decal is in the position shown. Attach the Back Leg (39) to the Stabilizer with two M10 x 62mm Carriage Bolts (74) and two M10 Nylon Locknuts (77). Do not tighten the Locknuts yet.
- Press a 60mm Square Inner Cap (46) into the top of the Front Leg (18). Orient the Bench Frame (14) as shown. Attach the Bench Frame to the Front Leg (18) with two M10 x 78mm Bolts (70), two M10 Washers (79), and two M10 Nylon Locknuts (77). Do not tighten the Locknuts yet.
- Press a 38mm x 50mm Inner Cap (64) into the indicated part of the Sliding Seat Frame (15). Press two 75mm Bushings (26) into the ends of the Sliding Seat Frame. Orient the Sliding Seat Frame (15) as shown. Pull the Knob (not shown) out as far as it will go. Slide the Sliding Seat Frame onto the Bench Frame (14) and engage the Knob into an adjustment hole in the Bench Frame. Press a 60mm Square Angled Inner Cap (95) into the end of the Bench Frame (14).

- Attach the Bench Frame (14) to the Back Leg (39) with an M10 x 78mm Bolt (70), two M10 x 164 mm Bolts (71), an M10 Washer (79), and three M10 Nylon Locknuts (77). Do not tighten the Locknuts yet.
- Attach the Leg Lever Bumper (54) to the Front Leg (18) with the M4 x 19mm Screw (68) and an M5 Washer (92). Press a 38mm x 76mm Inner Cap (49) and a 2” x 3” Inner Cap (50) into the Leg Lever (19). Lubricate an M10 x 102mm Bolt (91) with grease. Attach the Leg Lever (19) to the Front Leg (18) with the Bolt and an M10 Nylon Locknut (77). Do not overtighten the Locknut; the Leg Lever must be able to pivot easily.
- Press four 25mm x 38mm Inner Caps (45) into the Backrest Frame (16). Orient the Backrest (38) as shown. Attach the Backrest to the Backrest Frame (16) with four M6 x 16mm Screws (72).
- Press two 38mm Square Inner Caps (44) into the ends of the Support Leg (13). Lubricate an M10 x 154mm Bolt (69) with grease. Attach the Support Leg (13) to the Backrest Frame (16) with the Bolt, two M10 Washers (79), and an M10 Nylon Locknut (77). Lubricate an M10 x 164 mm Bolt (71) with grease. Attach the Support Leg (13) to the Back Leg (39) with the Bolt, two M10 Washers (79), and an M10 Nylon Locknut (77). Lubricate two M10 x 45mm Bolts (76) with grease. Attach the Backrest Frame (16) to the Sliding Seat Frame (15) with the Bolts, two M10 Washers (79), and two M10 Nylon Locknuts (77). Do not overtighten the M10 Nylon Locknuts (77); the Support Leg (13) and the Backrest Frame (16) must be able to pivot easily.

- Press two 38mm Square Inner Caps (44) into the ends of the Seat Frame (17). Orient the Seat (37) with the wide end on the side shown. Attach the Seat to the Seat Frame (17) with four M6 x 16mm Screws (72).
- Lubricate an M10 x 154mm Bolt (69) with grease. Attach the Seat Frame (17) to the Backrest Frame (16) with the Bolt, two M10 Washers (79), and an M10 Nylon Locknut (77). Do not over-tighten the Nylon Locknut; the Seat Frame must be able to pivot easily.
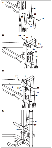
- Attach the Right and Left Power Assist Legs (20, 21) to the Leg Lever (19) with two M10 x 100mm Bolts (66) and two M10 Nylon Locknuts (77).
- Refer to the CABLE DIAGRAMS of this manual to identify the different cables included with the weight bench. Locate the Bench Cable (58). Route the Cable through the Front Leg (18) and attach it to the Leg Lever (19) with an M10 x 91mm Bolt (67), two 35mm Spacers (82), two M10 Washers (79), and an M10 Nylon Locknut (77). Press a 2” x 3” Inner Cap (50) into the bottom of the Leg Lever (19).

- Route the Bench Cable (58) under a 4 1/2” Pulley (35). Attach the Pulley to the Front Leg (18) with an M10 x 75mm Bolt (73), two 17mm Spacers (96), two M10 Washers (79), and an M10 Nylon Locknut (77).
- Attach the Bench Cable (58) to the Back Leg (39) with a Cable Clip (28).
- Press a 19mm Round Inner Cap (48) into each end of the three Pad Tubes (41). Slide two Pad Tubes (41) through the holes in the Leg Lever (19). Slide the third Pad Tube through the holes in the Front Leg (18). Slide two Foam Pads (42) onto each Pad Tube.
- Locate the High Cable (61). See the inset drawing. Slide a Cable Ball (56) onto the end of the High Cable (61). Thread an M6 Locknut (80) onto the Cable as far as it will go. Tighten a Cable Eye (57) onto the Cable. Hold the Cable Eye and fully tighten the Locknut against the Cable Eye. Slide the Cable Ball over the Locknut and the Cable Eye. Route the end of the High Cable (61) without a Cable Ball (56) through the tube on the left Pulley Arm (7). Wrap the Cable around a 4 1/2” Pulley (35) and attach the Pulley to the Pulley Arm with an M10 x 45mm Bolt (76) and an M10 Nylon Locknut (77). Make sure the Cable is under the indicated pin on the Pulley Arm.

- Wrap the High Cable (61) around an 88mm Pulley (36). Attach the Pulley and a Small Cable Trap (93) to the Left Frame (6) with an M10 x 45mm Bolt (76) and an M10 Nylon Locknut (77).
- Wrap the High Cable (61) around a 4 1/2” Pulley (35). Attach the Pulley and a Large Cable Trap (55) to the “U”-Bracket (33) with an M10 x 45mm Bolt (76) and an M10 Nylon Locknut (77).
- Wrap the High Cable (61) around an 88mm Pulley (36). Attach the Pulley and a Small Cable Trap (93) to the Right Frame (5) with an M10 x 45mm Bolt (76) and an M10 Nylon Locknut (77).
- Route the High Cable (61) through the tube on the right Pulley Arm (7). Wrap the Cable around a 4 1/2” Pulley (35). Attach the Pulley to the Pulley Arm with an M10 x 45mm Bolt (76) and an M10 Nylon Locknut (77). Slide a Cable Ball (56) onto the end of the High Cable (61). Thread an M6 Locknut (80) onto the Cable as far as it will go. Tighten a Cable Eye (57) onto the Cable. Hold the Cable Eye and fully tighten the Locknut against the Cable Eye. Slide the Cable Ball over the Locknut and the Cable Eye.
- Locate the Carriage Cable (60). Attach the end of the Cable inside the Top Frame (9) with an M10 x 75mm Bolt (73), two 27mm Spacers (94), two M10 Washers (79), and an M10 Nylon Locknut (77).

- Wrap the Carriage Cable (60) around a 4 1/2” Pulley (35). Attach the Pulley and a Large Cable Trap (55) to the single set of holes in the pair of Pulley Plates (31) with an M10 x 45mm Bolt (76) and an M10 Nylon Locknut (77).
- Wrap the Carriage Cable (60) around an 88mm Pulley (36). Attach the Pulley inside the Top Frame (9) with an M10 x 75mm Bolt (73), two 17mm Spacers (96), two M10 Washers (79), and an M10 Nylon Locknut (77).
- Wrap the Carriage Cable (60) around an 88mm Pulley (36). Attach the Pulley between the Right and Left Frames (5, 6) with an M10 x 81mm Bolt (65), two 15mm Spacers (83), and an M10 Nylon Locknut (77).
- Attach the end of the Carriage Cable (60) to the welded bolt on the Weight Carriage (25) with an M10 Nylon Locknut (77).

- Locate the Low Cable (59). Lay the Cable inside the bracket on the Center Base (24) so that the ball is on the side shown. Attach a 4 1/2” Pulley (35) inside the bracket with an M10 x 45mm Bolt 76) and an M10 Nylon Locknut (77).
- Route the Low Cable (59) through the Center Upright (3) and under the bar in the bracket on the Center Base (24). Wrap the Cable around an 88mm Pulley (36). Attach the Pulley to the rear hole in the bracket on the Center Base with an M10 x 45mm Bolt (76) and an M10 Nylon Locknut (77).
- Wrap the Low Cable (59) around a 4 1/2” Pulley (35). Attach the Pulley and a Large Cable Trap (55) to the bottom set of holes in the pair of Pulley Plates (31) with an M10 x 45mm Bolt (76) and an M10 Nylon Locknut (77).
- Wrap the Low Cable (59) around an 88mm Pulley (36). Attach the Pulley to the front hole in the bracket on the Center Base (24) with an M10 x 45mm Bolt (76) and an M10 Nylon Locknut (77).

- Attach the Low Cable (59) to the “U”-Bracket (33) with an M6 Washers (62) and an M6 Locknut
(80). Do not completely tighten the Locknut; it should be threaded onto the end of the Cable until only two threads are showing above the Locknut, as shown in the inset drawing.
- Make sure all parts of the weight bench are properly tightened. In addition, pull each cable a few times to make sure the cables move smoothly over the pulleys. If the cables do not move smoothly, locate and correct the problem. When weights are used, the cables may be damaged if they are incorrectly routed.
CABLE DIAGRAMS
The cable diagrams below show the proper routing of the Bench Cable (58), the Low Cable (59), the Carriage Cable (60), and the High Cable (61). Use the diagram to make sure that the cables and the cable traps have been assembled correctly. If the cables have not been correctly routed, the weight bench will not function properly and damage may occur. The numbers show the correct route for each cable. Make sure that the cable traps do not touch or bind the cables.

PART IDENTIFICATION CHART—Model No. GGBE29922
Refer to the drawings below to identify small parts used in assembly. The number in parentheses by each drawing is the key number of the part, from the PART LIST in the center of this manual. Note: Some small parts may have been pre-attached. If a part is not in the parts bag, check to see if it has been pre-attached.

EXPLODED DRAWING—Model No. GGBE29922

For more Manuals by Golds Gym, visit ManualsLibraryy
Gold’s Gym GGBE29922 XR 30 Bench Home Gym-FAQs
Is Gold’s Gym good for weight loss?
Yes, Gold’s Gym is a well-known fitness center that offers various programs like strength training, yoga, Zumba, and personal training, all of which can support weight loss goals.
What is a gym chain?
A gym chain is a group of fitness centers operating under the same brand, often providing a shared membership program for access to multiple locations.
How much does a standard gym bar weigh?
A standard Olympic barbell typically weighs 20 kilograms (44 pounds) and is widely used in powerlifting and strength training exercises.
Why is Gold’s Gym famous?
Gold’s Gym gained popularity with legendary bodybuilders like Arnold Schwarzenegger and became a symbol of the fitness culture, especially after the success of the 1970s documentary Pumping Iron.
Can going to the gym help with weight loss?
Yes, strength training and other gym exercises help build lean muscle mass, which boosts metabolism and improves body composition, supporting weight loss.
What muscles does bench pressing work?
Bench presses primarily target the chest (pectoralis major), shoulders (anterior deltoids), and arms (triceps brachii), making them a key upper-body strength exercise.
What is the standard height for a bench?
According to accessibility guidelines, the recommended bench seat height ranges between 17 to 19 inches above the ground or floor space.
How do I adjust the bench angle?
To change the bench angle, slightly lift the back pad with one hand and pull the adjustment pin with the other. Once the pin is released, you can set the desired incline or decline position.











