Blog Post

Golds Gym XRS 50 Home Gym System featured image

Golds Gym XRS 50 Home Gym System User Manual

Golds Gym XR66 GGSY69530 Home Gym System logoGolds Gym XRS 50 Home Gym System

Golds Gym XRS 50 Home Gym System product image

WARNING DECAL PLACEMENT

This drawing shows the location(s) of the warning decal(s). If a decal is missing or illegible, see the front cover of this manual and request a free replacement decal. Apply the decal in the location shown.

Note: The decal(s) may not be shown at actual size.

Golds Gym XRS 50 Home Gym System 49

IMPORTANT PRECAUTIONS

WARNING: To reduce the risk of serious injury, read all important precautions and instructions in this manual and all warnings on your weight system before using your weight system. ICON assumes no responsibility for personal injury or property damage sustained by or through the use of this product.

  1. It is the responsibility of the owner to ensure that all users of the weight system are adequately informed of all precautions.
  2. Before beginning any exercise program, consult your physician. This is especially important for persons over age 35 or persons with pre-existing health problems.
  3. Use the weight system only as described in this manual.
  4. The weight system is intended for home use only. Do not use the weight system in a commercial,
    rental, or institutional setting.
  5. Keep the weight system indoors, away from moisture and dust. Do not put the weight system in a garage or covered patio, or near water.
  6. Use the weight system only on a level surface. Cover the floor beneath the weight system to protect the floor.
  7. Inspect and properly tighten all parts each time the weight system is used. Replace any worn parts immediately.
  8. Keep children under age 12 and pets away from the weight system at all times.
  9. The weight system should not be used by persons weighing more than 300 lbs. (136 kg).
  10. Wear appropriate exercise clothes while exercising; do not wear loose clothes that could become caught on the weight system. Always wear athletic shoes for foot protection.
  11. Keep hands and feet away from moving parts.
  12. Always secure the weight stack with the lock pin and the lock after exercising to prevent unauthorized use of the weight system (see LOCKING THE WEIGHT STACK on
    page 25).
  13. Make sure that the cables remain on the pulleys at all times. If the cables bind while you are exercising, stop immediately and make sure that the cables are on the pulleys.
  14. Always stand on the footplate when performing an exercise that could cause the weight system to tip.
  15. Never release the arms, leg lever, lat bar, or handle strap while weights are raised. The weights will fall with great force.
  16. Always disconnect the lat bar from the weight system when performing an exercise that does not require the lat bar.
  17.  Over-exercising may result in serious injury or death. If you feel faint, if you become short of breath, or if you experience pain while exercising, stop immediately and cool down.

BEFORE YOU BEGIN

Thank you for selecting the versatile GOLD’S GYM® XRS 50 weight system. The weight system offers a
selection of weight stations designed to develop every major muscle group of the body. Whether your goal is to tone your body, build dramatic muscle size and strength, or improve your cardiovascular system, the weight system will help you to achieve the specific results you want.

For your benefit, read this manual carefully before using the weight system. If you have questions after reading this manual, please see the front cover of this manual. To help us assist you, note the product model number and serial number before contacting us. The model number and the serial number decal’s location are shown on this manual’s front cover. Before reading further, please review the drawing below and familiarize yourself with the parts that are labeled.

Golds Gym XRS 50 Home Gym System 1

PART IDENTIFICATION CHART

Use the drawings below to identify small parts used in assembly. The number in parentheses by each drawing is the key number of the part, from the PART LIST near the end of this manual.

Note: If a part is not in the hardware kit, check to see if it has been preattached.

Golds Gym XRS 50 Home Gym System 2 Golds Gym XRS 50 Home Gym System 3

ASSEMBLY

  • To hire an authorized service technician to assemble the weight system, call 1-800-445-2480.
  • Assembly requires two persons.
  • Because of its weight and size, assemble the weight system in the location where it will be used. Make sure that there is enough clearance to walk around the weight system.
  • Place all parts in a cleared area and remove the packing materials. Do not dispose of the packing materials until assembly is finished.
  • For help identifying small parts, see page 6.
  • The following tools (not included) may be required for assembly:Golds Gym XRS 50 Home Gym System 4
  • Assembly may be easier if you have your own set of wrenches. To avoid damaging parts, do not use
    power tools.

The Four Stages of the Assembly Process

  • Frame Assembly—You will begin by assembling the base and the uprights that form the skeleton of
    the weight system.
  • Arm Assembly—During this stage you will assemble the arms and the leg lever.
  • Cable Assembly—During this stage you will attach the cables and pulleys that connect the arms to the weights.
  • Seat Assembly—During the final stage you will assemble the seat and the backrest.Golds Gym XRS 50 Home Gym System 5
  • Go to www.workoutwarehouse.com/registration on your computer and register your product.
    • activates your warranty
    • saves you time if you ever need to contact Customer Care
    • allows us to notify you of upgrades and offers
      Note: If you do not have Internet access, call Customer Care (see the front cover of this manual) and register your product.

Frame Assembly

Golds Gym XRS 50 Home Gym System 6

  • To make assembly easier, read the information on page 8 before you begin. Attach the Stabilizer (2) to the Base (1) with two M10 x 68mm Bolts (71), two M10 Washers (57), and two M10 Locknuts (56). Do not tighten the Locknuts yet. Identify the two Lower Weight Guides (25), which have threaded upper ends. Insert the lower ends of the Lower Weight Guides into the Base (1)
    and into the Stabilizer (2). See the inset drawing. Insert two M10 x 25mm Button Bolts (77) upward into the Base (1) and into the Stabilizer (2), and tighten the Button Bolts into the Lower Weight Guides (25). Then, attach the Base Foot (19) to the Base (1) with two M4 x 19mm Self-tapping Screws (69).Golds Gym XRS 50 Home Gym System 7
  • Insert the Front Base (78) into the Base (1). Then, insert two M8 x 63mm Carriage Bolts (87)
    upward into the indicated holes in the Base (1). Note: The M8 x 63mm Carriage Bolts (87) will be
    used in the next step.Golds Gym XRS 50 Home Gym System 8
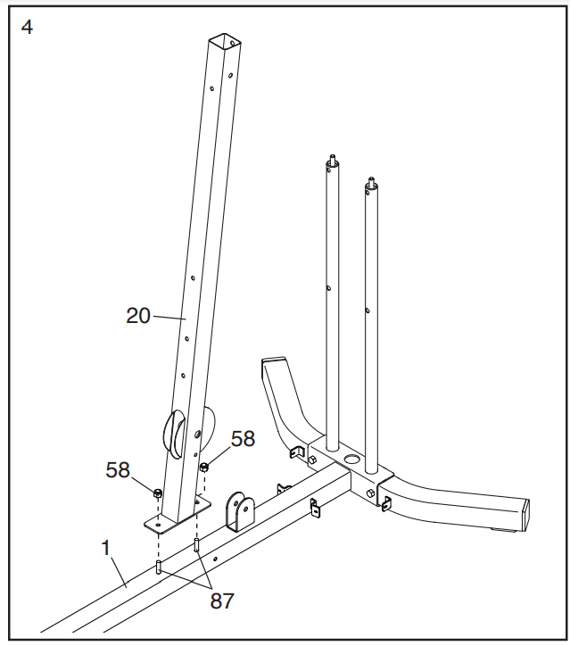
  • Orient the Lower Upright (20) as shown. Attach the Lower Upright (20) to the Base (1) with the two indicated M8 x 63mm Carriage Bolts (87) and two M8 Locknuts (58). Do not tighten the Locknuts yet.Golds Gym XRS 50 Home Gym System 9
  • Orient the Upper Upright (3) as shown. Insert the Upper Upright (3) into the Lower Upright (20). Attach the Upper Upright with an M10 x 65mm Bolt (49), two M10 x 20mm Screws (72), four M10 Washers (57), and an M10 Locknut (56). Do not tighten the Locknut yet.Golds Gym XRS 50 Home Gym System 10
  • Attach the Front Leg (7) to the Base (1) and the Front Base (78) with two M8 x 20mm Screws (84). Do not tighten the Screws yet. Next, hold the Leg Bumper (60) against the Front Leg (7); orient the Leg Bumper so that the indicated end is pointing upward. Attach the Leg Bumper with an M4 x 25mm Self-tapping Screw (85).Golds Gym XRS 50 Home Gym System 11
  • Attach the Seat Frame (6) to the Lower Upright (20) with two M8 x 65mm Bolts (68), two M8 Washers (59), and two M8 Locknuts (58). Do not tighten the Locknuts yet. Attach the Seat Frame (6) to the Front Leg (7) in the same way.Golds Gym XRS 50 Home Gym System 12
  • the two Weight Bumpers (27) onto the Lower Weight Guides (25). Next, orient eight Weights (22) so that the pin holes are in the position shown, and slide the Weights onto the Lower Weight Guides (25).Golds Gym XRS 50 Home Gym System 13
  • Insert the Weight Selector Cap (23) into the Weight Selector (24). Next, orient the Weight Selector (24) so that the pin is in the position shown, and insert the Weight Selector into the eight Weights (22). Orient the remaining Weight (22) so that the pinhole is in the position shown, and slide the
    Weight onto the Lower Weight Guides (25).Golds Gym XRS 50 Home Gym System 14
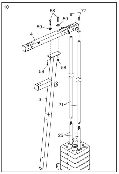
  • Tighten the two Upper Weight Guides (21) onto the Lower Weight Guides (25). Next, attach the Top Frame (4) to the Upper Upright (3) with two M8 x 65mm Bolts (68), two M8 Washers (59), and two M8 Locknuts (58). Do not tighten the Locknuts yet. Next, attach the Top Frame (4) to the Upper Weight Guides (21) with two M10 x 25mm Button Bolts (77). Then, tighten the two M8 Locknuts (58). See steps 2, 4, 5, 6, and 7. Tighten the M10 Locknuts (56), the M8 Locknuts (58), and the M8 x 20mm Screws (84) used in these steps.

Arm Assembly

Golds Gym XRS 50 Home Gym System 15

  • Apply grease to the barrel of an M10 x 64mm Bolt Set (76). Orient the Leg Lever (8) so that the welded support is on the side shown. Attach the Leg Lever (8) to the Front Leg (7) with the M10 x 64mm Bolt Set (76). Make sure that the barrel of the Bolt Set is inserted through both sides of the bracket on the Front Leg.Golds Gym XRS 50 Home Gym System 16
  • Apply grease to an M10 x 77mm Bolt (79). Orient the Pivot Frame (5) so that the welded pins are on the side shown. Attach the Pivot Frame to the Top Frame (4) with the M10 x 77mm Bolt (79) and an M10 Locknut (56). Do not overtighten the Locknut; the Pivot Frame must pivot easily.
    Attach the two Arm Pins (40) to the Pivot Frame (5) with two M4 x 19mm Self-tapping Screws (69). Insert the Arm Pins (40) into the two holes in the Upper Upright (3).Golds Gym XRS 50 Home Gym System 17
  • Apply grease to an M8 x 50mm Shoulder Bolt (66). Attach a Cable Pivot (39) to the Left Arm (10)
    with the M8 x 50mm Shoulder Bolt (66) and an M8 Locknut (58). Next, wet the inside of a Large Foam Pad (42) with soapy water. Slide the Large Foam Pad onto the Left Arm (10). Then, attach a Handle (11) to the Left Arm (10) with two M10 x 25mm Button Bolts (77) and two M10 Washers (57). Assemble the Right Arm (9) in the same way.Golds Gym XRS 50 Home Gym System 18
  • grease to an M10 x 85mm Bolt (67) and to two Arm Bushings (44). Attach the Right Arm (9) to the Pivot Frame (5) with the M10 x 85mm Bolt (67), two M10 Washers (57), two Arm Bushings (44), and an M10 Locknut (56). Do not overtighten the Locknut; the Right Arm must pivot easily.
    Attach the Left Arm (10) to the Pivot Frame (5) in the same way.

Cable Assembly

Golds Gym XRS 50 Home Gym System 19

  • IMPORTANT: See the CABLE DIAGRAM on page 29. Cut along the dotted line, and lay the CABLE DIAGRAM beside this manual for reference while you assemble the cables and the pulleys.
    Identify the Arm Cable (54). Apply grease to an M8 x 22mm Shoulder Bolt (65). Attach the Arm Cable (54) to the indicated Cable Pivot (39) with the M8 x 22mm Shoulder Bolt (65) and an M8 Locknut (58).

Golds Gym XRS 50 Home Gym System 20

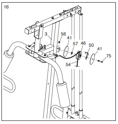
  • Identify the two V-pulleys (46), the nine Pulleys (not shown), and the two Thin Pulleys (not shown). Tip: It may be helpful to refer to the EXPLODED DRAWING near the end of this manual to identify the pulleys. Route the Arm Cable (54) over a V-pulley (46). Attach the V-pulley (46), a Large Cable Trap (50), and two Full Guards (41) to the Upper Upright (3) with an M10 x 63mm Bolt (75), an M10 Washer (57), and an M10 Locknut (56). Make sure that the Large Cable Trap (50) is oriented to hold the Arm Cable (54) in the groove of the V-pulley (46).Golds Gym XRS 50 Home Gym System 21
  • Route the Arm Cable (54) under a Pulley (48). Attach the Pulley (48) and two Half Guards (43)
    to the Double U-bracket (63) with an M10 x 45mm Bolt (81) and an M10 Locknut (56). Make
    sure that the Half Guards are on the outside of the Double U-bracket as shown.Golds Gym XRS 50 Home Gym System 22
  • Route the Arm Cable (54) over a V-pulley (46). Attach the V-pulley (46), a Large Cable Trap (50), and two Full Guards (41) to the Upper Upright (3) with an M10 x 63mm Bolt (75), an M10 Washer (57), and an M10 Locknut (56). Make sure that the Large Cable Trap (50) is oriented to hold the Arm Cable (54) in the groove of the V-pulley (46).Golds Gym XRS 50 Home Gym System 23
  • Apply grease to an M8 x 22mm Shoulder Bolt (65). Attach the Arm Cable (54) to the indicated Cable Pivot (39) with the M8 x 22mm Shoulder Bolt (65) and an M8 Locknut (58).Golds Gym XRS 50 Home Gym System 24
  • See the CABLE DIAGRAM. Identify the Low Cable (53). Route the Low Cable (53) through the Leg Lever (8) and the Front Leg (7). Make sure that the eyelet end of the Low Cable is in the location
    shown. Attach a Pulley (48) inside the Leg Lever (8), above the Low Cable (53), with an M10 x 68mm Bolt (71), two M10 Washers (57), two 13mm Spacers (52), and an M10 Locknut (56).Golds Gym XRS 50 Home Gym System 25
  • Attach a Pulley (48) inside the Front Leg (7), above the Low Cable (53), with an M10 x 68mm Bolt (71), two M10 Washers (57), two 13mm Spacers (52), and an M10 Locknut (56).Golds Gym XRS 50 Home Gym System 26
  • Route the Low Cable (53) under a Pulley (48) and through the Lower Upright (20). Attach the Pulley (48) inside the Lower Upright (20) with an M10 x 68mm Bolt (71), two M10 Washers (57), two 13mm Spacers (52), and an M10 Locknut (56).Golds Gym XRS 50 Home Gym System 27
  • Route the Low Cable (53) over a Pulley (48). Attach the Pulley (48) and two Half Guards (43) to the Double U-bracket (63) with an M10 x 45mm Bolt (81) and an M10 Locknut (56). Make sure that the Half Guards are on the outside of the Double U-bracket as shown.Golds Gym XRS 50 Home Gym System 28
  • Route the Low Cable (53) under a Pulley (48). Attach the Pulley (48) and two Half Guards (43)
    to the Base (1) with an M10 x 45mm Bolt (81) and an M10 Locknut (56). Make sure that the Half Guards are on the outside of the bracket as shown.Golds Gym XRS 50 Home Gym System 29
  • Attach the Low Cable (53) to the U-bracket (45) with an M8 Washer (59) and an M8 Locknut (58). See the inset drawing. Do not overtighten the M8 Locknut (58); it should be threaded onto
    the end of the Low Cable (53) so that only two threads are showing above the Locknut.Golds Gym XRS 50 Home Gym System 30
  • See the CABLE DIAGRAM. Identify the High Cable (55). Route the High Cable (55) upward through the Top Frame (4) and over a Pulley (48). Make sure that the eyelet end of the High Cable is in the location shown. Attach the Pulley (48) inside the Top Frame (4) with an M10 x 68mm Bolt (71), two M10 Washers (57), two 13mm Spacers (52), and an M10 Locknut (56).Golds Gym XRS 50 Home Gym System 31
  • Route the High Cable (55) over a Thin Pulley (47) and downward through the Top Frame (4). Attach the Thin Pulley (47) inside the Top Frame (4) with an M10 x 68mm Bolt (71), an M10
    Washer (57), and an 11mm Spacer (61). Make sure that the Thin Pulley does not fall out of the Top Frame while you complete steps 28 and 29.
    Note: Another Thin Pulley (not shown) will be installed inside the Top Frame (4) with the same
    M10 x 68mm Bolt (71) in step 29.Golds Gym XRS 50 Home Gym System 32
  • Wrap the High Cable (55) under a Pulley (48). Attach the Pulley (48), a Small Cable Trap (51),
    and two Half Guards (43) to the upper hole in the U-bracket (45) with an M10 x 50mm Bolt (33)
    and an M10 Locknut (56). Make sure that the Small Cable Trap (51) is oriented to hold the High Cable (55) in the groove of the Pulley (48) and that the Half Guards (43) are on the outside of the
    U-bracket (45).Golds Gym XRS 50 Home Gym System 33
  • Route the High Cable (55) upward through the Top Frame (4) and over a Thin Pulley (47). Attach the Thin Pulley (47) inside the Top Frame (4) with the M10 x 68mm Bolt (71) used in step 27, an 11mm Spacer (61), an M10 Washer (57), and an M10 Locknut (56).Golds Gym XRS 50 Home Gym System 34
  • Route the High Cable (55) over a Pulley (48) and downward through the Top Frame (4). Attach the Pulley (48) inside the Top Frame (4) with an M10 x 68mm Bolt (71), two M10 Washers (57), two 13mm Spacers (52), and an M10 Locknut (56).

Golds Gym XRS 50 Home Gym System 35

  • Thread an M12 Nut (13) all of the way onto the end of the High Cable (55). Next, place a Large Washer (17) on top of the Weight Selector (24). Tighten the High Cable (55) into the Weight Selector (24) until all of the slack is removed from the cables. Then, tighten the M12 Nut (13) against the Large Washer (17).
    Tip: If the High Cable (55) does not reach to the Weight Selector (24), see step 25. If more than two threads of the Low Cable (53) are showing above the M8 Locknut (58), adjust the Locknut so that only two threads of the Low Cable are showing.

Seat Assembly

Golds Gym XRS 50 Home Gym System 36

  • Attach the Backrest (16) to the Lower Upright (20) and the Upper Upright (3) with two M6 x 63mm Screws (70) and two M6 Washers (82).

Golds Gym XRS 50 Home Gym System 37

  • Orient the Seat (15) so that the wide end is in the location shown. Attach the Seat (15) to the Seat Frame (6) with four M6 x 16mm Screws (62).Golds Gym XRS 50 Home Gym System 38
  • Attach the Lock Plate (73) to the Front Leg (7) with an M10 x 68mm Bolt (71), an M10 Washer
    (57), and an M10 Locknut (56). Do not overtighten the Locknut; the Lock Plate must pivot easily.
    Next, attach the Leg Lever Pin (38) to the Front Leg (7) with an M4 x 19mm Self-tapping Screw (69). Then, insert the Leg Lever Pin (38) through the Leg Lever (8) and the Lock Plate (73).
    Golds Gym XRS 50 Home Gym System 39
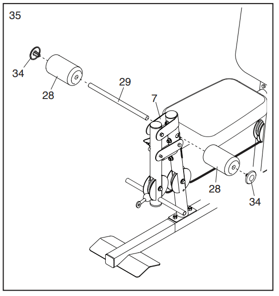
  • Insert the Pad Tube (29) into the Front Leg (7). Next, slide a Small Foam Pad (28) onto each
    end of the Pad Tube (29). Then, press a Pad Cap (34) into each Small Foam Pad (28).

ADJUSTMENT

This section explains how to adjust the weight system. See the EXERCISE GUIDELINES on page 31 for important information about how to get the most benefit from your exercise program. Also, refer to the accompanying exercise guide to see the correct form for each exercise. Make sure that all parts are properly tightened each time the weight system is used. Replace any worn parts immediately.

CHANGING THE WEIGHT SETTING OF THE WEIGHT STACKGolds Gym XRS 50 Home Gym System 40To change the weight setting of the weight stack, insert the Weight Pin (26) under the desired Weight
(22) until the bent end of the Weight Pin touches the Weight. Then, turn the bent end downward.
Note: Due to the cables and pulleys, the amount of resistance at each exercise station may vary from the weight setting (see the WEIGHT RESISTANCE CHART on page 27).

LOCKING THE WEIGHT STACK

Golds Gym XRS 50 Home Gym System 41
To lock the weight stack after each workout, insert the Lock Pin (86) through one of the Lower Weight
Guides (25), and secure the Lock (74) to the Lock Pin.

CONVERTING THE ARMS

Golds Gym XRS 50 Home Gym System 42
To use the Arms (9, 10) as butterfly arms, insert the two Arm Pins (40) into the holes in the Upper Upright (3) as shown. To use the Arms (9, 10) as press arms, insert the two Arm Pins (40) into the holes in the Pivot Frame (5) and into the holes in the Arms. 73

ATTACHING THE ACCESSORIES

Golds Gym XRS 50 Home Gym System 43
Attach the Lat Bar (35) to the High Cable (55) at the high pulley station with a Cable Clip (37). For some exercises, attach the Chain (83) between the Lat Bar (35) and the High Cable (55) with two Cable Clips (37). Adjust the length of the Chain between the Lat Bar and the High Cable so that the Lat Bar is in the correct starting position for the exercise to be performed. The Lat Bar (35) or the Handle Strap (not shown) can be attached at either pulley station in the same way. Always engage the Lock Plate (not shown) when using the low pulley station (see USING THE LEG LEVER below).

USING THE LEG LEVERGolds Gym XRS 50 Home Gym System 44
To use the Leg Lever (8), pull the Leg Lever Pin (38) out of the Leg Lever and the Lock Plate (73). To use the low pulley station, insert the Leg Lever Pin (38) fully into the Leg Lever (8) and the Lock Plate (73).

WEIGHT RESISTANCE CHART

The chart below shows the approximate weight resistance at each exercise station. The numbers in the left column
refer to the 12.5-lb. weights. Note: The weight resistance shown for the butterfly arm station is for each arm. The actual resistance at each station may vary due to differences in individual weights as well as friction between the cables, pulleys, and weight guides.Golds Gym XRS 50 Home Gym System 45

CABLE DIAGRAM

The diagram below shows the proper routing of the cables. The numbers in each drawing show the proper route of that cable. Cut along the dotted line, and refer to this diagram while you assemble the cables and the pulleys. If the cables and the pulleys are not assembled correctly, the weight system will not function properly and damage may occur. Make sure that the cable traps do not touch or bind the cables. After you assemble the weight system, save this diagram with this manual for future reference.Golds Gym XRS 50 Home Gym System 48

EXERCISE GUIDELINES

FOUR TYPES OF STRENGTH WORKOUTS

Note: A “repetition” is one complete cycle of an exercise, such as one sit-up. A “set” is a series of
repetitions.

Muscle Building—Work your muscles near their maximum capacity and progressively increase the intensity of your exercise. Adjust the intensity level of an individual exercise as follows:

  • Change the amount of resistance used.
  • Change the number of repetitions or sets performed.

Use your own judgment to determine the amount of resistance that is right for you. Begin with 3 sets of 8
repetitions for each exercise you perform. Rest for 3 minutes after each set. When you can complete 3 sets of 12 repetitions without difficulty, increase the amount of resistance.

Toning—Tone your muscles by working them to a moderate percentage of their capacity. Select a moderate amount of resistance and increase the number of repetitions in each set. Complete as many sets of 15 to 20 repetitions as possible without discomfort. Rest for 1 minute after each set. Work your muscles by completing more sets rather than by using high amounts of resistance.

Weight Loss—To lose weight, use a low amount of resistance and increase the number of repetitions in
each set. Exercise for 20 to 30 minutes, resting for a maximum of 30 seconds between sets.

Cross Training—Combine strength training and aerobic exercise by following this type of program:

STAYING MOTIVATED

For motivation, keep a record of each workout. Write the date, the exercises performed, the resistance used, and the number of sets and repetitions completed. Record your weight and key body measurements once a month. To achieve good results, make exercise a regular and enjoyable part of your life.

For more manuals by Golds Gym, visit ManualsLibraryy

Golds Gym XRS 50 Home Gym System-FAQs

 

 

Why is Gold’s Gym so well-known?

Gold’s Gym gained fame through legendary bodybuilders like Arnold Schwarzenegger and Dave Draper. The 70s cult film “Pumping Iron” helped establish it as a global symbol of fitness and bodybuilding.

What makes Gold’s Gym unique?

Gold’s Gym offers a large strength training area, heavy dumbbells up to 150 kg, Olympic barbells, endurance training zones, and a variety of fitness classes. Personal trainers are also available for booking.

What is Total Gym?

Total Gym is a fitness equipment brand founded in 1974 by Tom Campanaro and Doug Marino in San Diego, California. It specializes in bodyweight-based resistance training machines.

What is the slogan of Gold’s Gym?

Gold’s Gym is known as “The Original Home of Serious Training”, reflecting its dedication to professional fitness and bodybuilding.

Where is the largest Gold’s Gym in the world?

The world’s largest Gold’s Gym is located in Amman, Jordan, featuring a wide range of Escape Fitness equipment.

What does “gym” stand for?

The word gym is short for gymnasium, which comes from the ancient Greek term “gymnasion”, meaning a place for physical exercise.

What is the Gold’s Gym Challenge?

The Gold’s Gym Challenge is a 12-week fitness transformation program that provides participants with support, motivation, and customized workout & nutrition strategies to help them achieve their fitness goals.

Should I use one or two dumbbells for training?

Both are effective! You can train your entire body with just one dumbbell, but using two allows for more balanced workouts and heavier resistance training.

Why are weights so expensive?

High-quality dumbbells are made from durable materials that withstand wear and tear. These materials cost more to manufacture, leading to higher retail prices.

Leave a comment

Your email address will not be published. Required fields are marked *