
Miller TrailBlazer 250G Welder Generator

ELECTRIC SHOCK can kill.
Touching live electrical parts can cause fatal shocks or severe burns. The electrode and work circuit are electrically live whenever the output is on. The input power circuit and machine internal circuits are also live when power is on. In semiautomatic or automatic wire welding, the wire, wire reel, drive roll housing, and all metal parts touching the welding wire are electrically live. Incorrectly installed or improperly grounded equipment is a hazard.
- Do not touch live electrical parts.
- Wear dry, hole-free insulating gloves and body protection.
- Insulate yourself from work and ground using dry insulating mats or covers big enough to prevent any physical contact with the work or ground.
- Disconnect input power or stop the engine before installing or servicing this equipment. Lockout/tagout input power according to OSHA 29 CFR 1910.147 (see Safety Standards).
- Properly install and ground this equipment according to its Owner’s Manual and national, state, and local codes.
- Always verify the supply ground -check and be sure that the input power cord’s ground wire is properly connected to the ground terminal in the disconnect box or that the cord plug is connected to a properly grounded receptacle outlet.
- When making input connections, attach the proper grounding conductor first – double-check connections.
- Frequently inspect the input power cord for damage or bare wiring – replace the cord immediately if damaged – bare wiring can kill.
- Turn off all equipment when not in use.
- Do not use worn, damaged, undersized, or poorly spliced cables.
- Do not drape cables over your body.
- If earth grounding of the workpiece is required, ground it directly with a separate cable – do not use a work clamp or work cable.
- Do not touch the electrode if you are in contact with the work, ground, or another electrode from a different machine.
- Use only well-maintained equipment. Repair or replace damaged parts at once. Maintain the unit according to the manual.
- Wear a safety harness if working above floor level.
- Keep all panels and covers securely in place.
- Clamp the work cable with good metal-to-metal contact to work, ice, or worktable as near the weld as possible.
CYLINDERS can explode if damaged.
Shielding gas cylinders contain gas under high pressure. If damaged, a cylinder can explode. Since gas cylinders are normally part of the welding process, be sure to treat them carefully.
- Protect compressed gas cylinders from excessive heat, mechanical shocks. slag, open flames, sparks, and arcs.
- In stall cylinders in an upright position by securing to a stationary support or cylinder rack to prevent falling or tipping.
- Keep cylinders away from any welding or other electrical circuits.
- Never drape a welding torch over a gas cylinder.
- Never allow a welding electrode to touch any cylinder.
- Never weld on a pressurized cylinder; an explosion will result.
- Use only correct shielding gas cylinders, regulators, hoses, and fittings designed for the specific application; maintain them and associated parts in good condition.
- Turn the face away from the valve outlet when opening the cylinder valve.
- Keep the protective cap in place over the valve except when the cylinder is in use or connected for use.
- Read and follow instructions on compressed gas cylinders, associated equipment, and CGA publication P-1 listed in Safety Standards.
Volt-Ampere Curves
The volt-ampere curves show the minimum and maximum voltage and amperage output capabilities of the welding generator. Curves of other settings fall between the curves shown.
Duty Cycle
CAUTION
WELDING LONGER THAN RATED DUTY CYCLE can damage the unit and void the warranty.
Do not weld at rated load longer than shown below.
Definition
Duty Cycle is the percentage of 10 minutes that a unit can weld at rated load without overheating.
Fuel Consumption
The fuel consumption curve shows typical fuel use under weld or power loads. The fuel consumption curve shows typical fuel use under weld or power loads.
AC Auxiliary Power
The ac power curve shows the auxiliary power in amperes available at the 120 and 240 volt receptacles. 
INSTALLATION
Typical Process Connections

Selecting A Location And Moving a Welding Generator
WARNING
ENGINE EXHAUST GASES can kill.
- Do not breathe exhaust fumes.
- Use in open, well-ventilated areas, or vent exhaust outside and away from building air intakes.
HOT ENGINE EXHAUST AND EXHAUST PIPE can cause fires.
Keep exhaust and pipe away from flammables.
TILTING OF TRAILER can result in personal injury or equipment damage.
Install unit properly on trailer (if applicable)
Movement
- Lifting Eye
- Lifting Forks. Use lifting eye or lifting forks to move the unit. If using lifting forks, extend the forks beyond the opposite side of the unit.
- Trailer. Install the unit on the trailer according to the trailer manual.
Location And Airflow
WELDING ON THE BASE can cause a fuel tank fire or explosion.
- Do not weld on the base.
- Use mounting feet to fasten the unit to the truck bed, trailer, or other location. rwarn14.1 1193
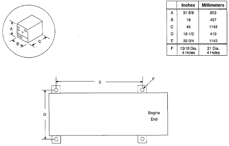
NOTE: Overall dimensions (A, B, and C) include lifting eye, handles, hardware, etc.
Connecting The Battery
WARNING
SPARKS can cause BATTERY GASES TO EXPLODE; BATTERY ACID can burn eyes and skin.
- Stop the engine before disconnecting or connecting battery cables.
- Always wear a face shield and proper protective clothing when working on a battery.
- Do not allow tools to cause sparks when working on a battery.

- Engine Control Switch. Place the switch in the Off position.
- Bolt
- Rear Panel. Remove bolts and pull out the ear panel.
- Positive (+) Battery Terminal
- Positive (+) Battery Cable: Connect the positive cable first.
- Negative (-) Battery Terminal
- Negative (-) Battery Cable. Connect the negative cable last.
Reinstall the rear panel.
If the engine does not crank, check battery voltage according to Section 6-5.
Engine Prestart Checks
WARNING
ENGINE FUEL can cause fire or explosion.
- Stop the engine before fueling.
- Do not fuel while smoking or near sparks or flames.
- Do not overfill the tank: clean up any spilled fuel.
REMOVE FUEL CAP SLOWLY; FUEL SPRAY may cause injury; FUEL may be under pressure.
Rotate the fuel cap slowly and wait until the hissing stops before removing the cap.
Check all fluids daily. The engine must be cold and on a level surface.
Add fresh fuel before starting the engine the first time (see Figure 6-2).
- Fuel Cap
- Oil Dipstick
- Oil Fill Tube
If oil is not up to the full mark, add oil (see Figure 6-2). The engine stops if oil pressure gets too low.
Generator Auxiliary Power System
Selecting Equipment
WARNING
ELECTRIC SHOCK can kill.
Use only grounded or double-insulated equipment.
- Auxiliary Power Receptacles – Neutral Bonded To Frame
- 3-Prong Plug From Case Grounded Equipment
- 2-Prong Plug From Double-Insulated Equipment
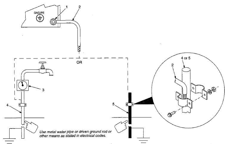
Grounding The Generator To A Truck Or Trailer Frame
- Generator Base
- Metal Vehicle Frame
- Equipment Grounding Terminal
- Grounding Cable
Grounding The Generator When Connecting To Home, Shop, Or Farm Wiring
- Equipment Grounding Terminal
- Grounding Cable. Use #10 AWG or larger insulated copper wire.
- Water Meter
- Metal Water Pipe
- Driven Ground Rod
Ground generator to system earth ground if supplying power to a premises (home, shop, farm) wiring system – see Section 8.
Selecting And Preparing Weld Output Cables
- Weld Output Cable. Determine the total cable length in the weld circuit and the maximum welding amperes. Use Table 3· 1 to select the proper cable size. Use the shortest cables possible. Do not use damaged cables.
- Terminal Lug. Use lugs of proper amperage capacity and hole size for connecting to work clamp, wire feeder, or electrode holder, and weld output terminals.
- Wire Feeder
- Insulated Electrode Holder
- GTAW Torch. Install according to the manufacturer’s instructions.
- Work Clamp. Install onto the work cable.
Table 3-1. Weld Cable Size
weld cable size (AWG) is based on either a 4 volts or less drop or a current density of at least 300 circular mils per ampere.
Connecting To Weld Output Terminals
WARNING
ELECTRIC SHOCK can kill.
- Disconnect the weld cable from the output terminal not in use.
- Always wear dry insulating gloves.
- Do not touch live electrical parts.
- Stop the engine before making any weld output connections.
- Read Safety Precautions at the beginning of this manual.

- Work Weld Output Terminal
- CC Weld Output Terminal
- CV Weld Output Terminal
For CV welding, connect the work cable to the Work terminal and the wire feeder cable to the CV terminal.
For CC welding, connect the work cable to the Work terminal and the electrode holder cable to the CC terminal.
Remote 14 Receptacle Information And Connections
- Remote 14 Receptacle RC1 (See Table 3-2)
- Keyway
- Plug
- Threaded Collar
To connect to the receptacle, align the keyway, insert the plug, and tighten the threaded collar.
Adjusting GMAW Weld Puddle Consistency
WARNING
ELECTRIC SHOCK can kill.
- Do not touch live electrical parts.
- Stop the engine before installing or servicing.
MOVING PARTS can cause injury.
- Keep away from moving parts such as fans, belts, and rotors.
HOT PARTS can cause severe burns.
- Allow a cooling period before servicing.
- Wear protective gloves and clothing when working on a hot engine.

Stabilizer DC-2 is factory connected to suit most GMAW applications.
DC-2 controls the inductance applied to the GMAW weld current. Increasing inductance wets out the weld puddle. Decreasing inductance stiffens the weld puddle.
To change GMAW weld puddle consistency, proceed as follows:
Stop the engine. Remove the right side panel.
- Stabilizer DC-Z
- Taps 1 Thru 5. Starting from the center of DC-Z, taps will be referred to as 1 through 5.
- Insulation Sleeve
- Lead 4
- Tap
Lead 4 is connected to tap 3. Cut cable ties as necessary to get to lead 4.
Slide the sleeve up on lead 4, and remove the hardware to disconnect lead 4 from the tap.
To wet out the weld puddle, proceed as follows:
Connect lead 4 to tap 2, reusing hardware.
To stiffen the weld puddle, proceed as follows:
Connect lead 4 to tap, 4 reusing hardware.
Install insulation over the new lead connection, and secure with cable ties. Install the side panel.
OPERATING THE WELDING GENERATOR
Warning
An electric shock can kill
- Do not touch live electrical parts.
- Always wear dry insulating gloves.
- Insulate yourself from work and ground.
- Stop the engine before installing or servicing.
- Keep all panels and covers securely in place.
WELDING can cause fire or explosion.
- Do not weld near flammable material.
- Watch for fire; keep an extinguisher nearby.
- Do not locate the unit over combustible surfaces.
- Allow work and equipment to cool before handling.
ENGINE EXHAUST GASES can kill.
- Do not breathe exhaust fumes.
- Use in open, well-ventilated areas, or vent exhaust outside and away from any building air intakes.

- Range Switch
- AC/DC Polarity Switch
- Engine Hour Meter
- Choke Control
- Engine Control Switch
- Remote Output (Contactor) Switch
- Remote Amperage Voltage Switch
- Fine Amperage Voltage Control
- Process Selector Switch
Safety Equipment
Wear the following while welding:
- Dry, Insulating Gloves
- Safety Glasses With Side Shields
- Welding Helmet With Correct Shade Of Filter (See ANSI 249.1)
Work Clamp
Connect the work clamp to a clean, paint-free location on the workpiece, as close to the weld area as possible.
Use a wire brush or sandpaper to clean the metal at the weld joint area. Use a chipping hammer to remove slag after welding.
AC/DC Polarity Switch
WARNING
ELECTRIC SHOCK can kill.
- Do not use the AC output in damp areas, if movement is confined, or if there is a danger of falling.
- Use the AC output ONLY if required for the welding process.
- Read Safety Precautions at the beginning of this manual.
ARCING can damage the switch.
Do not change the AC/DC Polarity switch position while welding.
An arcing inside switch can damage contacts, causing the switch to fail.
- AC/DC Polarity Switch
Use the switch to select the polarity of the weld output.
For Direct Current Electrode Negative (DCEN), use the Electrode Negative position.
For Direct Current Electrode Positive (DCEP), use the Electrode Positive position.
For alternating current (AC), use AC position.
MAINTENANCE & TROUBLESHOOTING
WARNING
ELECTRIC SHOCK can kill.
- Do not touch live electrical parts.
- Always wear dry insulating gloves.
- Insulate yourself from work and ground.
- Stop the engine before installing or servicing.
- Keep all panels and covers securely in place.
ENGINE EXHAUST GASES can kill.
- Do not breathe exhaust fumes.
- Use in open, well-ventilated areas, or vent exhaust outside and away from any building air intakes.
ENGINE FUEL can cause fire or explosion.
- Stop the engine before fueling.
- Do not fuel while smoking or near sparks or flames.
- Do not overfill the tank; clean up any spilled fuel.
MOVING PARTS can cause injury.
- Keep away from moving parts such as fans, belts, and rotors.
- Keep all doors, panels, covers, and guards closed and securely in place.
HOT PARTS can cause severe burns.
- Allow a cooling period before servicing.
- Wear protective gloves and clothing when working on a hot engine.
ENGINE EXHAUST SPARKS can cause fire.
- Use only U.S. Forestry Department-approved spark arrestors and comply with all local, state, and federal laws.
- A spark arrestor is mandatory in all National Forests and in grass, brush, or forest-covered lands in California, Oregon, and Washington. Check with the slate and local authorities in other areas.
- Properly maintain the spark arrestor.
- Stop the engine and allow the exhaust system to cool down before servicing the spark arrestor.
- Service spark arrestor away from flammables.
Maintenance is to be performed only by qualified persons.
Servicing Air Cleaner
CAUTION
DIRTY AIR can damage the engine.
Do not run the engine without an air cleaner element in place or with a dirty element.
Stop the engine.
- Nut
- Cover
- Spacer
- Element Cover
- Precteaner
- Element
- Base. Remove the precleaner.
- Washing Precleaner. Use a soap and water solution.
- Oiling Precleaner. Spread 1 tbsp SAE 30 oil evenly into the precleaner. Squeeze out excess oil
- Inspecting Element
Replace if dirty or oily.
Reinstall parts.
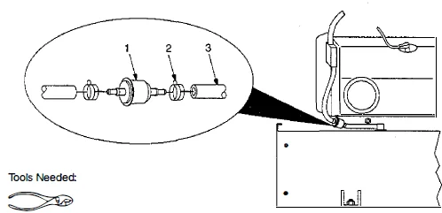
Replacing Fuel Filter
READ SAFETY BLOCKS at the start of Section 6 before proceeding.
Stop the engine and allow it to cool.
- Fuel Filter
- Hose Clamp. Remove clamps and filter.
- Fuel Line
Inspect and replace the line if cracked or worn.
Reinstall the hose clamps with a new filter. Wipe up any spilled fuel.
Start the engine, and check for fuel leaks.
Stop engine, tighten connections as necessary, and wipe up fuel.
For more Manuals by Miller Welding, visit ManualsLibraryy
Miller TrailBlazer 250G Welder Generator-FAQs
How do I use the Miller TrailBlazer 250G?
Turn on the generator, select the welding mode (MIG, TIG, or Stick), adjust amperage according to the material thickness, and start welding. Always follow safety precautions.
How much does the Miller TrailBlazer 250G weigh?
It weighs approximately 501 lbs (227 kg).
What is the amperage range of the Miller TrailBlazer 250G?
It can weld at 3 – 310 amps, with a rated output of 250 A at 30 VAC, 40% duty cycle.
How thick of steel can a 250-amp welder handle?
It can weld steel up to 1/2 inch (12 mm) thick in a single pass.
Is the TrailBlazer 250G suitable for professional welding?
Yes, it is designed for both job-site and industrial use with reliable performance and versatile welding capabilities.
What type of welding can it perform?
It supports MIG, TIG, and Stick welding.
What is the fuel capacity and run time?
Fuel capacity is 12 gallons, giving roughly 16–20 hours of operation depending on amperage and duty cycle.
How do I choose the right welding cable size for 250 amps?
Use at least 2/0 AWG cable for optimal performance and safety.
What is the duty cycle of the Miller TrailBlazer 250G?
It has a 40% duty cycle at 250 A (the machine can weld for 4 minutes out of every 10 minutes at full power).














