![]()
ProForm C840 Smith Machine

IMPORTANT PRECAUTIONS
- Read all instructions in this manual before using the weight bench. Use the weight bench only as described in this manual.
- It is the responsibility of the owner to ensure that all users of the weight bench are adequately
Informed of all precautions. - The weight bench is intended for home use only. Do not use the weight bench in any commercial, rental, or institutional setting.
- Keep the weight bench indoors, away from moisture and dust. Do not put the weight bench in a garage or covered patio, or near water.
- Use the weight bench only on a level surface. Cover the floor beneath the weight bench to protect the floor.
- Make sure all parts are properly tightened each time the weight bench is used. Replace any worn parts immediately.
- Keep children under 12 and pets away from the weight bench at all times.
- Keep hands and feet away from moving parts.
- Always wear athletic shoes for foot protection while exercising.
- Make sure that the cables remain on the pulleys at all times. If the cables bind as you are exercising, stop immediately and make sure that the cables are on the pulleys. Replace all
cables at least every two years. - Always set both safety spotters at the same height.
- Make sure that the set screws attaching the Olympic weight adapters are properly tightened each time the adapters are used.
- The weight bench is designed to support a maximum user weight of 300 pounds and a maximum total weight of 610 pounds. Do not place more than 310 pounds on the barbell guides or safety spotters. Do not place more than 150 pounds on the weight carriage, the
leg lever, or the curl bar. Note: The weight bench does not include weights. - Always place an equal amount of weight on each side of the weight carriage or barbell.
- Always secure the weights with the weight clips when they are mounted on the weight carriage or barbell.
- Always lower the weight carriage in a controlled manner; never let the weight carriage drop.
- Always remove the lat bar when performing an exercise that does not require the use of the lat bar.
- Always move your bench out of the way when performing an exercise that does not use the bench.
- Use the curl bar only with the weight clips provided with the bench.
- Always make sure the backrest bracket is fully engaged before using the backrest.
- If you feel pain or dizziness at any time while exercising, stop immediately and begin cooling down.
WARNING: Before beginning this or any exercise program, consult your physician. This is especially important for persons over the age of 35 or persons with pre-existing health problems. Read all instructions before using. Sears assumes no responsibility for personal injury or property damage sustained by or through the use of this product.
BEFORE YOU BEGIN
Thank you for selecting the versatile PROFORM® C840 weight bench. The weight bench offers an impressive array of weight stations designed to develop every major muscle group of the body. Whether
Your goal is to tone your body, build dramatic muscle size and strength, or improve your cardiovascular system. The weight bench will help you achieve the specific results you want.
For your benefit, read this manual carefully before using the weight bench. If you have questions after
reading this manual, call 1-800-4-MY-HOME® (1-800-469-4663). To help us assist you, please note
the product model number and serial number before calling. The model number is 831.153321. The serial number can be found on a decal attached to the weight bench (see the front cover of this manual for the location of the decal).
Before reading further, please review the drawing below and familiarize yourself with the parts that are
labeled.

Note: The “right side” and the “left side” are determined relative to a person sitting on the bench; they do not correspond to right and left on the drawings in the manual.
ASSEMBLY
Before beginning assembly, carefully read the following information and instructions:
- The assembly requires two people.
- For help identifying small parts, use the PART IDENTIFICATION CHART.
- Tighten all parts as you assemble them unless instructed to do otherwise.
- As you assemble the weight bench, make sure all parts are oriented as shown in the drawings.
- Place all parts in a cleared area and remove the packing materials. Do not dispose of the packing
materials until assembly is completed. The following tools (not included) are required for assembly:
- Assembly will be more convenient if you have a socket set, a set of open-end or closed-end
wrenches, or a set of ratchet wrenches.

- Before beginning, make sure you understand the information in the box above. Note: Some parts described in the assembly steps may be pre-assembled.Attach a Base Cap (47) to the Stabilizer (2) with an M4 x 16mm Screw (107) and an M10 x 25mm Screw (121). Attach another Base Cap to the
Stabilizer in the same manner. Attach the Stabilizer (2) to the Bench Frame (1) with two M10 x 92mm Carriage Bolts (111) and two M10 Nylon Locknuts (97). Attach the Stabilizer to the Bench Frame with two M10 x 68mm Bolts (113), two M10 Washers (99), and two M10 Nylon Locknuts. Do not tighten the Locknuts yet.
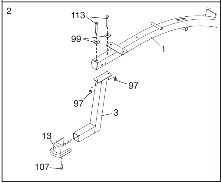
- Attach the Small Base Cap (13) to the Bench Leg (3) with an M4 x 16mm Screw (107). Attach the Bench Leg (3) to the Bench Frame (1) with two M10 x 68mm Bolts (113), two M10 Washers (99), and two M10 Nylon Locknuts (97).

- Attach the Leg Lever Bracket (5) to the Bench Frame (1) with two M10 x 68mm Bolts (113) and
two M10 Nylon Locknuts (97). Attach the Weight Tube (25) to the Leg Lever (4) with an M8 x 58mm Bolt (106), two M8 Washers (100), a 10mm Spacer (30), and an M8 Nylon Locknut (96).
Press a 25mm Round Outer Cap (94) onto the Weight Tube (25). Lubricate an M10 x 68mm Bolt (113) with grease. Attach the Leg Lever (4) to the Leg Lever Bracket (5) with the Bolt and an M10 Nylon Locknut (97). Do not overtighten the Locknut; the Leg Lever must be able to pivot easily.
- Lubricate an M10 x 78mm Bolt (110) with grease. Attach the lower hole in the Adjustment Lever (11) to the Bench Frame (1) with the Bolt and an M10 Nylon Locknut (97). Do not overtighten the
Locknut; the Adjustment Lever must be able to pivot easily. Hold the handle on the Adjustment Lever (11) so that the upper hole is above the Bench Frame (1). Slide the M10 x 62mm Flat Head Screw (27) through the indicated side of the Lever, over the Bench Frame, and tighten it into the other side of the Adjustment Lever. Make sure that the threads of the Screw show through the Adjustment Lever. Do not overtighten the Screw.
- Attach the Backrest Bracket (7) to the Backrest Tubes (8) with four M10 x 45mm Bolts (112), four
M10 Washers (99) and four M10 Nylon Locknuts (97). Make sure the Backrest Tubes are oriented
so that the indicated holes are closer to the bottom. Do not tighten the Locknuts yet.
- Insert the Backrest Bracket (7) through the slot in the Bench Frame (1) and under the Adjustment
Lever (11). Make sure that the M10 x 62mm Flat Head Screw (27) is under the Backrest Bracket arm. Lubricate an M10 x 155mm Bolt (109) with grease. Attach the Backrest Tubes (8) to the Bench Frame (1) with the Bolt, two M10 Washers (99), and an M10 Nylon Locknut (97). Do not overtighten the Locknut; the Backrest Tubes must be able to pivot easily.
- Attach the Backrest (14) to the Backrest Tubes (8) with four M6 x 38mm Screws (102) and four
M6 Washers (101). Tighten the four M10 Nylon Locknuts (97) used in steps 1 and 5.
- Attach the Seat (15) to the Bench Frame (1) with an M6 x 63mm Screw (103), an M6 Washer (101), and two M6 x 16mm Screws (104).

- Slide the Thick Pad Tube (10) into the hole in the Leg Lever Bracket (5). Wet both sides of the Pad
Tube with soapy water. Slide two Small Foam Pads (18) onto the Tube as shown. Press two 19mm Square Inner Caps (19) into the Pad Tube. Slide a Pad Tube (9) into a hole in the Leg Lever (4). Wet both sides of the Pad Tube with soapy water. Slide two Large Foam Pads (17) onto the Pad Tube as shown. Press two 19mm Square Inner Caps (19) into the Pad Tube. Repeat with the other Pad Tube.
- Attach the Curl Pad (16) to the Curl Post (6) with two M6 x 16mm Screws (104).

- Press a Round Angled Bushing (75) into a Rack Foot (46). Attach a Guide Bar (41) to the Rack Foot (46) with an M10 x 50mm Screw (108) and an M10 Washer (99). Attach the Right Upright (69), which has numbers on the indicated side, to the Rack Foot (46) with two M10 x 68mm Bolts (113), four M10 Washers (99), and two M10 Nylon Locknuts (97). Make sure the Bolts are inserted from the side shown. Do not tighten the Locknuts yet. Repeat this step with the Left Upright (36 [not
shown]), Guide Bar (41), Rack Foot (46), and Round Angled Bushing (75). Insert the M10 x 68mm Bolts (113) from the other side.
- See the inset drawing. Attach the Large Base Cap (117) to the Rear Base (33) with an M4 x 16mm Screw (107) and an M8 x 16mm Screw (98). Attach the Rear Base (33) to the Center Base (32) with two M10 x 78mm Bolts (110), two M10 Washers (99), and two M10 Nylon Locknuts (97). Do not tighten the Locknuts yet. Set the Center Base (32) inside the Foot Plate (48). Attach the Foot Plate to the Center Base with two M10 x 68mm Bolts (113), two M10 Washers (99), and two M10 Nylon Locknuts (97). Do not tighten the Locknuts yet.

- Attach the Base Cap (47) to the Left Base (35) with an M4 x 16mm Screw (107) and an M10 x
19mm Screw (118). Hold the Storage Leg (45) so that the longer side of the plate is oriented as shown. Attach the Storage Leg to the Left Base (35) with two M10 x 92mm Carriage Bolts (111) and two M10 Nylon Locknuts (97).
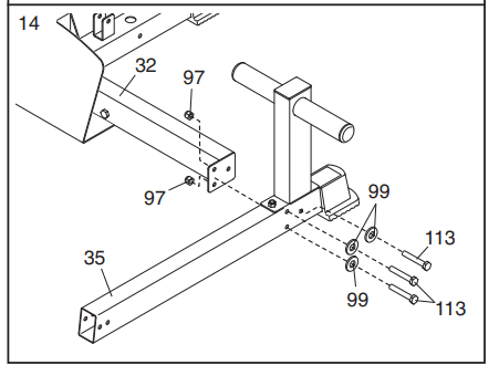
- Attach the Left Base (35) to the Center Base (32) with three M10 x 68mm Bolts (113), three M10
Washers (99)and two M10 Nylon Locknuts (97). Do not tighten the Locknuts yet.
- Attach a Base Cap (47) to the Right Base (34) with an M4 x 16mm Screw (107) and an M10 x 19mm Screw (118). Attach the Right Base (34) to the Center Base (32) with three M10 x 68mm Bolts (113), three M10 Washers (99), and two M10 Nylon Locknuts (97). Do not tighten the Locknuts yet.

- Using a rubber mallet, tap the left Rack Foot (46) into the Left Base (35). Attach the Rack Foot to
the Left Base with two M10 x 68mm Bolts (113), four M10 Washers (99), and two M10 Nylon Locknuts (97). Do not tighten the Locknuts yet. Attach the other Rack Foot (not shown) to the Right Base (not shown) in the same manner.
- Attach the Right Spotter Hook (53) to a Safety Spotter (52) with an M8 x 12mm Shoulder Bolt (131) and an M8 Nylon Locknut (96). Make sure the bolt head is on the same side as the handle. Slide the Safety Spotter (52) onto the right Guide Bar (41) and engage the Right Spotter Hook (53) into an adjustment hole near the bottom of the Right Upright (69). Assemble the Left Spotter Hook (54) and the Safety Spotter (52) in the same manner. Always set both Safety Spotters (52) at the same height.
Identify the Left and Right Barbell Gliders (51, 123) by the position of the screw holes. Slide each Barbell Glider (51, 123) onto the Guide Bar (41) next to the indicated Upright (36, 69). Make sure the Barbell Gliders are oriented as shown.
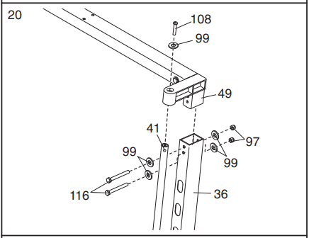
- Press a Round Joint Bushing (74) into the Left Frame Joint (49). Attach the Top Frame (40) to the Left Frame Joint (49) with two M10 x 91mm Bolts (116), four M10 Washers (99), and two M10 Nylon Locknuts (97). Do not tighten the Locknuts yet. Assemble the Right Frame Joint (50) to the
Top Frame (40) in the same manner.
- Attach the Left Frame Joint (49) to the Left Upright (36) with two M10 x 91mm Bolts (116), four M10 Washers (99), and two M10 Nylon Locknuts (97). Do not tighten the Locknuts yet. Attach the Left Frame Joint (49) to the Guide Bar (41) with an M10 x 50mm Screw (108) and an M10 Washer (99). Assemble the Right Frame Joint (50) in the same manner.

- Slide the Weight Bar (55) through the Left Barbell Glider (51), the Locking Bar (56), and the Right
Barbell Glider (123). Make sure the Locking Bar is oriented as shown. Engage the hooks on the Locking Bar (56) into a set of holes in the Uprights (36, 69).
- Slide a Weight Stop (67) onto the Weight Bar (55). Thread a 1/4” x 14mm Screw (119) into the
Weight Stop and the hole in the Weight Bar. Do not tighten the Screws yet. Thread a 1/4” x 14mm Screw (119) into the Left Barbell Glider (51). Repeat this step with the Right Barbell Glider (not shown) and the other Weight Stop (not shown).
- Slide the Barbell Adapter (59) onto the Weight Bar (55). Thread a 1/4” x 9.5mm Allen Head Set
Screw (120) into the Barbell Adapter. Do not tighten the Screw yet. Repeat this step with the other Barbell Adapter (not shown).
- Attach the Center Upright (37) to the Center Base (32) and Rear Base (33) with an M10 x 78mm
Bolt (110), an M10 Washer (99), and an M10 Nylon Locknut (97). Do not tighten the Locknut
yet. Attach the Center Upright (37) to the Center Base (32) with an M10 x 75mm Bolt (127), two M10 Washers (99), and an M10 Nylon Locknut (97). Do not tighten the Locknut yet. Attach a Weight Carriage Stop (70) to the Rear Upright (38), at the indicated hole, with an M10 x 88mm Bolt (114) and an M10 Nylon Locknut (97). Make sure the Square Carriage Bushing (61) is on top.
Attach the Rear Upright (38), with the hexagonal holes on the indicated side, to the Rear Base (33)
with two M10 x 75mm Bolts (127), four M10 Washers (99), and two M10 Nylon Locknuts (97). Do not tighten the Locknuts yet.
- Insert an M10 x 19mm Hex Head Bolt (132) into the bracket on the Weight Carriage (71) from the
side shown. Orient the Weight Carriage (71) as shown and slide it onto the Rear Upright (38). Attach the Weight Carriage Stop (70) to the Rear Upright (38), at the indicated hole, with an M10 x 88mm Bolt (114) and an M10 Nylon Locknut (97). Make sure the Square Carriage Bushing (61) is on the bottom.
- Press a 60mm Square Inner Cap (65) into the Rear Top Frame (39). Attach the Rear Top Frame (39) to the Rear Upright (38) with two M10 x 72mm Hex Head Bolts (130), two M10 Washers (99), and two M10 Nylon Locknuts (97). Make sure the bolt heads are set inside the hex holes in the Rear Upright. Do not tighten the Locknuts yet.

- Attach the Rear Top Frame (39) to the Center Upright (37) with two M10 x 78mm Bolts (110), two M10 Washers (99), and two M10 Nylon Locknuts (97). Do not tighten the Locknuts yet. Attach the Rear Top Frame (39) to the Top Frame (40) with two M10 x 127mm Bolts (126), four M10 Washers (99), and two M10 Nylon Locknuts (97). Do not tighten the Locknuts yet.
ADJUSTMENTS
This section explains how to adjust the weight bench. See the EXERCISE GUIDELINES on page 24 for important information about how to get the most benefit from your exercise program. See the accompanying exercise guide to see the correct form for each exercise.
Make sure all parts are properly tightened each time the weight bench is used. Replace any worn parts immediately. The weight bench can be cleaned with a damp cloth and a mild, non-abrasive detergent. Do not use solvents.
ADJUSTING THE BACKREST

To adjust the position of the Backrest (14), hold the upper end of the Backrest with one hand and lift the
Adjustment Lever (11) with the other hand, disengaging the Backrest Bracket (7). Raise or lower the
Backrest to the desired position. Lower the Adjustment Lever so that the M10 x 62mm Flat Head Screw
(.27 [not shown]) engages one of the notches in the Backrest Bracket.
WARNING: Always hold the Backrest (14) securely before disengaging the Backrest Bracket (7). Always make sure the Backrest Bracket is fully engaged before using the Backrest.
ATTACHING THE CURL POST

For some exercises, the Curl Post (6) must be attached to the weight bench. Slide the Curl Post into the Leg Lever Bracket (5). Align the adjustment holes in the Curl Post with the adjustment hole in the Leg
Lever Bracket. Tighten the Curl Knob (29) into the adjustment hole in the Leg Lever Bracket. Fully tighten the Knob.
When not being used, the Curl Post (6) can be stored on the tube on the Right Base (34) (see the inset
drawing).
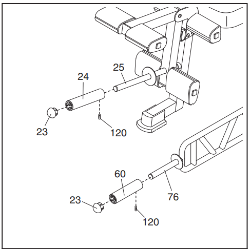
USING THE OLYMPIC WEIGHT ADAPTER

Press a 48mm Round Inner Cap (23) into the Olympic Adapter (24). Attach the Olympic Adapter to the
Weight Tube (25) with a 1/4” x 9.5mm Allen Head Set Screw (120). Make sure that the Set Screw is at
the bottom of the Adapter.
Press a 48mm Round Inner Cap (23) into a Weight Adapter (60). Attach the Weight Adapter to the Curl
Bar (76) with a 1/4” x 9.5mm Allen Head Set Screw (120). Make sure that the Set Screw is at the bottom
of the Adapter. Attach the other Weight Adapter to the Curl Bar in the same manner.
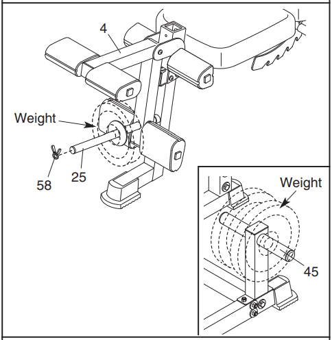
ADDING WEIGHTS TO THE LEG LEVER

To use the Leg Lever (4), slide the desired weights (not included) onto the Weight Tube (25). Secure the weights with a Weight Clip (58 or 77 [not shown]). Weights can be added to the Curl Bar (not shown) in
the same manner. Secure the weights to the Curl Bar with two Weight Clips (53 or 77 [not shown]).
ATTACHING THE ACCESSORIES

To use the Lat Bar (57), attach it to the Lat Cable (81) with a Cable Clip (122). For some exercises, the
Chain (78) should be attached between the Lat Bar and the Lat Cable with two Cable Clips. Adjust the
length of the Chain between the Lat Bar and the Cable so that the Lat Bar is in the correct starting position for the exercise to be performed. The Ankle Strap (not shown) can be attached to the Low Cable (not shown) in the same manner.
ADDING WEIGHTS TO THE BARBELL OR THE WEIGHT CARRIAGE

To use the barbell or Weight Carriage (71), slide the desired amount of weight (not included) onto the Barbell Adapters (59) or Weight Carriage. Secure the weights with the Large Weight Clips (77).
USING THE LOCKING BAR

Before starting an exercise, position the Locking Bar (56) in the correct position for the exercise. To do this, stand in front of the rack and grip the Locking Bar (56) with both hands. Turn the Locking Bar until the two hooks disengage the slots in the Left and right uprights (36 [not shown], 69). Raise or lower the Locking Bar to a new position and turn it until the hooks engage the slots in the Uprights.
MOVING THE SAFETY SPOTTERS

Before starting an exercise, position the Safety Spotters (52) in the correct position for the exercise. To move the Safety Spotters (52) to a new position, grip the handles on the Spotter Hooks (53, 54 [not shown]) and pull the hooks out of the slots in the Uprights (36 [not shown], 69). Raise or lower the Safety Spotters to new positions and pivot the hooks back into the slots in the Uprights. (Always start an exercise with the Safety Spotters positioned at the lowest point to which you want the barbell to move during the exercise.)
CABLE DIAGRAMS
The cable diagrams below show the proper routing of the Lat Cable (81), the Low Cable (82), and the Butterfly Cable (83). Use the diagram to make sure that the cables and the cable traps have been assembled correctly. If the cables have not been correctly routed, the weight bench will not function properly, and damage may occur. The numbers show the correct route for each cable. Make sure that the cable traps do not touch or bind the cables.

TROUBLESHOOTING
Make sure all parts are properly tightened each time the weight bench is used. Replace any worn parts immediately. The weight bench can be cleaned using a damp cloth and mild non-abrasive detergent. Do not use solvents.
TIGHTENING THE CABLES
Woven cable, the type of cable used on the weight bench, can stretch slightly when it is first used. If there is slack in the cables before resistance is felt, the cables should be tightened. Slack can be removed from the cables in several ways:
See drawing 1. To tighten the cables, remove the M10 Nylon Locknut (97) and the M10 x 45mm Bolt (112) from the lower 90mm Pulley (90), Cable Trap (125), and Pulley Plates (72). Reattach the Pulley and the Cable Trap between a set of holes closer to the center of the Pulley Plates with the Bolt and Locknut. Make sure the Cable Trap is oriented to hold the Low Cable (82) in the groove of the Pulley.

See drawing 2. Additional slack can be removed from the cables by tightening a cable into the M6 Nylon Locknut (124) inside a Cable End Clip (85). To do this, pull the Clip Cover (84) back and use pliers to tighten the Locknut. Replace the Cover.

Do not over-tighten the cables. If a cable slips off the pulleys repeatedly, it may have become twisted. Remove the cable and reinstall it. If the cables need to be replaced, see ORDERING REPLACEMENT PARTS on the back cover of this manual.
EXERCISE GUIDELINES
THE FOUR BASIC TYPES OF WORKOUTS
MUSCLE BUILDING
To increase the size and strength of your muscles, push them close to their maximum capacity. Your muscles will continually adapt and grow as you progressively increase the intensity of your exercise. You can adjust the intensity level of an individual exercise in two ways:
- changing the amount of resistance used
- by changing the number of repetitions or sets performed. (A “repetition” is one complete cycle of an exercise, such as one sit-up. A “set” is a series of repetitions.)
The proper amount of resistance for each exercise depends on the individual user. You must gauge
your limits and select the amount of resistance that is right for you. Begin with 3 sets of 8 repetitions for each exercise you perform. Rest for 3 minutes after each set. When you can complete 3 sets of 12 repetitions without difficulty, increase the amount of resistance.
TONING
You can tone your muscles by pushing them to a moderate percentage of their capacity. Select a moderate amount of resistance and increase the number of repetitions in each set. Complete as many sets of 15 to 20 repetitions as possible without discomfort. Rest for 1 minute after each set. Work your muscles by completing more sets rather than by using high amounts of resistance.
WEIGHT LOSS
To lose weight, use a low amount of resistance and increase the number of repetitions in each set. Exercise for 20 to 30 minutes, resting for a maximum of 30 seconds between sets.
CROSS TRAINING
Cross-training is an efficient way to get a complete and well-balanced fitness program. An example of a balanced program is:
- Plan strength training workouts on Monday, Wednesday, and Friday.
- Plan 20 to 30 minutes of aerobic exercise, such as running on a treadmill or riding on an elliptical or exercise bike, on Tuesday and Thursday.
- Rest from both strength training and aerobic exercise for at least one full day each week to give your body time to regenerate.
The combination of strength training and aerobic exercise will reshape and strengthen your body, plus develop your heart and lungs.
PERSONALIZING YOUR EXERCISE PROGRAM
Determining the exact length of time for each workout, as well as the number of repetitions or sets completed, is an individual matter. It is important to avoid overdoing it during the first few months of your exercise program. You should progress at your own pace and be sensitive to your body’s signals. If you experience pain or dizziness at any time while exercising, stop immediately and begin cooling down. Find out what is wrong before continuing. Remember that adequate rest and a proper diet are important factors in any exercise program.
WARMING UP
Begin each workout with 5 to 10 minutes of stretching and light exercise to warm up. Warming up prepares your body for more strenuous exercise by increasing circulation, raising your body temperature, and delivering more oxygen to your muscles.
WORKING OUT
Each workout should include 6 to 10 different exercises. Select exercises for every major muscle group,
emphasizing areas that you want to develop the most. To give balance and variety to your workouts, vary the exercises from session to session. Schedule your workouts for the time of day when your energy level is the highest. Each workout should be followed by at least one day of rest. Once you find the schedule that is right for you, stick with it.
EXERCISE FORM
Maintaining proper form is an essential part of an effective exercise program. This requires moving through the full range of motion for each exercise and moving only the appropriate parts of the body.
Exercising in an uncontrolled manner will leave you feeling exhausted. In the exercise guide accompanying this manual, you will find photographs showing the correct form for several exercises and a list of the muscles affected. See the muscle chart on the next page to find the names of the muscles. The repetitions in each set should be performed smoothly and without pausing. The exertion stage of
each repetition should last about half as long as the return stage. Proper breathing is important. Exhale
during the exertion stage of each repetition and inhale during the return stroke. Never hold your breath.
Rest for a short period after each set. The ideal resting periods are:
- Rest for three minutes after each set for a muscle-building workout.
- Rest for one minute after each set for a toning workout.
- Rest for 30 seconds after each set for a weight loss workout.
Plan to spend the first couple of weeks familiarizing yourself with the equipment and learning the proper
form for each exercise.
COOLING DOWN
End each workout with 5 to 10 minutes of stretching. Include stretches for both your arms and legs. Move slowly as you stretch and do not bounce. Ease into each stretch gradually and go only as far as you can without strain. Stretching at the end of each workout is an effective way to increase flexibility.
STAYING MOTIVATED
For motivation, keep a record of each workout. The chart on pages 26 and 27 of this manual can be photocopied and used to schedule and record your workouts. List the date, the exercises performed, the resistance used, and the number of sets and repetitions completed. Record your weight and key body measurements at the end of every month. Remember, the key to achieving the greatest results is to make exercise a regular and enjoyable part of your everyday life.
For more manuals by ProForm, visit ManualsLibraryy
ProForm C840 Smith Machine-FAQs
What is the ProForm C840 Smith Machine?
The ProForm C840 is a versatile home gym system designed for strength training. It features a Smith machine with a barbell guide for safer weightlifting and various attachments for a full-body workout.
How do I set up the ProForm C840 Smith Machine?
Follow the step-by-step instructions in the user manual. Ensure all components are securely assembled, and place the machine on a flat, stable surface.
What exercises can I do with the ProForm C840 Smith Machine?
The machine supports a wide range of exercises, including bench presses, squats, deadlifts, pull-ups, and various cable exercises for targeting different muscle groups.
Does the ProForm C840 Smith Machine come with weights?
No, the machine typically does not include weight plates. You will need to purchase compatible weight plates separately.
How do I adjust the safety stops on the Smith machine?
The safety stops can be adjusted by sliding them to the desired height on the guide rails and locking them into place. This ensures a safe range of motion during exercises.
Is the ProForm C840 suitable for beginners?
Yes, the guided barbell system and adjustable safety features make it beginner-friendly while providing options for advanced users to perform challenging workouts.
How much weight can the ProForm C840 Smith Machine handle?
Check the user manual for the specific weight capacity. Always avoid exceeding the recommended weight limits to maintain safety and machine durability.
How do I maintain the ProForm C840 Smith Machine?
Regularly check for loose bolts and tighten them as needed. Keep the guide rails and moving parts clean and lubricated to ensure smooth operation.
Can I use the Smith machine for free-weight exercises?
The ProForm C840 includes a guided barbell system but also allows for some free-weight exercises when using additional attachments or separate equipment.
Is assembly of the ProForm C840 Smith Machine difficult?
Assembly can be completed at home by following the included instructions. However, it is recommended to have an extra person to assist with heavy parts and alignment.
Does the machine come with a warranty?
Yes, the ProForm C840 typically includes a warranty. Refer to your user manual for details about coverage and terms.
Can I adjust the cable resistance?
Yes, cable resistance can be adjusted by adding or removing weight plates, depending on your workout needs.
How much space is required for the ProForm C840 Smith Machine?
Ensure you have adequate space for the machine, including room to move around safely during exercises. Refer to the manual for exact dimensions.
Is the ProForm C840 safe to use alone?
Yes, the safety stops and guided barbell system are designed for solo workouts, but it’s always recommended to exercise caution and have a spotter for heavy lifts if possible.
What attachments are included with the ProForm C840 Smith Machine?
Attachments may vary by model but often include a lat bar, pull-down cable, and other accessories for a variety of exercises. Check the manual for details.


















Identify the Left and Right Barbell Gliders (51, 123) by the position of the screw holes. Slide each Barbell Glider (51, 123) onto the Guide Bar (41) next to the indicated Upright (36, 69). Make sure the Barbell Gliders are oriented as shown.








