
Weider 8525 Weight Machine

IMPORTANT PRECAUTIONS
WARNING: To reduce the risk of serious injury, read the following important precautions before using the weight system.
- Read all instructions in this manual and in the accompanying literature before using the weight system.
- It is the responsibility of the owner to ensure that all users of the weight system are adequately informed of all precautions.
- The weight system is intended for home use only. Do not use the weight system in any commercial, rental, or institutional setting.
- Use the weight system only on a level surface. Cover the floor beneath the weight system to protect the floor.
- Make sure all parts are properly tightened each time you use the weight system. Replace any worn parts immediately.
- Keep children under 12 and pets away from the weight system at all times.
- Keep hands and feet away from moving parts.
- Always wear athletic shoes for foot protection.
- The weight system is designed to support a maximum user weight of 300 pounds.
- Always stand on a foot plate when performing an exercise that could cause the weight system to tip.
- Never release the press arm, butterfly arms, leg lever, lat bar, or nylon strap while weights are raised. The weights will fall with great force.
- Make sure that the cables remain on the pulleys at all times. If the cables bind while you are exercising, stop immediately and make sure that the cables are on all of the pulleys.
- Always disconnect the lat bar from the weight system when performing an exercise that does not use the lat bar.
- If you feel pain or dizziness at any time while exercising, stop immediately and begin cooling down.
- The decals shown below have been placed on the weight system in the locations shown on page 4. If a decal is missing or illegible, call our toll-free Customer Hot Line at 1-800-999-3756 and order a free replacement decal. Apply the decal in the location shown.
WARNING: Before beginning this or any exercise program, consult your physician. This is especially important for persons over the age of 35 or persons with pre-existing health problems. Read all instructions before using. ICON assumes no responsibility for personal injury or property damage sustained by or through the use of this product.
BEFORE YOU BEGIN
Thank you for selecting the versatile WEIDER® 8525 weight system. The weight system offers a selection of weight stations designed to develop every major muscle group of the body. Whether your goal is to tone your body, build dramatic muscle size and strength, or improve your cardiovascular system, the weight system will help you to achieve the specific results you want.
For your benefit, read this manual carefully before using the weight system. If you have additional questions, please call our Customer Service Department toll-free at 1-800-999-3756, Monday through Friday, 6 a.m. until 6 p.m. Mountain Time (excluding holidays).
To help us assist you, please note the product model number and serial number before calling. The model number is WESY19512. The serial number can be found on a decal attached to the weight system (see the front cover of this manual).
Before reading further, please review the drawing below and familiarize yourself with the parts that are labeled.
ASSEMBLY
Make Things Easier for Yourself
Everything in this manual is designed to ensure that the weight system can be assembled successfully by anyone. However, it is important to realize that the weight system has many parts and that the assembly process will take time.
Most people find that by setting aside plenty of time, assembly will go smoothly.
- The assembly requires two people.
- Place all parts in a cleared area and remove the packing materials. Do not dispose of the packing materials until assembly is completed.
- Tighten all parts as you assemble them, unless instructed to do otherwise.
- As you assemble the weight system, make sure all parts are oriented as shown in the drawings.
- For help identifying small parts, use the PART IDENTIFICATION CHART at the center of this manual.
The following tools (not included) are required for assembly:
- Two adjustable wrenches
- One rubber mallet
- One standard screwdriver
- One Phillips screwdriver
- Lubricant, such as grease or petroleum jelly, and soapy water.
Assembly will be more convenient if you have a socket set, a set of open-end or closed-end wrenches, or a set of ratchet wrenches.
Frame Assembly
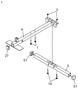
- Before beginning assembly, make sure that you have read and understand the information in the box above. For help identifying small parts, use the PART IDENTIFICATION CHART in the center of this manual. Press two 2” Square Outer Caps (51) onto the ends of the Stabilizer (5). Press a 2” Square Inner Cap (27) into the end of the Base (4). Insert two 5/16” x 2 3/4” Carriage Bolts (14) up through the Stabilizer (5). Insert two 5/16” x 2 1/2” Carriage Bolts (1) up through the Base (4). Note: It may be helpful to place a piece of tape over the bolt heads to hold the Bolts in place. Attach the indicated end of the Base (4) to the Stabilizer (5) with two 5/16” x 2 3/4” Carriage Bolts (14) and two 5/16” Nylon Locknuts (3). Do not tighten the Locknuts yet.

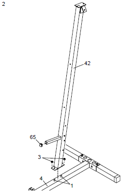
- Press a 1” Square Inner Cap (65) into the Front Upright (42). Slide the Front Upright (42) onto the 5/16” x 2 1/2” Carriage Bolts (1) in the Base (4). Hand-tighten two 5/16” Nylon Locknuts (3) onto the Carriage Bolts. Do not tighten the Locknuts yet.

- Attach the two Weight Guides (62) inside the Stabilizer (5) with two 5/16” x 2 3/4” Bolts (11), two 5/16” Washers (8), two 1/2” x 17/32” Spacers (61), and two 5/16” Nylon Locknuts (3). Tighten the 5/16” Nylon Locknuts (3) used in step 1. Slide two Weight Bumpers (19) onto Weight Guides (62). Stack the six Weights (25) on the Weight Bumpers (19). Make sure that all of the Weights are turned so the large pin grooves are on the bottom of the Weights and on the same side of the weight stack. Press the Weight Tube Bumper (64) into the end of the Weight Tube (63). Insert the Weight Tube into the stack of Weights (25). Make sure that the pins on the Weight Tube are resting in the pin grooves in the upper Weight. Lubricate the insides of the holes in the Top Weight (76). Set the Top Weight onto the stack of Weights (25).

- Press two 2” Square Inner Caps (27) into the indicated ends of the Top Frame (55). Press two 1 3/4” Square Inner Caps (44) into the ends of the crossbar on the Top Frame. Press two Round Inner Caps (78) into the top of the crossbar.
- Attach the Top Frame (55) to the Front Upright (42) with two 5/16” x 2 3/4” Bolts (11), two 5/16” Washers (8), and two 5/16” Nylon Locknuts (3). Attach the upper ends of the Weight Guides (62) to the Top Frame (55) with a 5/16” x 6” Bolt (60)
and a 5/16” Nylon Locknut (3). Tighten the 5/16” Nylon Locknuts (3) used in steps 2 and 5.
Arm Assembly
- Press two 1” x 7/8” Plastic Bushings (75) onto the welded spacers on the Press Frame (17). Slide the Press Frame into place on the Base (4) as shown. Note: This will be a tight fit. The Plastic Bushings should fit onto each end of the indicated tube in the Base.
Lubricate the 3/8” x 8” Bolt (59) with grease. Attach the Press Frame (17) to the Base (4) with the Bolt and a 3/8” Nylon Locknut (21). Do not overtighten the Locknut; the Press Frame must be able to pivot easily. - Press a 1 3/4” Square Inner Cap (44) into the top of a Press Arm (46). Press two 1” Round Inner Caps (49) into the ends of the handle on the Press Arm. Attach the Press Arm (46) to one side of the Press Frame (17) with two 5/16” x 2 1/2” Bolts (22) and two 5/16” Nylon Locknuts (3). Assemble the other Press Arm (46) in the same manner.

- Identify the Right Arm (48) and the Left Arm (47) by the position of the welded bracket on each Arm. Lubricate both axles on the Top Frame (55). Press a 1 3/4” Square Inner Cap (44) into the lower end of the Left Arm (47). Wet the end of the Arm with soapy water and slide a 10” Pad (45) onto it. Have another person slide the Left Arm (47) onto the left axle on the Top Frame (55). Note: Be careful not to confuse the Right Arm (48) with the Left Arm. Make sure that the upper end of the Left Arm is behind the indicated bracket on the Top Frame. Tap two 1” Retainers (69) and a 1” Round Cover Cap (70) onto the right axle. Make sure that the teeth on the Retainers bend toward the Cover Cap, as shown in the inset drawing. Attach the Right Arm (48) in the same manner.
Cable Assembly
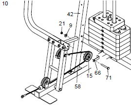
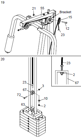
- During steps 9 through 20, refer to the CABLE DIAGRAM on page 18 of this manual to verify proper cable routing. Locate the Short Cable (58). Lay the Cable in the bracket on the Base (4) and under the Press Frame (17). Attach a 3 1/2” Pulley (15) to the bracket with a 3/8” x 2” Bolt (12) and a 3/8” Nylon Locknut (21). Make sure that the end of the Cable with the ball is on the indicated side of the bracket.

- Route the Short Cable (58) around a 3 1/2” Pulley (15). Attach the Pulley and a Cable Trap (66) to the lower hole in the Front Upright (42) with a 3/8” x 3 3/4” Bolt (71), a 3/8” Washer (9), and a 3/8” Nylon Locknut (21). Make sure that the Cable Trap is turned to hold the Cable in place and that the Cable is routed around the Pulley as shown.

- Note: The 3 1/2” Pulley (15) in this step has been preassembled. It is shown exploded in this drawing for clarity. Route the Short Cable (58) around the 3 1/2” Pulley (15) attached to the Press Frame (17). Make sure that the Cable Trap (66) is turned to hold the Cable in place and that the Cable is routed around the Pulley as shown. Tighten the 3/8” Nylon Locknut (21), 3/8” Washer (9), and the 3/8” x 3 1/2” Bolt (16).
- Route the Short Cable (58) around the 3 1/2” Pulley (15). Attach the Pulley and a Cable Trap (66) to the upper hole in the Front Upright (42) with a 3/8” x 3 3/4” Bolt (71), a 3/8” Washer (9), and a 3/8” Nylon Locknut (21). Make sure that the Cable Trap is turned to hold the Cable in place and that the Cable is routed around the Pulley as shown.

- Remove the preassembled 3 1/2” Pulley (not shown) from the Long “U” bracket (57). Attach the end of the Short Cable (58) to the Long “U”-bracket (57) with a 1/4” Nylon Locknut (2) and a 1/4” Washer (10). See the inset drawing. Do not overtighten the Nylon Locknut; it should be threaded onto the end of the Cable so only a couple of threads are showing above the nut.
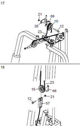
- Note: The 3 1/2” Pulley (15) in this step has been preassembled. It is shown exploded in this drawing for clarity. Locate the Long Cable (23). Route the Long Cable around the indicated 3 1/2” Pulley (15) attached to the Top Frame (55). Make sure that the Cable is between the Pulley and the hook and that the end of the Cable with the ball is on the indicated side of the hook. Tighten the 3/8” x 3 3/4” Bolt (71) and the 3/8” Nylon Locknut (21).

- Wrap the Long Cable (23) around a “V”-Pulley (6). Attach the “V”-Pulley and a Long Cable Trap (50) to the indicated bracket on the Front Upright (42) with a 3/8” x 2 1/2” Bolt (7) and a 3/8” Nylon Locknut (21). Make sure that the Long Cable Trap is positioned to hold the Cable in place.
- Route the Long Cable (23) around a “V”-pulley (6). Attach the “V”-pulley and a Long Cable Trap (50) to the Left Arm (47) with a 3/8” x 2 1/2” Bolt (7) and a 3/8” Nylon locknut (21). Make sure that the Long Cable Trap is positioned to hold the Cable in the groove of the “V”-pulley. Repeat this step with the Right Arm (48).

- Note: The 3 1/2” Pulley (15) in this step has been preassembled. It is shown exploded in this drawing for clarity. Route the Long Cable (23) around the 3 1/2” Pulley (15) attached to the Pulley Bracket (20). Make sure that the Cable is in the groove of the Pulley and that the Cable Trap (66) is turned to hold the Cable in place. Tighten the 3/8” x 2” Bolt (12) and the 3/8” Nylon Locknut (21). Make sure that the 5/16” x 5” Bolt (not shown) is properly tightened and that the Pulley Bracket (20) can move freely.
- Attach a 3 1/2” Pulley (15) and a Cable Trap (66) to the indicated hole in the Long “U”-bracket (57) with a 3/8” x 2” Bolt (12) and a 3/8” Nylon Locknut (21). Make sure that the Cable Trap is inside the “U”- bracket. Route the Long Cable (23) between the 3 1/2” Pulley (15) and the Cable Trap (66). Make sure that the Cable is in the groove of the Pulley and that the Cable and Pulley move smoothly.

- Remove the indicated 3 1/2” Pulley (15) from the Top Frame (55). Route the Long Cable (23) around the 3 1/2” Pulley (15) and reattach it to the bracket on the Top Frame (55) with the 3/8” x 2” Bolt (12) and the 3/8” Nylon Locknut (21). Make sure that the Cable is in the groove of the Pulley and that the Cable and Pulley move smoothly.
- Attach the Long Cable (23) to the Small “U”- bracket (67) with a 1/4” Nylon Locknut (2) and a 1/4” Washer (10). See the inset drawing. Do not overtighten the Nylon Locknut; it should be threaded onto the end of the Cable only a couple of turns, as shown. Attach the Small “U”-bracket (67) to the Weight Tube (63) with the 5/16” x 1 3/4” Bolt (72) and a 5/16” Nylon Locknut (3).

TROUBLESHOOTING AND MAINTENANCE
Inspect and tighten all parts each time the weight system is used. Replace any worn parts immediately. The weight system can be cleaned using a damp cloth and mild non-abrasive detergent. Do not use solvents.
TIGHTENING THE CABLES
Woven cable, the type of cable used on the weight system, can stretch slightly when it is first used. If there is slack in the cables before resistance is felt, the cables should be tightened.
Slack can be removed by moving the 3 1/2” Pulley (15) to the lower hole in the Long “U”-bracket (57). Remove the 3/8” Nylon Locknut (21) and the 3/8” x 2” Bolt (12) from the Cable Trap (66), Pulley, and “U”- bracket. Re-attach the Pulley and Cable Trap. Make sure that the Cable Trap is positioned to hold the Cable in place, and that the Cable and Pulley move smoothly.
Additional slack can be removed from the cables by tightening the 1/4” Nylon Locknuts (2) at the end of the Long Cable (23) and at the end of the Short Cable (58). To do this, you may need to remove the Small “U”- bracket (67) from the Weight Tube (63) or remove the 3 1/2” Pulley (15) from the Long “U”- bracket (57). Make sure that the cables are not too tight, or the Top Weight (76) will be lifted off the weight stack.
Note: If a cable tends to slip off the pulleys often, the cable may have become twisted. Remove the cable and reinstall it.
If the cables need to be replaced, see ORDERING REPLACEMENT PARTS on the back cover of this manual.
CABLE DIAGRAM
The cable diagram below shows the proper routing of the Long Cable (23) and the Short Cable (58). Use the diagram to make sure that the two Cables and the cable traps have been assembled correctly. If the Cables have not been correctly routed, the weight system will not function properly, and damage may occur. The numbers show the correct route for each Cable; the starting and ending points of each Cable are labeled. Make sure that the cable traps do not touch or bind the Cables.
ORDERING REPLACEMENT PARTS
To order replacement parts, simply call our Customer Service Department toll-free at 1-800-999-3756, Monday through Friday, 6 a.m. until 6 p.m. Mountain Time (excluding holidays). To help us assist you, please be prepared to give the following information:
- The MODEL NUMBER of the product (WESY19512)
- The NAME of the product (WEIDER® 8525 weight system)
- The SERIAL NUMBER of the product (see the front cover of this manual)
- The KEY NUMBER and DESCRIPTION of the part(s) (see the PART LIST in the center of this manual)
For more Manuals by Weider, visit ManualsLibraryy
Weider 8525 Weight Machine-FAQs
How much weight can the Weider 8525 hold?
The Weider 8525 features an 80-pound vinyl weight stack, but its pulley system allows some stations to provide up to 214 lbs of resistance.
What weight should beginners use on weight machines?
Light weights: 5–10 lbs
Medium weights: 10–20 lbs
Heavy weights: 15–30 lbs
Start with lighter weights to perfect form before increasing resistance.
How do weight machines work?
Weight machines use cables, pulleys, and levers to guide movement, providing controlled resistance for strength training.
How to choose the right weight machine?
Consider:
✔ Accuracy & capacity
✔ Adjustability (weight increments, seat height)
✔ Durability & weight limit
✔ Target muscle groups
What’s the weight limit for Weider machines?
Weider Power Tower: 300 lbs
Weider Olympic Barbell: 310 lbs
Weider Smith Machine Bar: 15–25 lbs (varies by model)
What are the benefits of weight machines?
Safer than free weights (guided motion)
Ideal for beginners (less balance required)
Isolates muscles effectively
How do I check if my weight machine is accurate?
Test with known weights (e.g., dumbbells).
Ensure readings are consistent across multiple tests.
Place the machine on a flat, stable surface.
How much do machine weight plates weigh?
Typically 5–20 lbs per plate, with some machines offering 2.5-lb increments for precision.
How often should I use a weight machine?
Beginners: 2–3x per week
Advanced lifters: 4–5x (with varied intensity)
Allow 48 hours of rest between sessions for muscle recovery.












