Weider WESY59101 Home Gym
IMPORTANT PRECAUTIONS
WARNING: To reduce the risk of serious injury, read the following important precautions before using the weight system.
- Read all instructions in this manual and in the accompanying literature before using the
weight system. Use the weight system only as described in the literature. - It is the responsibility of the owner to ensure that all users of the weight system are adequately
informed of all precautions. - The weight system is intended for home use only. Do not use the weight system in any commercial, rental, or institutional setting.
- Use the weight system only on a level surface. Cover the floor beneath the weight system to protect the floor.
- Make sure all parts are properly tightened each time you use the weight system. Replace any worn parts immediately.
- Keep children under 12 and pets away from the weight system at all times.
- Keep hands and feet away from moving parts.
- Always wear athletic shoes for foot protection.
- Never release the press arm, butterfly arms, leg lever, leg press, lat bar, strap, or nylon strap while weights are raised. The weights will fall with great force.
- The weight system is designed to support a maximum user weight of 300 pounds.
- Make sure that the cables remain on the pulleys at all times. If the cables bind while you are exercising, stop immediately and make sure that the cables are on all of the pulleys.
- Always disconnect the lat bar from the weight system when performing an exercise that does not use the lat bar.
- If you feel pain or dizziness at any time while exercising, stop immediately and begin cooling
down - The decal shown here has been placed on the weight system in the location shown on page 4. If the decal is missing or illegible, please call our Customer Service Department toll-free at 1-800-999-3756, Monday through Friday, 6 a.m. until 6 p.m. Mountain Time, to order a free replacement decal. Apply the decal in the location shown.
WARNING:
- To reduce the risk of serious injury, read the following important precautions before using the weight system.
- Before beginning this or any exercise program, consult your physician. This is especially important for persons over the age of 35 or persons with pre-existing health problems. Read all instructions before using. ICON assumes no responsibility for personal injury or property damage sustained by or through the use of this product.
BEFORE YOU BEGIN
Thank you for selecting the versatile WEIDER® 9600 PRO weight system. The WEIDER® 9600 PRO weight system offers a selection of weight stations designed to develop every major muscle group of the body. Whether your goal is to tone your body, build dramatic muscle size and strength, or improve your cardiovascular system, the weight system will help you to achieve the specific results you want.
For your benefit, read this manual carefully before using the weight system. If you have additional questions, please call our Customer Service Department toll-free at 1-800-999-3756, Monday through Friday, 6 a.m. until 6 p.m. Mountain Time (excluding holidays). To help us assist you, please note the product model number and serial number before calling. The model number is WESY59101. The
serial number can be found on a decal attached to the weight system (see the front cover of this manual). Before reading further, please review the drawing below and familiarize yourself with the parts that are
labeled.

ASSEMBLY
Assembly Requires Two Persons
For your convenience and safety, assemble the weight system with the help of another person.
Set Aside Enough Time
Due to the many features of the weight system, the assembly process will require about six hours. By
setting aside plenty of time and by deciding to make the task enjoyable, assembly will go smoothly.
You may want to assemble the weight system over a couple of evenings.
Select a Location for the Weight System
Because of its weight and size, the weight system should be assembled in the location where it will be
used. Make sure that there is enough room to walk around the weight system as you assemble it.
How to Unpack the Box
To make assembly as easy as possible, we have divided the assembly process into four stages. The parts needed for each stage are found in individual bags. Important: Wait until you begin each stage to open the parts bag for that stage. Place all parts of the weight system in a cleared area and remove the packing materials. Do not dispose of the packing materials until assembly is completed.
Make sure you have the following tools:

Note: Assembly will be more convenient if you have a socket set, a set of open-end or closed-end wrenches, or a set of ratchet wrenches.
How to Identify Parts
To help you identify the small parts used in assembly, we have included a PART IDENTIFICATION CHART in the center of this manual. Place the chart on the floor and use it to easily identify parts during each assembly step. Note: Some small parts may have been pre-attached. If a part is not in the parts
bag, check to see if it has been pre-attached.
How to Orient Parts
As you assemble the weight system, make sure that all parts are oriented exactly as shown in the drawings.
Tightening Parts
Tighten all parts as you assemble them unless instructed to do otherwise.
Questions?
If you have questions after reading the assembly instructions, please call our Customer Service Department toll-free at 1-800-999-3756, Monday through Friday, 6 a.m. until 6 p.m. Mountain Time.
The Four Stages of the Assembly Process
- Frame Assembly—You will begin by assembling the base and the uprights that form the skeleton of the weight system.
- Arm Assembly—During this stage you will assemble the arms and the leg levers.
- Cable Assembly—During this stage you will attach the cables and pulleys that connect the arms to the weights.
- Seat Assembly—During the final stage you will assemble the seats and the backrest.
FRAME ASSEMBLY

- Locate and open the parts bags labeled “FRAME ASSEMBLY.” See the inset drawing. Insert two 1 1/2” x 2 1/2” Inner Caps (83) and two 3/8” x 2” Carriage Bolts (92) into the Butterfly Base (4). Insert two 1 1/2” x 2 1/2” Inner Caps (83) into the indicated ends of the Butterfly Base (4) and the Press Base (6). Insert six 3/8” x 2” Carriage Bolts (92) into the Butterfly Base and the Press Base. Attach the Butterfly Base (4) to the Press Base (6) with two 3/8” x 3 1/4” Bolts (62), two 3/8” Flat
Washers (48), and two 3/8” Nylon Locknuts (50).
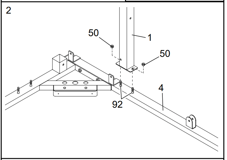
- Attach the Butterfly Upright (1) to the indicated 3/8” x 2” Carriage Bolts (92) on the Butterfly Base (4) with two 3/8” Nylon Locknuts (50). Do not tighten the Nylon Locknuts yet.

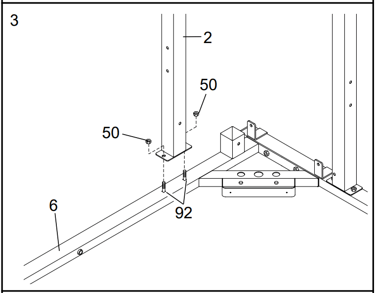
- Attach the Press Upright (2) to the indicated 3/8” x 2” Carriage Bolts (92) on the Press Base (6) with two 3/8” Nylon Locknuts (50). Do not tighten the Nylon Locknuts yet.

- Make sure the Plastic Bushing (52) is in the top of the Butterfly Front Leg (3). Attach the Butterfly Front Leg (3) to the indicated 3/8” x 2” Carriage Bolts (92) on the Butterfly Base (4) with two 3/8” Nylon Locknuts (50). Do not tighten the Nylon Locknuts yet. Make sure that the Butterfly Front Leg is turned so that the UBracket is on the side shown.

- Attach the Butterfly Seat Frame (14) to the Butterfly Upright (1) with two 3/8” x 3 1/4” Bolts (62), two 3/8” Flat Washers (48), and two 3/8” Nylon Locknuts (50). Attach the Butterfly Seat Frame (14) to the Butterfly Front Leg (3) with two 3/8” x 3 1/4” Bolts (62), two 3/8” Flat Washers (48) and two 3/8” Nylon Locknuts (50). Do not tighten the Nylon Locknuts yet.

- Press a 2 1/2” Square Inner Cap (76) into the Press Front Leg (20). Attach the Press Front Leg (20) to the indicated 3/8” x 2” Carriage Bolts (92) on the Press Base (6) with two 3/8” Nylon Locknuts (50). Do not tighten the Nylon Locknuts yet. Make sure that you Press the Front Leg so that the indicated hole is on the side shown.

- Attach the Press Seat Frame (7) to the Press Upright (2) with two 3/8” x 3 1/4” Bolts (62), two 3/8”
Flat Washers (48), and two 3/8” Nylon Locknuts (50). Attach the Press Seat Frame (7) to the Press Front Leg (20) with two 3/8” x 3 1/4” Bolts (62), two 3/8” Flat Washers (48), and two 3/8” Nylon Locknuts (50). Do not tighten the Nylon Locknuts yet.
- Insert three 1 1/2” x 2 1/2” Inner Caps (83) into the ends of the Butterfly Top Frame (33). Attach the Butterfly Top Frame (33) to the Butterfly Upright (1) with two 3/8” x 2 1/2” Bolts (87), a Support Plate (94), and two 3/8” Nylon Locknuts (50). Do not tighten the Nylon Locknuts yet.

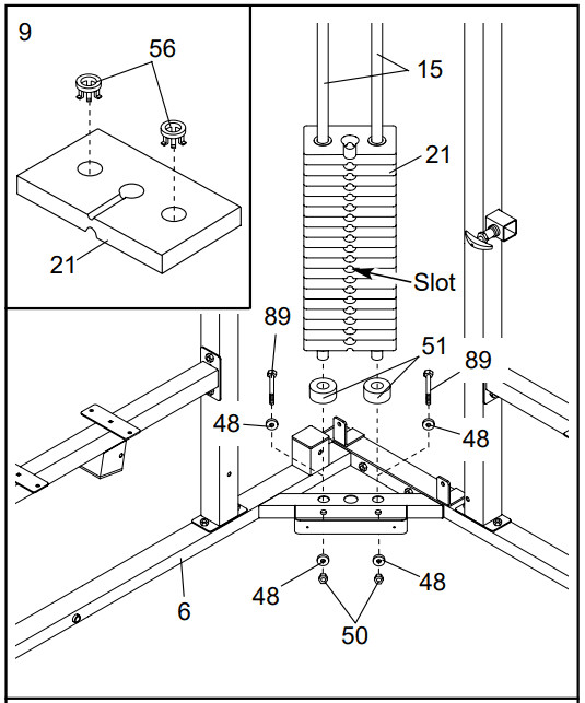
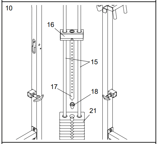
- See the inset drawing. Insert two Weight Inserts (56) into each Weight (21). Set the two Weight Bumpers (51) over the holes in the corner bar of the Press Base (6). Slide the Weight Guides (15) through the Weight Bumpers (51) and the holes in the Press Base (6). Secure the Weight Guides to the Press Base with two 3/8” x 2 3/4” Bolts (89), four 3/8” Flat Washers (48), and two 3/8” Nylon Locknuts (50). Slide the Weights (21) onto the Weight Guides (15), stacking them on top of the Weight Bumpers (51).
Note: Be sure the Weights are oriented so that the slots in the Weights are toward the front, as
shown.
- Press the Weight Tube Bumper (18) into the Weight Tube (17). Slide the Top Weight (16) onto the Weight Guides (15), so that the Weight Tube (17) goes into the center hole in the Weights (21).

- Press a 1 1/2” x 2 1/2” Inner Cap (83) into the end of the Press Top Frame (9). Attach the Press Top Frame (9) and a Support Plate (94) to the Press Upright (2) with two 3/8” x 2 1/2” Bolts (87) and two 3/8” Nylon Locknuts (50). Do not tighten the Nylon Locknuts yet.
Note: Be sure that the Weight Guides (15) are properly positioned in relation to the Press Top Frame (9), as shown in drawing 12 on the next page.
- Secure the Press Top Frame (9) to the Butterfly Top Frame (33) with two 3/8” x 3 1/4” Bolts (62), two 3/8” Flat Washers (48), and two 3/8” Nylon Locknuts (50). Do not tighten the Nylon Locknuts
yet.
- Secure the Weight Guides (15) to the Press Top Frame (9) with two 3/8” x 1 3/4” Bolts (57) and two
3/8” Nylon Locknuts (50). Tighten the Nylon Locknuts used in steps 2–13.
ARM ASSEMBLY

- Locate and open the parts bag labeled “ARM ASSEMBLY.” Press a 1 1/2” Square Inner Cap (35) into the Right Pivot Arm (85). Lubricate the axles on the Butterfly Top Frame (33). Secure the Right Pivot Arm (85) to the right axle with two Retainer Rings (31) and a 1” Round Outer
Cap (38). Do not confuse the Right Pivot Arm with the Left Pivot Arm (not shown). The Retainer Rings may break if disassembled.
Note: Be sure the Retainer Rings (31) and 1” Round Outer Cap (38) are oriented as shown in
the inset drawing. Repeat this step with the Left Pivot Arm (not shown) and left axle. - Insert a 2” Square Inner Cap (28) into the end of the Butterfly Arm (10). Attach a Butterfly Handle (53) to the Butterfly Arm (10) with two 3/8” x 1” Bolts (84) and two 3/8” Flat Washers (48). Repeat this step with the other Butterfly Arm (10).

- Lubricate a 3/8” x 3 1/4” Bolt (62). Attach the left Butterfly Arm (10) to the Left Pivot Arm (71) with the Bolt and a 3/8” Nylon Locknut (50). Repeat this step with the right Butterfly Arm (not shown) and the Right Pivot Arm (85).

- Lubricate a 1/2” x 4” Bolt (68). Attach the Press Frame (8) to the Press Base (6) with the Bolt and a
1/2” Nylon Jamnut (36). Note: Do not over-tighten the 1/2” Nylon Jamnut (36); the Press Frame (8) must be able to pivot easily
- Insert a 2” Square Inner Cap (28) into the top of a Press Arm (77). Press two 1” Round Inner Caps
(86) into the outside ends of the handles. Attach the Press Arm (77) to the Press Frame (8) with two 5/16” x 2 3/4” Bolts (96) and two 5/16” Nylon Locknuts (64). Repeat this step with the other Press Arm (77).
- Attach a Bumper (40) to the Press Front Leg (20) with a 1” Tap Screw (80). Press a 2” x 3” Inner Cap (78) into the top of the Press Leg Lever (90). Lubricate a 1/2” x 4” Bolt (68). Attach the Press Leg Lever (90) to the Press Base (6) with the Bolt and a 1/2” Nylon Jamnut (36). Note: Do not over-tighten the Nylon Jamnut; the Press Leg Lever must be able to pivot easily.

- Insert two 2” Square Inner Caps (28) into the Leg Lever (41). Attach a Bumper (40) to the Butterfly Front Leg (3) with a 1” Tap Screw (80). Lubricate a 3/8” x 3” Bolt (88). Attach the Leg Lever (41), with the small slot on the side shown, to the Butterfly Front Leg (3) with the Bolt and a 3/8” Nylon Jamnut (63). Note: Do not over-tighten the Nylon Jamnut; the Leg Lever must pivot easily.
CABLE ASSEMBLY

- Locate and open the parts bags labeled “CABLE ASSEMBLY” and “PULLEYS.” Locate the Butterfly Cable (73), which is the shorter cable of the two that have eyelets on both ends. Attach the Butterfly Cable (73) to the Right Pivot Arm (85) with a 5/16” x 2 1/4” Shoulder Bolt (79) and a 5/16” Nylon Jamnut (101).

- Wrap the Butterfly Cable (73) over a “V”-Pulley (27). Attach the “V”-Pulley and a Large Cable Trap (32) to the bracket on the Butterfly Upright (1) with a 3/8” x 2 1/2” Bolt (87) and a 3/8” Nylon Locknut (50).

- Remove the preassembled 3/8” x 2” Bolts (54) from one set of Adjustable Pulley Plates (23). Wrap the Butterfly Cable (73) around a 3 1/2” Pulley (24). Attach the 3 1/2” Pulley and a Cable Trap (25) between the top holes of the Adjustable Pulley Plates (23) with a 3/8” x 2” Bolt (54) and a 3/8” Nylon Locknut (50). Be sure that the Cable Trap is turned to hold the Cable in place.

- Wrap the Butterfly Cable (73) around a “V”-Pulley (27). Attach the “V”-Pulley and a Large Cable Trap (32) to the bracket on the Butterfly Upright (1) with a 3/8” x 2 1/2” Bolt (87) and a 3/8” Nylon Locknut (50). Be sure that the Cable Trap is turned to hold the Cable in place.

- Attach the Butterfly Cable (73) to the Left Pivot Arm (71) with a 5/16” x 2 1/4” Shoulder Bolt (79) and a 5/16” Nylon Jamnut (101).

- Locate the Ab Cable (47). Insert the Ab Cable up through the Press Top Frame (9) and wrap it around a 3 1/2” Pulley (24). Attach a 3/8” Flat Washer (48) and a 5/8” x 3/4” Bushing (66) to a 3/8” x 3 1/4” Bolt (62). Slide the Bolt through the Press the Top Frame and the 3 1/2” Pulley. Secure another 5/8” x 3/4” Bushing and 3/8” Flat Washer to the Bolt with a 3/8” Nylon Locknut (50).
SEAT ASSEMBLY

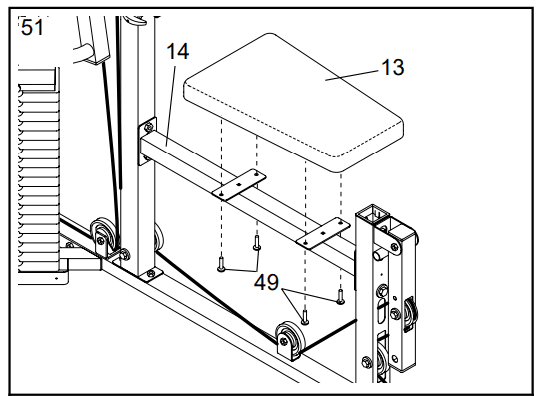
- Locate and open the parts bag labeled “SEAT ASSEMBLY.” Attach a Seat (13) to the brackets on the Butterfly Seat Frame (14) using four 1/4” x 3/4” Bolts (49). Repeat this step with the other Seat (not shown) and the Press Seat Frame (not shown).

- Press a 1 1/2” Square Inner Cap (35) into the end of the Press Backrest Frame (44). Attach a Backrest (12) to the Press Backrest Frame with four 1/4” x 3/4” Bolts (49). Pull out the Adjustment Knob (5) on the Press Upright (2) as far as it can go. Slide the Press Backrest Frame (44) into the Press Upright and snap the Adjustment Knob into a hole in the Press Backrest Frame. Turn the Adjustment Knob clockwise until tight.

- Press a 1 1/2” Square Inner Cap (35) into the end of the Butterfly Backrest Frame (70). Attach the
other Backrest (12) to the Butterfly Backrest Frame with four 1/4” x 3/4” Bolts (49). Pull out the Adjustment Knob (5) on the Butterfly Upright (1) as far as it can go. Slide the Butterfly Backrest Frame (70) into the Butterfly Upright and snap the Adjustment Knob into a hole in the Butterfly Backrest Frame. Turn the Adjustment Knob clockwise until tight.
- See drawing A. Attach the Shroud (34) to the Press Top Frame (9) with two #8 x 1/2” Screws
(45). See drawing B. Attach the Shroud (34) to the Press Base (6) with two #8 x 1/2” Screws (45).
- Lubricate a 1/2” x 4” Bolt (68). Attach the Foot Press Plate (29) to the Press Leg Lever (90) with
the Bolt and a 1/2” Nylon Jamnut (36).
- Press two 3/4” Round Inner Caps (43) into each of the two Pad Tubes (42). Slide a Foam Pad (30) onto one side of a Pad Tube (42). Slide the Pad Tube through the hole in the Leg Lever (41). Slide another Foam Pad onto the other side of the Pad Tube. Slide a Foam Pad (30) onto one side of the other Pad Tube (42). Insert the Pad Tube through the welded tube on the Butterfly Front Leg (3). Slide another Foam Pad onto the other side of the Pad Tube.

- Attach the Curl Pad (91) to the Preacher Post (39) with four 1/4” x 3/4” Bolts (49). Slide the Preacher Post (39) into the Butterfly Front Leg (3) and secure it by inserting the Large Adjustment Knob (46) and turning it clockwise until tight.
- Make sure that all parts have been properly tightened. The use of the remaining parts will be explained in ADJUSTMENTS, beginning on page 21 of this manual.
Before using the weight system, pull each cable a few times to be sure that the cables move smoothly over
the pulleys. If one of the cables does not move smoothly, find and correct the problem.
IMPORTANT: If the cables are not properly installed, they may be damaged when heavy weight is used. See the CABLE DIAGRAMS on page 25 and 26 of this manual for proper cable routing. If there is any slack in the cables, you will need to remove the slack by tightening the cables. See TROUBLESHOOTING AND MAINTENANCE on page 24.
ADJUSTMENTS
The instructions below describe how each part of the weight system can be adjusted. Refer to the exercise guide accompanying this manual to see how the weight system should be set up for each exercise.
IMPORTANT: When attaching the lat bar, ab strap, or nylon strap, make sure that the attachments are in the correct starting position for the exercise to be performed. If there is any slack in the cables or chain as an exercise is performed, the effectiveness of the exercise will be reduced.
CHANGING THE WEIGHT SETTING

To change the weight setting of the weight stack, insert the Weight Pin (19) under the desired Weight
(21) until the bent end of the Weight Pin is touching the Weights. Turn the bent end downward. The weight setting can be changed from 10 pounds to 200 pounds, in 10 pound increments. Note: Due to the
cables and pulleys, the amount of resistance at each exercise station may vary from the weight setting. Use the WEIGHT RESISTANCE CHART on page 23 to find the approximate amount of resistance at each weight station.
ATTACHING THE LAT BAR OR AB STRAP TO THE HIGH PULLEY STATION

Attach the Lat Bar (61) to the Ab Cable (47) with a Cable Clip (69). For some exercises, the Chain (67)
should be attached between the Lat Bar and the Ab Cable with two Cable Clips. Adjust the length of the
Chain between the Lat Bar and the Ab Cable so the Lat Bar is in the correct starting position for the
exercise to be performed. The Ab Strap (81) can be attached in the same manner.
ATTACHING THE LAT BAR, AB STRAP, OR NYLON STRAP TO THE LOW PULLEY STATION

Attach the Lat Bar (61) to the Weight Cable (72) with a Cable Clip (69). For some exercises, the Chain (67) should be attached between the Lat Bar and the Weight Cable with two Cable Clips. Adjust the length of the Chain between the Lat Bar and the Weight Cable so the Lat Bar is in the correct starting position for the exercise to be performed. The Ab Strap (81) or Nylon Strap (26) can be attached in the same manner.
ATTACHING THE AB STRAP TO THE AB PULLEY STATION

Attach the Ab Strap (81) to the Ab Cable (47) at the ab pulley station with a Cable Clip (69).
ADJUSTING THE BACKREST

To adjust a Backrest (12), loosen the Adjustment Knob (5) on the Press Upright (2) or the Butterfly Upright (not shown) by turning it counterclockwise and pulling it out as far as possible. Slide the Backrest forward or backward to the desired position, and snap the Adjustment Knob into a hole in the Backrest Frame (not shown). Secure the Backrest by turning the Adjustment Knob clockwise until tight.
ADJUSTING THE CURL PAD

Remove the Large Adjustment Knob (46) from the Butterfly Front Leg (3). Align the holes in the Butterfly Front Leg (3) with the desired set of holes in the Preacher Post (39). Reinsert the Large Adjustment Knob (46) through the holes in the Butterfly Front Leg and the holes in the Preacher Post. Turn the Large Adjustment Knob clockwise until tight.
Note: When not using the Curl Pad (91), store it away from the weight system.
WEIGHT RESISTANCE CHART
This chart shows the approximate weight resistance at each weight station. “Top” refers to the 10 lb. top weight. The other numbers refer to the 10 lb. weight plates. The butterfly arm resistance listed is the resistance for each butterfly arm.
Note: The actual resistance at each weight station may vary due to differences in individual weight plates, as well as friction between the cables, pulleys, and weight guides.
TROUBLESHOOTING AND MAINTENANCE
Inspect and tighten all parts each time you use the weight system. Replace any worn parts immediately. The weight system can be cleaned using a damp cloth and mild non-abrasive detergent. Do not use solvents.
TIGHTENING THE CABLES
Woven cable, the type of cable used on the weight system, can stretch slightly when it is first used. If there is slack in the cables before resistance is felt, the cables should be tightened. To tighten the cables, first insert the weight pin into the middle of the weight stack. Slack can be removed from these cables several ways:
- See drawing 1. Loosen the 1/2” Plain Nut (100) on the Weight Cable (72) bolt, away from the 1/2” Flat Washer (11). Screw the bolt a few turns into the Weight Tube (17). Retighten the 1/2” Plain Nut down onto the 1/2” Flat Washer.

- See drawing 2. Remove either the upper or lower 3/8” Nylon Locknut (50) and 3/8” x 2” Bolt (54) from the Adjustable Pulley Plates (23). Remove the 3 1/2” Pulley (24) and the Cable Trap (25). Reattach the 3 1/2” Pulley and the Cable Trap to a hole closer to the center of the Adjustable Pulley Plates with the 3/8” x 2” Bolt and 3/8” Nylon Locknut.
Either set of Adjustable Pulley Plates (23) can be adjusted in this manner. Do not over tighten the cables. If the cables are over tightened, the top weight will be lifted off the weight stack. If a cable tends to slip off the pulleys often, it may have become twisted. Remove the cable and reinstall it. If the cables need to be replaced, see ORDERING REPLACEMENT PARTS on the back cover of this manual.
CABLE DIAGRAMS
The cable diagrams on this page and the next page show the proper routing of the Leg Press Cable (75), the Ab Cable (47), the Butterfly Cable (73), and the Weight Cable (72). Use the diagrams to be sure that the Cables have been assembled correctly. The starting and ending points of each Cable have been labeled. The numbers show the proper route for each Cable.
IMPORTANT: If the Cables have not been correctly routed, the weight system will not function properly and damage may occur.

ORDERING REPLACEMENT PARTS
To order replacement parts, simply call our Customer Service Department toll-free at 1-800-999-3756, Monday through Friday, 6 a.m. until 6 p.m. Mountain Time (excluding holidays). To help us assist you, please be prepared to give the following information:
- The MODEL NUMBER of the product (WESY59101)
- The NAME of the product (WEIDER® 9600 PRO weight system)
- The SERIAL NUMBER of the product (see the front cover of this manual)
- The KEY NUMBER and DESCRIPTION of the part(s) (see the PART LIST and EXPLODED DRAWING attached at the center of this manual).
For more manuals by Weider, visit ManualsLibraryy
Weider WESY59101 Home Gym-FAQs
How do I set up my home gym with the Weider WESY59101?
Choose a space like a bedroom, garage, or basement with enough room for movement. Set up the equipment following the instructions in the manual, and ensure you have accessories like a floor mat for stability and protection.
Is the Weider WESY59101 Home Gym a good choice?
Yes, Weider home gyms are affordable, space-efficient, and versatile, offering a range of exercises. While they are considered economy models, they provide excellent value for their price.
What essential equipment should I add to my home gym?
Along with the Weider home gym, consider adding dumbbells in various weights, resistance bands, and a floor mat for a well-rounded workout setup.
How much weight resistance does the Weider WESY59101 offer?
The system includes an 80-pound vinyl weight stack, but its pulley system provides up to 214 pounds of total resistance for a variety of exercises.
Are home gyms effective for workouts?
Yes, home gyms are a flexible and convenient option that can be just as effective as gym workouts. Success depends on how you utilize your time and equipment to meet your fitness goals.
What does “gym” stand for?
Gym is short for “gymnasium,” which refers to an indoor space for exercise and sports.
Which are the best brands for gym equipment?
Top fitness equipment brands include Life Fitness, Precor, Nautilus, Technogym, Hammer Strength, and Hoist Fitness. These brands are known for their durability and high-quality products.
What is Total Gym?
Total Gym is a fitness equipment brand founded in 1974 that offers versatile, bodyweight-based exercise machines designed for strength and flexibility training.
































