Blog Post

Kenmore 11042822200 Elite HE3 Washer User Manual- featured

Kenmore 11042822200 Elite HE3 Washer User Manual

Kenmore logo

Kenmore 11042822200 Elite HE3 Washer

Kenmore 11042822200 Elite HE3 Washer User Manual- main

INSTALLATION CONSIDERATIONS

Optional Pedestal

  • A pedestal may be purchased separately or with this washer. his pedestal leads out 1 4 inches to the height of your unit for a total vertical eight approximately 2 inches( 132c m).Kenmore 11042822200 Elite HE3 Washer-1

You will need

Drain System

  • The washer can be installed using the standpipe drain system (floor or wall), the laundry tub drain system, or the floor drain system. Select the drain hose installation method you need. (See “Alternate Parts You May Need.”
  • Standpipe drain system – wall or floor (view 1 & 2)
  • The standpipe drain requires a minimum diameter standpipe of 2-in. (5 cm). The minimum carry-away capacity can be no less than 17 gal (64 L) per minute.
    The top of the standpipe must be at least 30 in. (76.2 cm) high and no higher than 96 in. (2.4 m) from the bottom of the washer

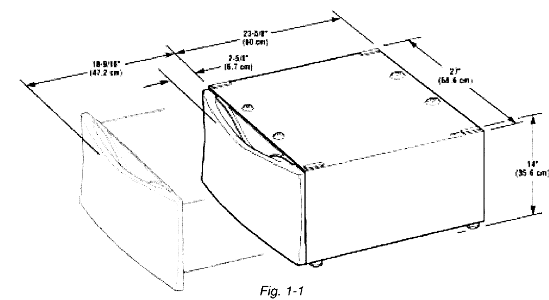
Washer Dimensions

Kenmore 11042822200 Elite HE3 Washer-2

INSTALLATION INSTRUCTIONS

Remove transport system

There are 4 bolts in the rear panel of the washer that support the suspension system during transportation.

  1. Using a ½ in. (13 mm) wrench, loosen each of the bolts.Kenmore 11042822200 Elite HE3 Washer User Manual- 3
  2. Once the bolt is loose, move it to the center of the hole and completely pull out the bolt, including the plastic spacer covering the bolt and the cable attached to the bolt. The power cord will be attached to all 4 boltsKenmore 11042822200 Elite HE3 Washer User Manual- 5
  3. Once all 4 bolts are removed, remove the power cord from each bolt holder, and discard bolts, plastic spacers, and cables.
  4. Close the holes with the transport bolt-hole plugs

Connect the Inlet Hoses

Connect the inlet hoses to the water faucets

Make sure the washer drum is empty.

  1. Attach the hose with the red color indicator to the hot water faucet. Screw on the coupling by hand until it is seated on the washer.
  2. Attach the hose with the blue color indicator to the cold water faucet. Screw on the coupling by hand until it is seated on the washer.
  3. Using pliers, tighten the couplings with an additional two-thirds turn.Kenmore 11042822200 Elite HE3 Washer User Manual- 4
    • NOTE: Do not overtighten. Damage to the coupling can result.
  4. Turn on the water faucets and check for leaks.
    • NOTE: Replace inlet hoses after 5 years of use to reduce the risk of hose failure. Record hose installation bia. are at sees on the hoses for future reference.
      Periodically inspect and replace hoses if bulges, kinks, cuts, wear, or leaks are found.

INSTALLATION INSTRUCTIONS

Pedestal

Kenmore 11042822200 Elite HE3 Washer User Manual- 6

Before you start

Important: If the washer is already installed, it must be uninstalled. See the installation instructions for the tools required in the washer.

Uninstalling the Washer

  1. Turn off the hot and cold water faucets.
  2. Briefly start the wash cycle to release any pressure in the fill hoses.
  3. Unplug the power supply cord.
  4. Remove the “HOT” and “COLD” fill hoses from the back of the washer.
  5. Disconnect the drain hose from the washer and drain any water in the hose into a bucket.
  6. Pull the washer away from the wall so it can be tipped on its back.
  7. Protect the floor with a large piece of cardboard cut from the pedestal carton. Lay the washer on its back so that the cardboard is under the entire lower back
    edge of the washer. (Fig. 1-2) Go to “Installing the Pedestal”.Kenmore 11042822200 Elite HE3 Washer User Manual- 7

Installing the Pedestal

  1. Open the pedestal drawer. Remove the envelope taped inside the drawer. This envelope contains four (4) #12 × 5/8″ (1.6 cm) hex head sheet metal screws that will be used in Steps 4 and 5.
  2. Remove the Phillips head screw from both drawer sides and set them aside. (Fig. 1-3) Remove the drawer and set it aside. Push the slides back into the pedestal.Kenmore 11042822200 Elite HE3 Washer User Manual- 9

SECTION 2

THEORY OF OPERATION

INTRODUCTION

  • The HE and HE Front-Loading Automatic Washers present a number of new features and operating characteristics that are quite different from those of previous models, in addition to the introduction of front-loading operation. The HE and HE contain a number of unique operating features designed to increase clothes’ cleaning ability while offering very high water and energy conservation.
  • Water System
  • The HE and HE” water system consists of hot and cold water inlet valves, a water temperature sensor, a water flowmeter and control, and the dispenser distribution system along with a traditional pressure switch,
  • Water Inlet Valves
  • The hot and cold water inlet valves are located at the back of the washer. These valves receive a control signal from the Central Control Unit to manage the temperature of incoming water. The temperatures are determined by the specific wash cycle selected and a temperature sensor located in the wash tub. To improve cleaning heavily soiled clothing and to provide a sanitizing feature, the water temperature can be increased through the use of a heating element located in the bottom of the tub, (HE’ model only).
  • Flowmeter
  • Water flow, or the quantity of water introduced throughout any cycle is monitored by a flowmeter and Central Control Unit. When the flowmeter registers a maximum of 10.5 gal. (40 L), and the Central Control Unit has not detected the pressure switch trip, the water valves will be shut off and an error code will show in the digital display.Kenmore 11042822200 Elite HE3 Washer User Manual- 12

Dispenser Distribution System

All wash and rinse water is introduced into the wash tub through a Dispenser Distribution System located in the top left corner of the washer. The system consists of a motor that turns a cam gear. The cam follower will divert the incoming water to one or more of the following water inlet modes:

  • Detergent Dispensing
  • Bleach Dispensing
  • Fabric Softener Dispensing
  • Rinse Dispensing (no additives)Kenmore 11042822200 Elite HE3 Washer User Manual- 13

The dispenser drawer has four separate compartments for adding laundry products to the wash load. These compartments are:

  1. Prewash Detergent Compartment
  2. Main Wash Detergent Compartment
  3. Bleach Compartment
  4. Fabric Softener Compartment
  • Laundry products are diluted and dispensed automatically at the proper time during the wash cycle.
  • The separator between the Prewash and Main Wash Detergent Compartments can be moved to accommodate either liquid or powdered detergents. (Fig. 2-4)
  • The drawer release lever (shown here in the normal position) can be installed in an alternate position (A) to accommodate stacking a matching dryer on top of the washer (Fig. 2- 4)Kenmore 11042822200 Elite HE3 Washer User Manual- 51
  • Refer to the Use and Care Guide for the Front-Loading Auto-dry products.
  • There are two routes for the water to enter the washtub. Most of the water flows through the dispenser assembly. A small portion of the water flows around the dispensers and is used to wash the door window.
    • 1. Main Inlet Tube (Fig. 2-5, A)Kenmore 11042822200 Elite HE3 Washer User Manual- 15
    • 2. Window Washer Inlet Tube (Fig. 2-5, B)

Customer Interface and Cycle Selection

Kenmore 11042822200 Elite HE3 Washer User Manual- 17

  • Status Indicators
  • Status Indicators These lights show which portion of the cycle the washer is operating. They also indicate when additional items can be added to the wash cycle and when the controls are locked.
  • Extra Cycle Selection – The Rinse/Spin selection operates a rinse and spin cycle only. This cycle combines fast-speed tumbling and extra high-speed spin. The spin speed can be reduced by selecting a speed from the SPIN SPEED modifier.
  • Wash Cycle Selector – Choose a Wash Cycle by selecting the button next to the desired cycle. Each cycle is designed for different types of fabric and soil levels. (See Table 2-1, Page 2-4)
  • Display – The display provides such information as time remaining for selected wash cycle and error codes
  • Delay Start – To start the washer at a later time, Press the DELAY button until the desired delay start time (in hours) shows in the Display, then select START. The countdown to the start time will be shown on the display.
  • Soil Level – Pressing this button will change the length of the wash cycle. Heavy will add time to a normal wash cycle, light will shorten, a normal wash cycle.
  • Pause/Cancel – Pressing this button will allow you to change any option or change a wash cycle after the wash cycle has begun. Press the
  • PAUSE/CANCEL button, select the desired option, and press and hold the START button for one (1) second. To cancel a cycle and select a new one, press the PAUSE/CANCEL button, select the new cycle, select the desired options, and press, and hold the START button for a second.

PRESSURE SWITCH

Connector Location

Kenmore 11042822200 Elite HE3 Washer User Manual- 48

  • Water Level
  • Empty
  • Suds Detect
  • Contacts Made
  • 21 to 22
  • 11 to 14
  • 21 to 24
  • 21 to 26

HEATING ELEMENT and TEMPERATURE SENSOR

Heating Element

  • Test Points
  • Between Terminals
  • Reading
  • 15 ohms
  • Temperature SensorKenmore 11042822200 Elite HE3 Washer User Manual- 52Kenmore 11042822200 Elite HE3 Washer User Manual- 49

TROUBLESHOOTING GUIDE

Kenmore 11042822200 Elite HE3 Washer User Manual- 53Kenmore 11042822200 Elite HE3 Washer User Manual- 54

For more manuals by Kenmore visit, ManualsLibraryy

Kenmore 11042822200 Elite HE3 Washer-FAQs

Why won’t my Kenmore Elite washer start?

Your washer might not start due to a power supply issue, a faulty outlet, or a malfunctioning door switch. Ensure the power source is working and the door is securely closed.

Does the Kenmore Elite washer have a reset button?

No, it doesn’t have a dedicated reset button. To reset it, unplug the washer for three minutes or turn off the breaker for the same amount of time, then reconnect it.

What should I do if my washer doesn’t start when I press the start button?

Check the power connection, inspect the start switch, ensure the door is properly locked, and confirm there are no issues with the control panel.

How do I clear the CL code on my Kenmore Elite washer?

The CL code is a reminder to run the Clean Washer cycle. It will clear automatically after completing a Clean Washer cycle or after three regular cycles.

How can I determine the series of my Kenmore washer?

For top loaders, check the tag on the back of the washer frame under the lid. For front loaders, open the door and locate the tag on the washer frame behind the door.

How can I tell how old my Kenmore water softener is?

Look at the serial number to determine its age. Most systems last 8-10 years. If your softener uses a timer-based regeneration system, it may also be outdated.

What is the capacity of the Kenmore Elite washer?

The Kenmore Elite washer has a capacity of 4.5 cubic feet.

How do I find the size of my washing machine?

Washing machine size is determined by drum capacity, measured in cubic feet or liters. Sizes range from 2 cubic feet for compact models to over 5 cubic feet for large-capacity machines.

Leave a comment

Your email address will not be published. Required fields are marked *