Blog Post

Weider 9940 Home Gym Equipment-featured

Weider 9940 Home Gym Equipment User Manual

Weider logo

Weider 9940 Home Gym Equipment

Weider 9940 Home Gym Equipment-product

Important Precautions

  1. It is the responsibility of the owner to ensure that all users of the home gym are adequately informed of all precautions.
  2. Read all instructions in this manual and the accompanying literature before using the home gym.
  3. If you feel pain or dizziness at any time while exercising, stop immediately and begin cooling down.
  4. Use the home gym only on a level surface. Cover the floor or carpet beneath the home gym for protection.
  5. Inspect and tighten all parts often. Replace any worn parts immediately.
  6. Make sure the cables remain on the pulleys at all times. If the cables bind while you are exercising, stop immediately and make sure the cables are on all of the pulleys.
  7. Always stand on a foot plate when performing an exercise that could cause the home gym to tip.
  8. Keep hands and feet away from moving parts.
  9. Keep children under the age of 12 and pets away from the home gym at all times.
  10. Always wear athletic shoes for foot protection when exercising.
  11. Never release the press arms, butterfly arms, leg lever, lat bar, or ab strap while weights are raised. The weights will fall with great force.
  12. Always disconnect the lat bar or ab strap from the home gym when performing an exercise that does not use the attachments.
  13. The home gym is intended for home use only. Do not use the home gym in a commercial, rental, or institutional setting.

Before You Begin

For your benefit, read this manual carefully before using the WEIDER® PRO 9940 home gym. If you have additional questions, please call our Customer Service Department toll-free at 1-800-999-3756, Monday through Friday, 6 a.m. until 6 p.m. Mountain Time (excluding holidays). To help us assist you, please note the product model number and serial number before calling. The model number is WESY97310. The serial number can be found on a decal attached to the home gym (see the front cover
of this manual). Please use the drawing below to familiarize yourself with the major parts and how they fit together.

Weider 9940 Home Gym Equipment-1

Assembly

Giving Yourself a Good Start
Before you begin the assembly process itself, take the time to complete the steps outlined here.
Clearing the Workspace
Clear a workspace that is large enough to hold all parts and allow you to walk around the assembled equipment.
Unpacking the Box
To make the assembly process as smooth as possible, we have broken it into separate stages. All parts used in each stage are found in individual packages in the shipping box. Place all parts in a cleared area and remove the packing materials. Do not dispose of the packing materials until assembly is completed.

Identifying Parts
To help you identify the small parts used in assembly, we have included a PART IDENTIFICATION CHART located in the center of this manual. Place the chart on the floor or work table and use it to quickly identify different parts as you open the packages for each step. Note: Some small parts may have been pre-attached for shipping. If a part is not in the parts bag, check to see if it has been preattached.

Orienting Parts
As you assemble this product, be sure that all parts are oriented as shown in the drawings.
Tightening Parts
Tighten all parts as you assemble them, unless instructed to do otherwise.
Lining Up the Tools
Assembly requires the following tools (not included):

  • Two (2) adjustable wrenches
  • One (1) standard screwdriver
  • One (1) Phillips screwdriver
  • One (1) rubber mallet
  • Lubricant, such as grease or petroleum jelly, and soapy water
  • Tape, such as clear tape or masking tape

Assembly will be more convenient if you have a socket set, a set of open-end or closed-end wrenches, or a set of ratchet wrenches.s

The Four Stages of the Assembly Process

Frame Assembly
You will begin by assembling the base and the upright frames that serve as the skeleton of the equipment.
Arm Assembly
This stage completes the press and butterfly arms that you operate while you are exercising.
Cable Assembly
This stage completes the cables and pulleys that connect the moving arm to the weights.
Seat Assembly
This final stage completes the seat and backrest that support your body while you are exercising.

Frame Assembly

Weider 9940 Home Gym Equipment-2

  1. Before beginning, make sure that you have read and understood the information on page 4. Locate and open the parts bag labeled “FRAME ASSEMBLY.” See drawing 1a. Press a 2” Square Inner Cap (28) into each end of the Butterfly Base (4). Press two 2” Square Inner Caps (28) into the Weight Base (5). Insert four 5/16” x 2 1/2” Carriage Bolts (92) up through the indicated holes in the Butterfly Base (4). Insert a 3/8” x 3 1/2” Carriage Bolt (95) up through the hole at the end of the Butterfly Base. Note: If the Bolts fall out, secure them by putting a small piece of tape over the head of each Bolt. Place the Butterfly Base flat on the floor. See drawing 1b. Attach the Weight Base (5) to the Butterfly Base (4) with two 5/16” x 2 3/4” Bolts (89), a Support Plate (93) with 3 1/2” center holes, and two 5/16” Nylon Locknuts (64). Do not tighten the Nylon Locknuts yet. Note: There are three kinds of support plates. The main difference between them is the distance between the holes. When you need a support plate, find the type with holes that will fit over the
    bolts you are using. 1a
  2. See drawing 2a. Press a 2” Square Inner Cap (28) into the end of the Press Base (6). Attach a 3 1/2” Pulley (24) to each of the brackets on the Weight Base (5) with a 3/8” x 1 3/4” Bolt (57) and a 3/8” Nylon Jamnut (63). Insert four 5/16” x 2 1/2” Carriage Bolts (92) up through the indicated holes in the Press Base (6). Insert a 3/8” x 2 1/2” Carriage Bolt (101) and a 3/8 x 4” Carriage Bolt (102) up through the indicated holes at the end of the Press Base (6). See drawing 2b. Attach the Press Base (6) to the Weight Base (5) with two 5/16” x 2 3/4” Bolts (89), a Support Plate with 3 1/2” center holes (93), and two 5/16” Nylon Locknuts (64). Do not tighten the Nylon Locknuts yet.
  3. Place the bracket on the lower end of the Butterfly Upright (1) over the indicated 5/16” x 2 1/2” Carriage Bolts (92) in the Butterfly Base (4). Hand-tighten two 5/16” Nylon Locknuts (64) onto the Bolts. Do not tighten the Nylon Locknuts yet.Weider 9940 Home Gym Equipment-3
  4. Press three 2” Square Inner Caps (28) into the Butterfly Top Frame (33). Press two 1” Round Inner Caps (86) into the top of the Butterfly Top Frame (33). Attach the Butterfly Top Frame (33) to the indicated bracket at the top of the Butterfly Upright (1) with two 5/16” x 2 3/4” Bolts (89), a Support Plate with 3 1/2” center holes (93), and two 5/16” Nylon Locknuts (64).Weider 9940 Home Gym Equipment-4
  5. Attach the Butterfly Seat Frame (14) to the Front Leg (20) with two 5/16” x 2 3/4” Bolts (89), two 5/16” Washers (36), and two 5/16” Nylon Locknuts (64). Do not tighten the Nylon Locknuts yet. Slide the bracket on the Front Leg (20) onto the two 5/16” x 2 1/2” Carriage Bolts (92) in the Butterfly Base (4). Hand-tighten two 5/16” Nylon Locknuts (64) onto the Bolts. Do not tighten the Nylon Locknuts yet.
    Attach the Butterfly Seat Frame (14) to the Butterfly Upright (1) with two 5/16” x 2 3/4” Bolts (89), two 5/16” Washers (36), and two 5/16” Nylon Locknuts (64). Do not tighten the Nylon Locknuts yet.Weider 9940 Home Gym Equipment-5
  6. Press a 2” Square Inner Cap (28) halfway into the top of the Front Leg (20). Press a 2” Square Inner Cap (28) into each end of the Small Leg Lever (41). Attach the Bumper (40) to the indicated hole in the Front Leg (20) with a 1” Tap Screw (80).
    Lubricate the 3/8” x 3 1/4” Bolt (62). Attach the Small Leg Lever (41) to the bracket on the Front Leg (20) with the Bolt and a 3/8” Nylon Jamnut (63). Do not overtighten the Nylon Jamnut; it must be easy to pivot the Leg Lever.Weider 9940 Home Gym Equipment-6
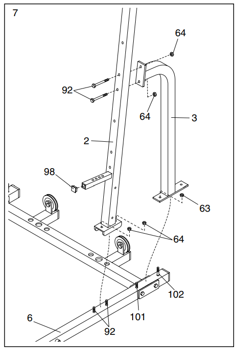
  7. Press a 1” Square Inner Cap (98) into the small tube on the Press Upright (2). Place the bracket on the lower end of the Press Upright (2) over the indicated 5/16” x 2 1/2” Carriage Bolts (92) in the Press Base (6). Hand-tighten two 5/16” Nylon Locknuts (64) onto the Bolts. Do not tighten the Nylon Locknuts yet. Place the bracket on the lower end of the Support Frame (3) over the indicated 3/8” x 2 1/2” Carriage Bolt (101) and the 3/8” x 4” Carriage Bolt (102) in the Press Base (6). Hand-tighten a 3/8” Nylon Jamnut (63) onto the 3/8” x 2 1/2” Carriage Bolt (101). Do not tighten the Nylon Jamnut yetWeider 9940 Home Gym Equipment-7
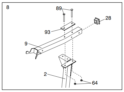
  8. Press a 2” Square Inner Cap (28) into the Press Top Frame (9). Attach the Press Top Frame (9) to the indicated bracket at the top of the Press Upright (2) with two
    5/16” x 2 3/4” Bolts (89), a Support Plate with 3 1/2” center holes (93), and two 5/16” Nylon Locknuts (64).Weider 9940 Home Gym Equipment-8
  9. Press a 2” Square Inner Cap (28) into the Press Seat Frame (7). Slide the bracket on the Press Seat Frame (7) onto the indicated 5/16” x 2 1/2” Carriage Bolts (92) in the Press Base (6). Hand-tighten two 5/16” Nylon Locknuts (64) onto the Bolts. Do not tighten the Nylon Locknuts yet. Attach the Press Seat Frame (7) to the Press Upright (2) with two 5/16” x 2 3/4” Bolts (89), two 5/16” Washers (36), and two 5/16” Nylon Locknuts (64). Do not tighten the Nylon Locknuts yet. Weider 9940 Home Gym Equipment-9
  10. Lubricate the 3/8” x 3” Bolt (88). Attach the Leg Press Lever (83) to the Press Base (6) with the Bolt and a 3/8” Nylon Locknut (50). Do not overtighten the Nylon Locknut; the Leg Press Lever must pivot easily.Weider 9940 Home Gym Equipment-10
  11. Place two Weight Bumpers (51) over the indicated holes in the Weight Base (5). Slide a Weight Guide (15) into each of the holes. Attach the indicated Weight Guide (15) to the Weight Base (5) with a 3/8” x 2 3/4” Bolt (46), two 3/8” Flat Washers (48), and a 3/8” Nylon Locknut (50). Slide six Weights (21) onto the Weight Guides (15). Make sure the Weights are turned so the pin grooves point towards the floor. Press a Weight Tube Bumper (18) into the lower end of the Short Weight Tube (17). Slide the Weight Tube into the center holes in the Weights (21). Slide a Top Weight (16) onto the Weight Guides (15).Weider 9940 Home Gym Equipment-11
  12. Place two Weight Bumpers (51) over the indicated holes in the Weight Base (5). Slide a Weight Guide (15) into each of the holes. Attach the indicated Weight Guide (15) to the Weight Base (5) with a 3/8” x 2 3/4” Bolt (46), two 3/8” Flat Washers (48), and a 3/8” Nylon Locknut (50). Slide ten Weights (21) onto the Weight Guides (15). Make sure the Weights are turned so the pin grooves point towards the floor. Press a Weight Tube Bumper (18) into the lower end of the Long Weight Tube (70). Slide the Weight Tube into the center holes in the Weights (21).Weider 9940 Home Gym Equipment-12
  13. Place the Weight Top Frame (66) on the indicated brackets on the Uprights (1 and 2). Note: The four Weight Guides (15) must be behind the Weight Top Frame, as shown in step 14. Attach the Weight Top Frame (66) to the Butterfly Top Frame (33) with two 3/8” x 2 3/4” Bolts (46), a Support Plate with 4” center holes (94), and two 3/8” Nylon Locknuts (50). Do not tighten the Nylon Locknuts yet. Attach the Weight Top Frame (66) to the bracket on the Butterfly Upright (1) with two 3/8” x 2 3/4” Bolts (46), a Support Plate with 2 1/2” center holes (34), and two 3/8” Nylon Locknuts (50). Do not tighten the Nylon Locknuts yet.Weider 9940 Home Gym Equipment-13
  14. Attach the Weight Top Frame (66) to the Press Top Frame (9) with one 3/8” x 2 3/4” Bolt (46), a Support Plate with 4” center holes (94), and a 3/8” Nylon Locknut (50). Slide a 3 1/2” Pulley (24) with a Cable Trap (25) onto a 3/8” x 4” Bolt (78). Insert the Bolt through the Support Plate (94) and hand-tighten a 3/8” Nylon Locknut (50) onto it. Attach the Weight Top Frame (66) to the bracket on the Press Upright (2) with two 3/8” x 2 3/4” Bolts (46), a Support Plate with 2 1/2” center holes (34), and two 3/8” Nylon Locknuts (50). Do not tighten the Nylon Locknuts yet.Weider 9940 Home Gym Equipment-14
  15. Attach each of the four Weight Guides (15) to the Weight Top Frame (66) with a 3/8” x 3 3/4” Bolt (59), a 3/8” Flat Washer (48), and a 3/8” Nylon Locknut (50).Weider 9940 Home Gym Equipment-15
  16. Arm Assembly: Locate and open the parts bag labeled “ARM ASSEMBLY.”Press a Plastic Bushing (100) onto each welded tube on the Press Frame (8). Lubricate the 3/8” x 8” Bolt (52). Attach the Press Frame (8) to the welded tubes on the Press Base (6) with the Bolt and a 3/8” Nylon Locknut (50). Do not overtighten the Nylon Locknut; it must be easy to pivot the Press Frame.Weider 9940 Home Gym Equipment-16
  17. Press a 1 3/4” Square Inner Cap (35) into the top of a Press Arm (77). Press a 1” Round Inner Cap (76) into the indicated hole in the Press Arm. Attach the Press Arm (77) to the bracket on the Press Frame (8) with two 5/16” x 2 1/2” Bolts (87) and two 5/16” Nylon Locknuts (64).Weider 9940 Home Gym Equipment-17
  18. Press a 1 3/4” Square Inner Cap (35) into each end of the Right Butterfly Arm (11). Wet the lower end of the Arm with soapy water. Slide a Butterfly Foam Pad (29) onto the lower end of the Arm. Lubricate the indicated axle on the Butterfly Top Frame (33). Orient the Right Butterfly Arm (11) as shown and slide it onto the axle. Secure the Butterfly Arm with two Retainer Rings (31) and a 1” Round Outer Cap (38). Note: Place the Retainer Rings on top of the inverted Outer Cap and gently tap the Cap onto the axle with a hammer. Make sure the teeth on the Retainer Rings bend towards the Cap as shown in the inset drawing.Weider 9940 Home Gym Equipment-18
  19. Cable Assembly: Locate and open the parts bag labeled “CABLE ASSEMBLY.” For Cable identification and routing during steps 19 to 49, refer to the Cable Diagrams and Cable ID Chart on pages 23 and 24. Identify the Butterfly Cable (73). It is approximately 52” long and it has a closed loop on each end. Attach the Butterfly Cable to the bracket on the Left Butterfly Arm (10) with a 3/8” x 1” Bolt (84) and two 3/8” Nylon jam nuts (63). Note: The loop on the Cable and the two nylon jam nuts must be mounted underneath the welded bracket.Weider 9940 Home Gym Equipment-19
  20. Locate and open the parts bag labeled “PULLEY BAG 2.” Remove one “V”-Pulley (27) from the bag. Leave the remaining pulleys in the bag for identification of the Pro Pulley. Wrap the Butterfly Cable (73) around a “V”-Pulley (27) in the direction shown. Attach the “V”-Pulley and a Large Cable Trap (32) to the bracket on the back of the Butterfly Upright (1) with a 3/8” x 2 1/2” Bolt (53) and a 3/8” Nylon Locknut (50). Make sure the Large Cable Trap is oriented as shown.Weider 9940 Home Gym Equipment-20
  21. Locate and open the parts bag labeled “SEAT ASSEMBLY.” Attach the Backrest (12) to the indicated holes in the Butterfly Upright (1) with two 1/4” x 2 1/2” Bolts (79) and two 1/4” Flat Washers (71).Weider 9940 Home Gym Equipment-21
  22. Insert a 1/4” x 2 1/2” Carriage Bolt (45) through the center hole in a Seat Plate (65). Attach the Seat Plate to the Press Backrest (99) with two 1/4” x 3/4” Bolts
    (49). Insert the 1/4” x 2 1/2” Carriage Bolt (45) into the indicated hole in the Butterfly Upright (2) and secure it with a 1/4” Flat Washer (71) and a 1/4” Nylon
    Locknut (68). Secure the other end of the Press Backrest (99) with a 1/4” x 2 1/2” Bolt (79) and a 1/4” Flat Washer (71).Weider 9940 Home Gym Equipment-22

Troubleshooting and Maintenance

Inspect and tighten all parts each time you use the home gym. Replace any worn parts immediately. The
home gym can be cleaned using a damp cloth and mild non-abrasive detergent. Do not use solvents.
TIGHTENING THE CABLES
If a cable slips off the pulleys often, the cable may have become twisted. Remove the cable and reinstall it. If the cables need to be replaced, see ORDERING REPLACEMENT PARTS on the back cover of this manual. The type of cable used on the home gym can stretch slightly when it is first used. If there is slack in the cables before resistance is felt, the cables should be tightened. Slack can be removed from the cables in several different ways:Weider 9940 Home Gym Equipment-23

  • The Adjustable Pulley Plates (23) have several sets of adjustment holes. By moving one or both pulleys (24) to a different set of holes, you will tighten the cables.
  • To move a Pulley (24), remove the 3/8” Nylon Locknut (50) and the 3/8” x 2” Bolt (54). Remove the Cable Trap (25) and Pulley from the Adjustable Pulley Plates (23). Re-attach the Pulley and Cable Trap to the appropriate adjustment hole in the Pulley Plates. Note: Begin by moving one Pulley to the second adjustment hole. If
    the cables are still too loose, move the same Pulley to the third hole. If additional adjustment is needed, move the other Pulley until the cables are tight.Weider 9940 Home Gym Equipment-24
  • Slack can be removed from the Press Cable (72) by moving one or both of the “V” Pulleys (27) on the Press Cable. One “V”-Pulley (27) is attached to the small tube on the Press Upright (2). There are three free holes in the small tube, and you can move the “V” Pulley to any one of them to tighten the cables. Start by moving the “V” Pulley one hole, and then one more, as needed. The second “V”-Pulley (27) is attached to the Press Seat Frame (7). There are five adjustment holes in the Seat
    Frame. By moving the “V”- ulley closer to the Press Upright (2), you will tighten the cables. By moving it further away from the Upright, you will loosen the cables.Weider 9940 Home Gym Equipment-25
  • The threaded ends on the Press Cable (72) and the Ab Cable (74) that are attached to the weight stacks can also be used to tighten the cables.
  • To tighten the Ab Cable (74), remove the “U”-Bracket (97) from the Short Weight Tube (17) by removing the 5/16” x 1 3/4” Bolt (96) and the 5/16” Nylon Locknut (64). Tighten the 1/4” Nylon Locknut (68) at the end of the Ab Cable (74) as far as it will go. Then re-attach the “U”- Bracket (97).
  • The Press Cable (72) can be tightened the same way. When you are tightening the cables, take note that they are linked into two distinct groups. The Butterfly Cable
    (73), the Ab Cable (74), and the Low Pulley Cable (75) are all connected to the small weight stack. All three cables will be tightened by tightening the Ab Cable (74) as described above or by using the Adjustable Pulley Plates (23) as described on the previous page. The Press Cable (72) is the only cable attached to the large weight stack. It must be tightened by using the method described above or by moving the “V” Pulleys as described on the previous page.

Weight Resistance Chart

The chart below shows the approximate weight resistance at each exercise station. “Top” refers to the 6 lb. top weight; the other numbers refer to the 12.5 lb. weight plates. Note: The actual resistance at each station may vary due to differences in individual weight plates as well as friction between the cables, pulleys, and weight guides.

Weider 9940 Home Gym Equipment-26

Part Identification Chart–Model No. WESY97310

Weider 9940 Home Gym Equipment-27

Weider 9940 Home Gym Equipment-28

Weider 9940 Home Gym Equipment-29

FOR MORE MANUALS BY WEIDER, VISIT MANUALSLIBRARYY

Weider 9940 Home Gym Equipment-FAQs

How tall is the Weider Pro 9940?

The Weider Pro 9940 stands 77 inches tall.

What basic equipment should I have in a home gym?

Start with essentials like dumbbells or resistance bands. For variety and long-term strength training, consider adding a squat rack or cable machine. Always test equipment for comfort and build quality when possible.

What are the dimensions of the Weider 8630?

The Weider 8630 is 78 inches tall, 70 inches long, and the lat bar spans 64 inches in width.

How do I tighten adjustable dumbbells?

Check for any loose screws or bolts and use a screwdriver or wrench to secure them. Always ensure the plates are tightly fixed before use.

What are fixed dumbbells?

Fixed dumbbells come with a set weight that cannot be adjusted. They are available in various shapes like round, square, or hex and are ideal for quick, consistent workouts.

What materials are used in dumbbells?

Dumbbells are typically made from cast iron and may be coated with rubber or neoprene. Budget versions might use a plastic shell filled with concrete.

What are some downsides of using dumbbells?

Improper breathing during use can raise blood pressure and increase the risk of hernias. Also, there’s a higher chance of injury if used with poor form or excessive weight.

What size TV is best for a home gym?

A 55”–65” TV is ideal for most home gyms, offering a good balance of visibility and immersion during workouts.

Leave a comment

Your email address will not be published. Required fields are marked *