
Weider PRO 800 Weight Bench

Before you Begin
- Thank you for selecting the WELDER PRO800 Weight Bench. The versatile WELDER” PRO 800 Weight Bench is designed to be used with your own weight set (not included) to develop every major muscle group of the body. Whether your goal is a shapely figure, dramatic muscle size, and strength, or a healthier
cardiovascular system, the WELDERe PRO 800 will help you to achieve the specific results you want. - Before reading further, please look at the drawing below and familiarize yourself with the parts that are labeled

Assembly
Before beginning assembly, carefully read the following information and Instructions:
- Place all parts of the weight bench in a clear area and remove the packing materials; do not dispose of the packing materials until assembly is completed.
- Read each assembly step before you begin.
- For help identifying the small parts used in assembly, use the PART IDENTIFICATION CHART on the previous page.
- Note: Some small parts may have been pre-attached for shipping purposes. If a part is not in the parts bag, check to see if it has been pre-attached.
- “13ghten all parts as you assemble them unless instructed to do otherwise.
- As you assemble the weight bench, make sure that all parts are oriented as shown in the drawings.
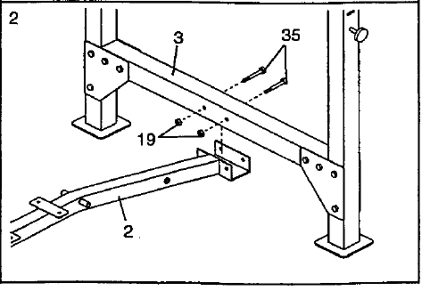
- Before assembling this weight bench, make sure that you have read and understand the information in the box above. The weight bench is designed to be used with a mid-width weight set (not Included). To use an Olympic weight set, an optional Olympic expansion kit (model no. 831.150780) is available for purchase. If you have purchased the Olympic expansion kit, use the Olympic Crossbar in place of the standard Crossbar [3] in this step. Attach the Crossbar (3) to each Upright Base (7) with four M10 x 81mm Bolts (35), two Support Plates (20), and four M10 Nylon Locknuts (19). Note the position of the warming decal and
make sure that the Upright Bases are oriented exactly as shown. Slide the Uprights (1) into the Upright Bases (7) and secure them at the desired height with the
M10 x 67mm Adjustment Knobs (30).
- Attach the Frame (2) to the Crossbar (3) with two M10 x 81ram Bolts (35) and two M10 Nylon Locknuts (19).

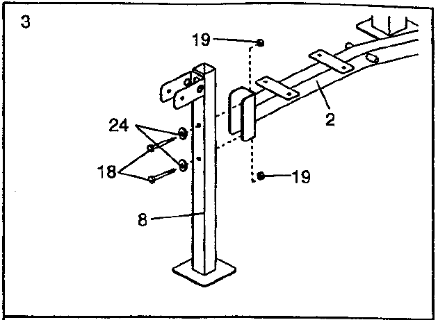
- Attach the Front Leg (8) to the Frame (2) with two M10 x 65mm Bolts (18), two M10 Washers (24), and two M10 Nylon Locknuts (19).

- Tap three 45mm Square Inner Caps (21) into the ends of the Leg Lever (4) as shown. Tap a 1″ Round Inner Cap (23) into the indicated end of the Weight Tube (41). Insert the Weight Tube (41) into the indicated hole in the Leg Lever (4). Press a 1″Angle Cap (29) onto the indicated end of the Weight Tube.
Note: If you purchased the optional Olympic expansion kit, attach the Olympic sleeve to the Weight Tube as shown in the accessory manual.
- Lubricate an M10 x 72ram Bolt (40). Attach the Leg Lever (4) to the Front Leg (8) with the Bolt and an M10 Nylon Locknut (19). Attach the Spacer (37) to the Leg Lever (4) with the M8 x 58mm Bolt (39), two M8 Washers (38), and an M8 Nylon Locknut (13).

- Note: The Spacer will fit tightly Inside the Leg Lever.
- Press four 1″ Square Inner Caps (12)into the indicated ends of the Backrest Tubes (5, 42): Press two 1″ x 2″ Inner Caps (36) into the ends of the adjustment tubes. With the wide end of the Backrest (6) positioned as shown, attach the Backrest Tubes (5, 42) to the Backrest with four M6 x 38mm Screws (16) and four M6 Washers (25).

- Note: The Backrest Tubes and Backrest must be oriented exactly as shown.
- Lubricate the M10 x t78mm Bolt (17). Attach the Backrest (6) to the Frame (2) with the Bolt, two M10 Washers (24), and an M10 Nylon Locknut (19). Secure the Backrest (6) to the Frame (2) with the Adjustment Pin (32) through one of the three sets of holes in the adjustment tubes. Secure the Adjustment Pin with the Pin Ctip (14). Make sure the Adjustment Pin (32) is completely inserted through both holes in the adjustment tubes,

- With the wide end of the Seat (11) positioned as shown, attach the Seat to the brackets on the Frame (2) with four M6 x 16mm Screws (15).

- Attach the Curl Pad (27) to the Curl Post (26) with two M6 x 16mm Screws (15).
Using the Weight Bench
- The weight bench is designed to be used with your own weight set (not included). The steps below explain how the weight bench can be adjusted. See EXERCISE GUIDELINES on page 11 for important exercise information and refer to the accompanying exercise poster to see the correct form for several exercises. Refer also to the exercise information accompanying your weight set (not included) for additional exercises. Inspect and tighten all parts each time you use the weight bench. Replace any worn parts immediately. The weight bench can be cleaned with a damp cloth and a mild, non-abrasive detergent. Do not use solvents.
ATTACHING WEIGHTS TO THE LEG LEVER
- To use the Leg Lever (4), slide the desired weights (not included) onto the Weight Tube (41).
- Note: If you purchased the optional Olympic expansion kit, attach the Olympic sleeve to the weight tube as shown in the accessory manual.

REMOVING THE PAD TUBE AND PADS
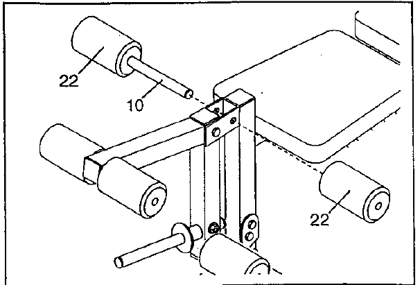
- To do leg curl exercises, the indicated Pad Tube (10) and Foam Pads (22) must be removed from the weight bench. To do this, slide one of the Foam Pads
off the Pad Tube, then pull the Pad Tube out of the holes.
A’FTACHNG THE CURL POST
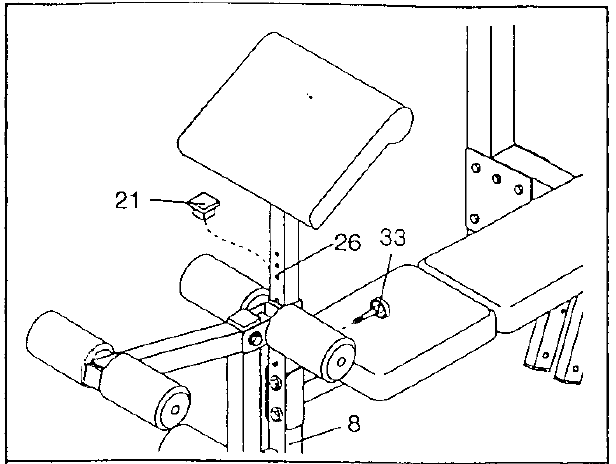
- Note: When the Curl Post (26) is not in use, the 45mm Square Inner Cap (21) should be inserted into the Front Leg (8). For some exercises, the Curl Post (26) must be attached to the weight bench.
- Slide the Curl Post (26) into the Front Leg (8). Align one of the adjustment holes in the Curl Post with the adjustment hole in the Front Leg. Tighten the M10 x
48mm Adjustment Knob (33) into the adjustment hole in the Front Leg. Make sure that you fully tighten the Adjustment Knob.
ADJUSTING THE UPRIGHTS
- The Uprights (1) can be adjusted to five heights to accommodate different exercises. To adjust the height, remove the M10 x 67mm Adjustment Knobs
(30) from both Uprights and Upright Bases (7). Slide the Uprights to the desired position and re-insert the Adjustment Knobs.
ADJUSTING THE BACKREST
- The Backrest (6) can be used tn either a decline position, a level position or two incline positions. To adjust the Backrest to the decline position, remove the Adjustment Pin (32) and lower the Backrest until it rests directly on the Crossbar (3). Re-insert the Adjustment Pin.

- To adjust the Backrest (6) to the level position, insert the Adjustment Pin (32) through the top set of holes. Secure the Adjustment Pin with the Pin Clip (14).
To adjust the Backrest (6) to an incline position, insert the Adjustment Pin (32) as shown through one of the lower two sets of holes in the backrest adjustment
tubes. Slide the Adjustment Pin completely through both holes in the adjustment tubes.
Exercise Guidelines
THE FOUR BASIC TYPES OF WORKOUTS
Muscle Building
- In order to increase the size and strength of your muscles, you must push your muscles to a high percentage of their capacity. You must also progressively increase the intensity of your exercise so that your muscles will continually adapt and grow. Each individual exercise can be tailored to the proper intensity
level by changing the amount of weight used, or the number of repetitions or sets performed. (A =repetition” is one complete cycle of an exercise, such as
one sit-up. A “set” is a series of repetitions performed consecutively.)
Toning
- To tone your muscles, you must push your muscles to a moderate percentage of their capacity. Select a moderate amount of we{ght and increase the number of repetitions in each set. Complete as many sets of 15 to 20 repetitions as possible without discomfort. Rest for I minute after each set. Work your muscles by completing more sets rather than by using high amounts of weight.
Weight Loss
- To lose weight, use a low amount of weight and increase the number of repetitions in each set. Exercise for 20 to 30 minutes, resting for a maximum of 30 seconds between sets.
Cross Training
- In the pursuit of a complete and well-balanced fitness program, many have found that cross-training is the answer. We recommend that on Monday,’ Wednesday, and Friday, you plan weight training workouts. On Tuesday and Thursday, plan 20 to 30 minutes of aerobic exercise, such as cycling, running or swimming. Rest from both weight training and aerobic exercise for at least one full day each week to give your body time to regenerate. By combining weight training with aerobic exercise, you can reshape and strengthen your body, plus develop a stronger heart and lungs.
PERSONALIZING YOUR EXERCISE PROGRAM
- We have not specified an exact length of time for each workout or a specific number of repetitions or sets for each exercise. It is very important to avoid overdoing it during the first few months of your exercise program and to progress at your own pace. If you experience pain or dizziness at any time while exercising, stop immediately and begin to cool down. Find out what is wrong before continuing. Remember that adequate rest and a proper diet are also important.
WARMING UP
- Begin each workout with 5 to 10 minutes of light stretching and exercise to warm up. Warming up prepares your body for exercise by increasing circulation, raising your body temperature a,nd delivering more oxygen to your muscles.
WORKING OUT
- Each workout should include 6 to 10 different exercises. Select exercises for every major muscle group, with emphasis on the areas that you want to develop the most. To give balance and variety to your workouts, vary the exercises from workout to workout. Schedule your workouts for the time of day when your energy level is the highest. Each workout should be followed by at least one day of rest. Once you find the schedule that is right for you, stick with it.
For more manuals by Weider visit, ManualsLibraryy
Weider PRO 800 Weight Bench-FAQs
What exercises can I do with the Weider PRO 800 Weight Bench?
The Weider PRO 800 allows you to perform various exercises, including bench presses, incline presses, leg curls, leg extensions, and preacher curls, making it a versatile addition to your home gym.
How much weight can the Weider PRO 800 bench support?
The weight capacity varies, but typically, it can hold around 300-600 lbs, including the user and weights. Always check the user manual for specific weight limits.
How do I adjust the Weider PRO 800 bench?
The bench features adjustable backrest positions, allowing you to switch between flat, incline, and decline positions for different exercises. Simply adjust the locking pin to the desired angle.
Does the Weider PRO 800 come with weights?
No, the bench does not include weights or a barbell. You’ll need to purchase them separately based on your training needs.
How do I assemble the Weider PRO 800 weight bench?
Follow the instruction manual step by step, ensuring all bolts and screws are securely tightened. It’s recommended to use the provided tools or a wrench set for proper assembly.
Can I use the Weider PRO 800 for leg workouts?
Yes! The bench includes a leg developer attachment, allowing you to perform leg curls and leg extensions to strengthen your lower body.
Is the Weider PRO 800 bench foldable for storage?
Some models may have a foldable design, but not all. Check your specific model’s manual to see if it can be folded for space-saving storage.
How do I maintain my weight bench?
Regularly check for loose bolts and worn-out padding. Wipe the bench down after each use to prevent sweat buildup and extend its lifespan.
Can beginners use the Weider PRO 800 bench?
Yes! The Weider PRO 800 is suitable for beginners and advanced users. Start with lighter weights and gradually increase as you build strength.
Where can I buy replacement parts for the Weider PRO 800?
You can purchase replacement parts through the manufacturer’s website, fitness equipment retailers, or authorized service centers.














