
Weider Total Body Works 5000 Weight Training System

IMPORTANT PRECAUTIONS
WARNING: To reduce the risk of serious injury, read the following important precau- tions before using the weight training system.
- Read all instructions in this manual before using the weight training system. Use the weight training system only as described in this manual.
- It is the responsibility of the owner to ensure that all users of the weight training system are adequately informed of all precautions.
- The weight training system is intended for home use only. Do not use the weight training system in any commercial, rental, or institutional setting.
- Use the weight training system only on a level surface. Cover the floor beneath the weight training system to protect the floor.
- Make sure all parts are properly tightened each time you use the weight training system. Replace any worn parts immediately.
- The weight training system should not be used by persons weighing over 250 pounds.
- If you feel pain or dizziness at any time while exercising, stop immediately and begin cool- ing down.
- Keep children under 12 years old and pets away from the weight training system at all times.
- Keep hands and feet away from moving parts.
- Always wear athletic shoes for foot protection while exercising.
- Always tie back long hair to prevent it from becoming caught.
- The decals shown below have been placed on the weight training system in the indicated locations. If a decal is missing or illegible, please call our Customer Service Department toll-free at 1-800-999-3756, Monday through Friday, 6 a.m. until 6 p.m. Mountain Time, to order a free replacement decal. Apply the replacement decal in the location shown.

WARNING: Before beginning this or any exercise program, consult your physician. This is especially important for persons over the age of 35 or persons with pre-existing health problems. Read all instructions before using. ICON assumes no responsibility for personal injury or property damage sustained by or through the use of this product.
BEFORE YOU BEGIN
Thank you for selecting the WEIDER® TOTAL BODY WORKS 5000 weight training system. The versatile TOTAL BODY WORKS 5000 is designed to help you develop every major muscle group of the body. Whether your goal is a shapely figure, dramatic mus- cle size and strength, or a healthier cardiovascular system, the TOTAL BODY WORKS 5000 will help you to achieve the specific results you want.
For your benefit, read this manual carefully before using the WEIDER® TOTAL BODY WORKS 5000 weight training system.
If you have additional questions, please call our Customer Service Department toll-free at 1-800-999-3756, Monday through Friday, 6 a.m. until 6 p.m. Mountain Time (excluding holidays). To help us assist you, please note the product model number and serial number before calling. The model number is WEBE14410. The serial number can be found on a decal attached to the weight training system (see the front cover of this manual).
Before reading further, please review the drawing below and familiarize yourself with the parts that are labeled.

ASSEMBLY
- Attach the Stabilizer (6) to the Adjustment Leg (5) with three M8 x 50mm Bolts (40), three M8 Black Zinc Washers (54), and three M8 Black Zinc Nylon Locknuts (46).

- Slide a Foam Pad (16) onto each side of the Handlebar (29).

ADJUSTMENTS
The weight training system is designed to use your body weight as resistance. The steps below explain how the weight training system can be adjusted and folded for storage. Refer to the accompanying exercise guide to see the correct form for each exercise.
Make sure all parts are properly tightened each time you use the weight training system. Replace any worn parts immediately. The weight training system can be cleaned with a damp cloth and mild, non-abrasive detergent; never use solvents.
ATTACHING THE FOOT PLATE OR HANDLEBAR
For some exercises, the Foot Plate (8) will need to be attached to the weight training system. Slide the Foot Plate into the Bottom Frame (2) and secure it with two L-Pins (17).
For some exercises, the Handlebar (29) will need to be attached to the weight training system. Slide the Handlebar into the Top Frame (1) and secure it with two L-Pins (17).

CAUTION: Remove the Handlebar (29) if performing an exercise that does not require it.
ADJUSTING THE RESISTANCE
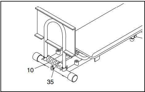
To increase the resistance of the weight training sys- tem, pull a Bungee Cord (35) down and slide it into the Bungee Bracket (10). For more resistance, slide more Bungee Cords into the Bungee Bracket.

ADJUSTING THE INCLINE
The incline of the weight training system can be adjusted to change the resistance level of your workout.
To adjust the incline, lift the Top Frame (1) until the Long Knob (58) on the Adjustment Bracket (48) can be removed from the adjustment hole in the Adjustment Leg (5). Slide the Adjustment Bracket to the desired position and insert the Knob into an adjustment hole in the Adjustment Leg.
Note: Be sure that the Knob on the Adjustment Bracket is fully inserted into an adjustment hole in the Adjustment Leg.

STORING THE WEIGHT TRAINING SYSTEM
To store the weight training system, detach the Handlebar (29) from the Top Frame (1), and the Foot Plate (8) from the Bottom Frame (2), by removing the four L-Pins (17). Next, pull out the Short Knob (44) and slide the Bottom Frame as far into the Top Frame as it will go. Finally, adjust the system to the fully declined position. (See ADJUSTING THE INCLINE, above.)

PART LIST- Model No. WEBE14410
- Top Frame
- Bottom Frame
- Backrest Frame
- Backrest
- Adjustment Leg
- Stabilizer
- Support Leg
- Foot Plate
- M10 x 20mm Bolt
- Bungee Bracket
- Backrest Bracket
- 50mm Outer Cap
- 50mm Inner Cap
- 25mm Round Inner Cap
- Handgrip
- Foam Pad
- L-Pin
- Pulley Housing
- 70mm Pulley
- 90mm Pulley
- Right 38/32mm Bushing
- M10 × 45mm Bolt
- Small Bushing
- Small Wheel
- Big Bushing
- Big Wheel
- Bumper
- 32mm Round Inner Cap
- Handlebar
- 60mm Eyebolt
- 108mm Eyebolt
- Cable
- Cable Clip
- Handle
- Bungee Cord
- M8 Bright Zinc Nylon Locknut
- M10 x 28mm Bolt
- M8 x 90mm Bolt
- M6 Washer M8 x 50mm Bolt
- M10 x 63mm Screw
- M10 x 175mm Bolt
- M10 x 80mm Bolt
- Short Knob
- M10 Nylon Locknut
- M8 Black Zinc Nylon Locknut
- ST4 × 20mm Screw
- Adjustment Bracket
- 56/45mm Bushing
- 38mm Round Inner Cap
- M6 x 38mm Bolt
- M10 Ball Head Nut
- M8 x 85mm Bolt
- M8 Black Zinc Washer
- M8 Bright Zinc Washer
- M10 Washer
- Left 38/32mm Bushing
- Long Knob
- User’s Manual
- Exercise Guide
EXPLODED DRAWING-Model No. WEBE14410


ORDERING REPLACEMENT PARTS
To order replacement parts, simply call our Customer Service Department toll-free at 1-800-999-3756, Monday through Friday, 6 a.m. until 6 p.m. Mountain Time (excluding holidays). To help us assist you, please be prepared to give the following information when calling:
- The MODEL NUMBER of the product (WEBE14410)
- The NAME of the product (WEIDER® TOTAL BODY WORKS 5000 weight training system)
- The SERIAL NUMBER of the product (see the front cover of this manual)
- The KEY NUMBER and DESCRIPTION of the desired parts) (see pages 6 and 7 of this manual)
WEIDER is a registered trademark of ICON Health & Fitness, Inc.
LIMITED WARRANTY
ICON Health & Fitness, Inc. (ICON) warrants this product to be free from defects in workmanship and material, under normal use and service conditions, for ninety (90) days from the date of purchase. This warranty extends only to the original purchaser. ICON’s obligation under this warranty is limited to replacing or repairing, at ICON’s option, the product through one of its authorized service centers.
All repairs for which warranty claims are made must be pre-authorized by ICON. This warranty does not extend to any product or damage to a product caused by or attributable to freight damage, abuse, mis- use, improper or abnormal usage or repairs not provided by an ICON authorized service center, products used for commercial or rental purposes, or products used as store display models. No other warranty bevond that specifically set forth above is authorized by ICON.
ICON is not responsible or liable for indirect, special or consequential damages arising out of or in con- nection with the use or performance of the product or damages concerning any economic loss, loss of property, loss of revenues or profits, loss of enjoyment or use, costs of removal, installation or other consequential damages of whatsoever nature. Some states do not allow the exclusion or limitation of incidental or consequential damages. Accordingly, the above limitation may not apply to you.
The warranty extended hereunder is instead of any other warranties and any implied warranties of merchantability or fitness for a particular purpose are limited in their scope and duration to the terms set forth herein. Some states do not allow limitations on how long an implied warranty lasts. Accordingly, the above limitation may not apply to you.
This warranty gives you specific legal rights. You may also have other rights that vary from state to state.
ICON HEALTH & FITNESS, INC., 1500 S. 1000 W., LOGAN, UT 84321-9813
For more manuals by Weider, visit ManualsLibraryy
Weider Total Body Works 5000 Weight Training System- FAQs
How do I assemble the Weider Total Body Works 5000?
Refer to the included user manual for step-by-step assembly instructions. Ensure all resistance bands and brackets are securely attached before use.
How do I adjust the resistance level?
Pull one of the bungee cords from the base.
Insert it into the bungee bracket to increase tension.
For higher resistance, use multiple cords.
Can I adjust the incline for different exercises?
Yes, the bench can be adjusted to multiple incline positions to target different muscle groups.
What exercises can I do with this system?
The Weider 5000 supports over 100 exercises, including:
Chest presses
Leg curls
Rows
Shoulder presses
Core workouts
How do I perform a chest press?
Adjust the bench to a flat or incline position.
Lie down and grip the resistance bands.
Push upward in a controlled motion, then slowly return.
Can I do squats with this machine?
Yes, the resistance bands can be used for assisted squats by holding them for balance and added tension.
How much weight resistance does it provide?
The system uses adjustable bungee cords that add resistance beyond your body weight. The more cords you engage, the harder the workout.
How do I make workouts more challenging?
Increase the number of resistance bands.
Slow down repetitions for time under tension.
Adjust the bench to a steeper incline.
How do I clean and maintain the machine?
Wipe down with a damp cloth after use.
Check resistance bands for wear and tear regularly.
Store in a dry place to prevent damage.
Is this machine suitable for beginners?
Yes, the adjustable resistance makes it ideal for all fitness levels. Start with fewer bands and gradually increase intensity.


